Варочная панель LEX GVG 321 BL/WH - инструкция пользователя по применению, эксплуатации и установке на русском языке. Мы надеемся, она поможет вам решить возникшие у вас вопросы при эксплуатации техники.
Если остались вопросы, задайте их в комментариях после инструкции.
"Загружаем инструкцию", означает, что нужно подождать пока файл загрузится и можно будет его читать онлайн. Некоторые инструкции очень большие и время их появления зависит от вашей скорости интернета.

18
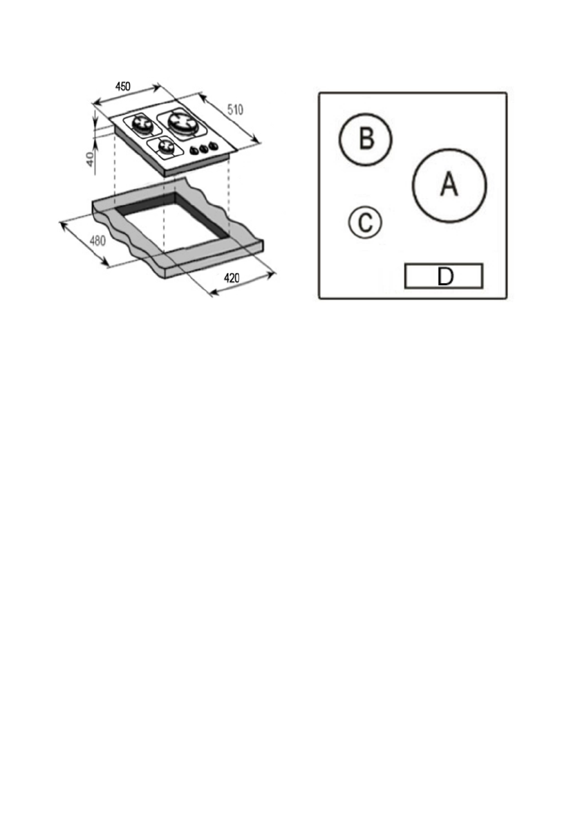
Модель LEX GVG 432 BL
Описание оборудования:
A = одна вок-конфорка на 3,0 кВт
B = две средних конфорки на 1,75 кВт
C = одна вспомогательная конфорка на 1,00 кВт
D = панель управления
•
Расположение панели управления в передней части варочной
поверхности
•
Электроподжиг
•
Эмалированные решетки
Стандартная комплектация:
•
Форсунки для сжиженного нефтяного газа
Содержание
- 2 Содержание
- 3 Уважаемый покупатель!
- 4 Важная информация о безопасности; Прилегающая мебель и все материалы, используемые при
- 8 Существует опасность поражения электротоком!; Если Вам кажется, что произошла утечка газа, следуйте согласно
- 10 Описание оборудования; Модель LEX GVS 644 IX; Описание оборудования:
- 12 Модели LEX GVG 643C IV
- 14 Модели LEX
- 15 Модель LEX GVS 320 IX
- 16 Модель LEX GVG 641 BL/WH
- 18 Модель LEX GVG 432 BL
- 19 Модель LEX GVG 646 BL
- 20 Модель LEX GVE 750C IV
- 21 Данные по электромонтажу; Номинальное напряжение:
- 22 Установка; Установка данного оборудования должна производиться только
- 23 Выбор места; Прилегающая мебель должна выдерживать
- 25 Все модели
- 26 Винт; Подсоединение к системе газоснабжения; Установка данного оборудования должна производиться
- 27 Важная информация; только на; использованием охватывающей втулки размером 15 мм х; Правил безопасности при установке и
- 28 ВАЖНО: После окончания работ, проведите проверку на предмет; Смена рабочего газа (переход на сжиженный нефтяной газ); Все работы должны выполняться
- 29 ТАБЛИЦА ОСНОВНЫХ ИНЖЕКТОРОВ; Регулировка подачи газа для газовой плиты; Все работы должны проводиться квалифицированным специалистом
- 30 Для регулировки высоты пламени у следующих; IV; используйте
- 31 Электрическое подключение; Данное устройство должно устанавливаться квалифицированным; Замена сетевого кабеля
- 32 Указания для монтажника; ● Иметь право на установку газового оборудования; ЗАПРЕЩАЕТСЯ уплотнять силиконовыми герметиками стык; Эксплуатация газовой варочной поверхности; Перед первым использованием ВАЖНО:; Большое пламя: максимальная подача газа
- 33 Таблицы и полезные советы
- 35 Советы по экономии энергии; КОНФОРКИ
- 36 Очистка и уход; как она полностью остыла.; металлические элементы варочной поверхности
- 37 Уход
- 38 Что делать в случае неисправности?; Проблема
- 39 Правила утилизации; законодательного декрета от 14 марта