Варочная панель Kuppersbusch KI 8800.0 GE - инструкция пользователя по применению, эксплуатации и установке на русском языке. Мы надеемся, она поможет вам решить возникшие у вас вопросы при эксплуатации техники.
Если остались вопросы, задайте их в комментариях после инструкции.
"Загружаем инструкцию", означает, что нужно подождать пока файл загрузится и можно будет его читать онлайн. Некоторые инструкции очень большие и время их появления зависит от вашей скорости интернета.

7
ОПИСАНИЕ ПРИБОРА
Технические характеристики
Тип
KI 8800.0 GR
KI 8800.0 SF
KI 8800.0 SR
Суммарная потребляемая мощность
7400 Вт
Энергопотребление варочной панели, ЭП
вар. панели
**
181,9 Вт*ч/кг
Варочные зоны
250 x 182 мм
Мин. диаметр посуды
Ø 100 мм
Номинальная мощность*
2100 Вт
Мощность в режиме усиленного нагрева*
2600/3700 Вт
Категория стандартизированной посуды**
B
Энергопотребление, ЭП
посуды
**
188,1 Вт*ч/кг
Категория стандартизированной посуды**
C
Энергопотребление, ЭП
посуды
**
182,2 Вт*ч/кг
Категория стандартизированной посуды**
D (2x)
Энергопотребление, ЭПпосуды**
172,5 Вт*ч/кг
* Мощность может изменяться в зависимости от размеров и материала посуды.
** рассчитано согласно методам измерения рабочих характеристик (EN 60350-2).
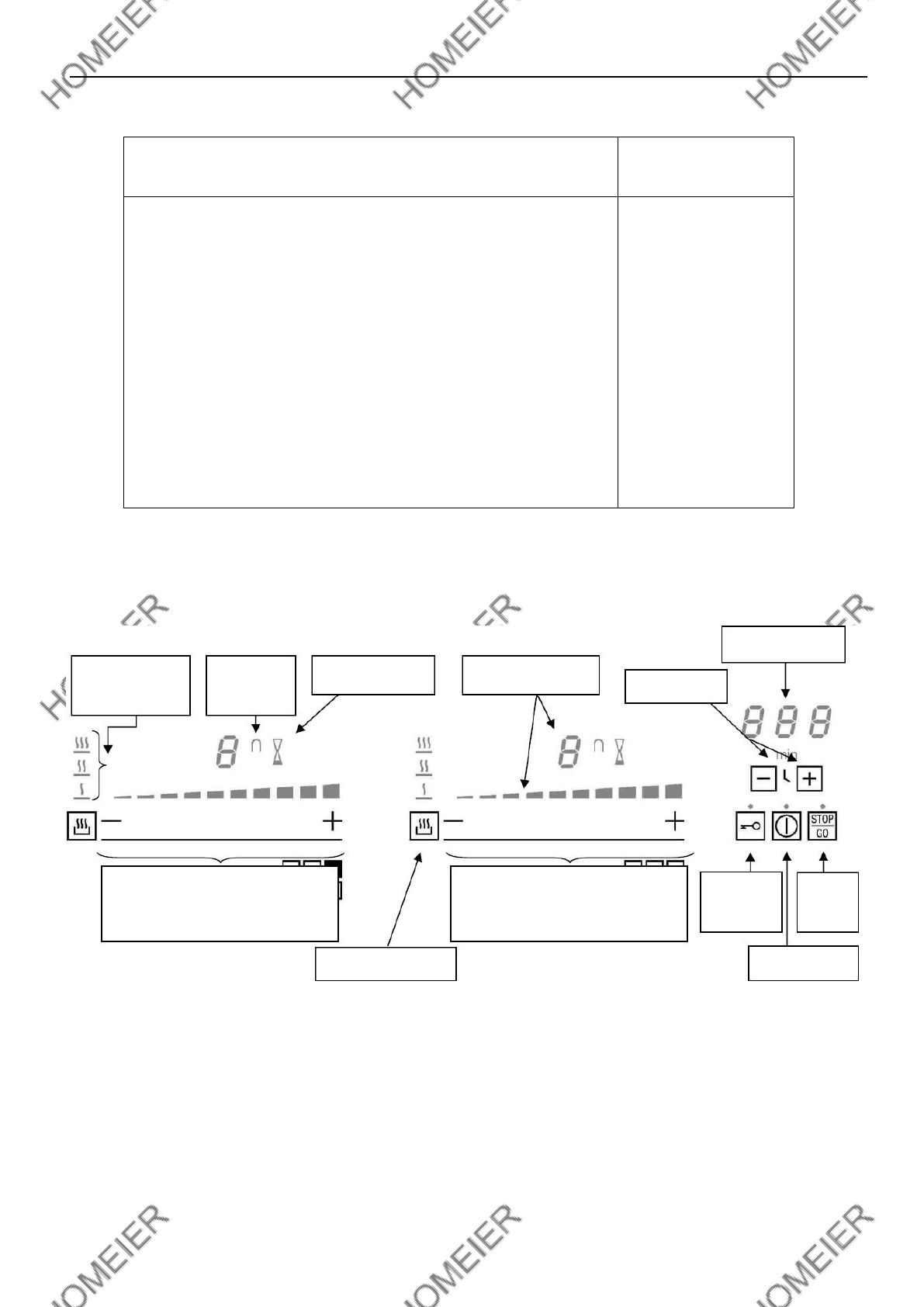
Панель управления
Дисплей функции
поддержания
тепла
Дисплей
функции
объединения
Дисплей
таймера
Дисплей уровня
мощности
Кнопки
таймера
Дисплей
таймера
Слайдер для установки уровня
мощности и зона таймера
(задняя варочная зона)
Слайдер для установки уровня
мощности и зона таймера
(передняя варочная зона)
Кнопка функции
поддержания тепла
Кнопка
блокировки
Кнопка
STOP &
GO
Кнопка
ВКЛ/ОТКЛ.
Характеристики
Остались вопросы?Не нашли свой ответ в руководстве или возникли другие проблемы? Задайте свой вопрос в форме ниже с подробным описанием вашей ситуации, чтобы другие люди и специалисты смогли дать на него ответ. Если вы знаете как решить проблему другого человека, пожалуйста, подскажите ему :)