Варочная панель Kaiser KCT 67 FIW La Perle - инструкция пользователя по применению, эксплуатации и установке на русском языке. Мы надеемся, она поможет вам решить возникшие у вас вопросы при эксплуатации техники.
Если остались вопросы, задайте их в комментариях после инструкции.
"Загружаем инструкцию", означает, что нужно подождать пока файл загрузится и можно будет его читать онлайн. Некоторые инструкции очень большие и время их появления зависит от вашей скорости интернета.

EN
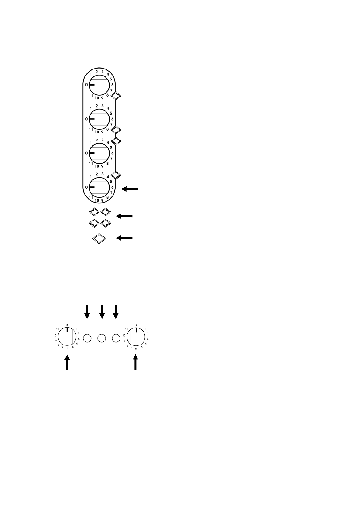
COOKING ZONES CONTROL
MODELS KC 20..., KC 39..., KC 69...
Heating elements manual control.
Rotate the knob
1
concerned to the position
correspondant to the needs of cooking taking into
conside-ration that to a higher number a higher heat
supply corresponds (see section “Heating elements”).
When pilot lights are lit, they indicate:
2
- One or more heating elements are switched on,
3
- The top temperature at the indicated spot is higher
than 60°C.
Some types of pilot lights will maintain some
slight luminescence even after disconnection.
That is quite normal.
1
3
2
3
2
3
1
1
56
Характеристики
Остались вопросы?Не нашли свой ответ в руководстве или возникли другие проблемы? Задайте свой вопрос в форме ниже с подробным описанием вашей ситуации, чтобы другие люди и специалисты смогли дать на него ответ. Если вы знаете как решить проблему другого человека, пожалуйста, подскажите ему :)