Варочная панель Kaiser KCG 6976 VGBE Turbo - инструкция пользователя по применению, эксплуатации и установке на русском языке. Мы надеемся, она поможет вам решить возникшие у вас вопросы при эксплуатации техники.
Если остались вопросы, задайте их в комментариях после инструкции.
"Загружаем инструкцию", означает, что нужно подождать пока файл загрузится и можно будет его читать онлайн. Некоторые инструкции очень большие и время их появления зависит от вашей скорости интернета.

18
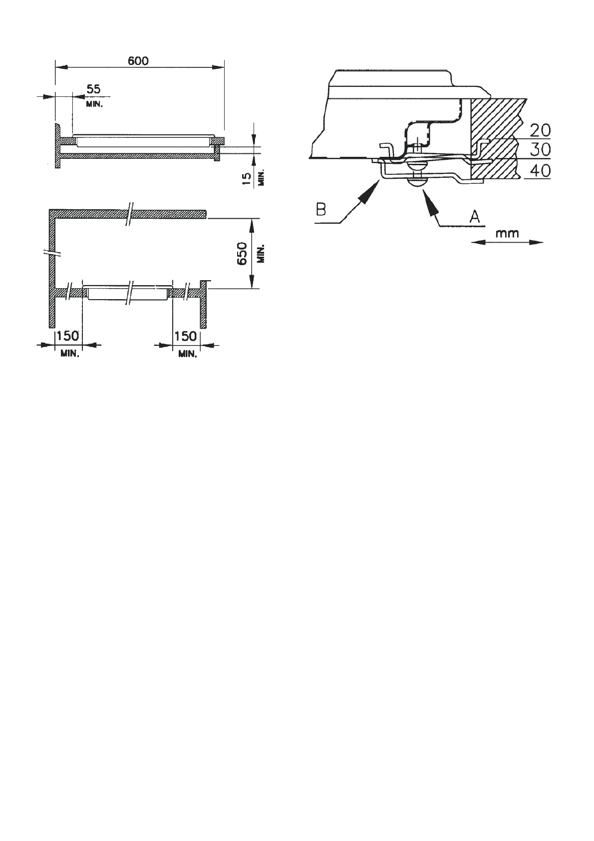
WARNING: CRYSTAL HOBS
DO NOT TIGHTEN SCREW
'A'
EXCESSIVELY, ONE TURN MAX WILL BE SUFFICIENT, AFTER
CORRECTLY FITTING SHAFT
'B'
INTO PLACE, AS SHOWN IN THE PICTURE. ENSURE THAT THE
SUPPORTING SURFACE IS PERFECTLY EVEN. FIT THE APPROPRIATE EXPANDED SEAL.
CRYSTAL HOBS MUST NOT BE SUBJECTED TO STRAINS CAUSED BY UNEVEN SUPPORTING
SURFACES.
WICHTIG: CRYSTAL KOCHSTELLEN
DIE SCHRAUBE
'A'
SOLL NICHT ZU FEST ANGEZOGEN WERDEN, MAX. NOCH UM EINE
UMDREHUNG ZIEHEN, NACHDEM DIE HALTERUNG
'B'
IHRE RICHTIGE STELLUNG (S. ABBILDUNG)
ERREICHT HAT. SICHERSTELLEN, DASS DIE AUFLAGEFLÄCHE VOLLKOMMEN EBENFLÄCHIG IST.
DEN DAZU VORGESEHENEN DICHTRING AUS SCHAUMKUNSTSTOFF VERWENDEN. DIE
CRYSTAL-KOCHSTELLEN DÜRFEN MIT SPANNUNGEN INFOLGE VON UNREGELMÄSSIGKEITEN IN
DER AUFLAGEFLÄCHE NICHT BELASTET WERDEN.
ȼȺɀɇɈ
:
ɋɌȿɄɅəɇɇɕȿ
ɇȺȽɊȿȼȺɌȿɅɖɇɕȿ
ɉɈȼȿɊɏɇɈɋɌɂ
:
ȼɂɇɌ
'A'
ɇȿ
ɋɅȿȾɍȿɌ
ɋɂɅɖɇɈ
ɁȺɄɊɍɑɂȼȺɌɖ
,
ɆȺɄɋɂɆȺɅɖɇɈ
ȿɓȿ
ɇȺ
ɈȾɂɇ
ɈȻɈɊɈɌ
ɉɈɋɅȿ
ɌɈȽɈ
,
ɄȺɄ
ɄɊȿɉɅȿɇɂȿ
'B'
ɁȺɃɆȿɌ
ɋȼɈȿ
ɉɈɅɈɀȿɇɂȿ
(
ɫɦ
.
ɪɢɫ
.)
ɍȻȿȾɂɌȿɋɖ
,
ɑɌɈ
ɉɈȼȿɊɏɇɈɋɌɖ
ɉɊɂɅȿȽȺɇɂə
ȻȿɁɍɉɊȿɑɇɈ
ɊɈȼɇȺə
.
ɉɊɂɆȿɇəɃɌȿ
ȾɅə
ɗɌɈȽɈ
ɍɉɅɈɌɇɂɌȿɅɖɇɈȿ
ɄɈɅɖɐɈ
ɂɁ
ɗɅȺɋɌɂɑɇɈȽɈ
ɆȺɌȿɊɂȺɅȺ
.
ȼɈ
ɂɁȻȿɀȺɇɂȿ
ɋȿɊɖȿɁɇɕɏ
ɉɈȼɊȿɀȾȿɇɂɃ
ɇȿ
ɉɈȾȼȿɊȽȺɃɌȿ
ɋɌȿɄɅəɇɇɕȿ
ɉɈȼȿɊɏɇɈɋɌɂ
ɇȺȽɊȿȼȺɌȿɅȿɃ
ɑɊȿɁɆȿɊɇɕɆ
ɇȺȽɊɍɁɄȺɆ
.
Характеристики
Остались вопросы?Не нашли свой ответ в руководстве или возникли другие проблемы? Задайте свой вопрос в форме ниже с подробным описанием вашей ситуации, чтобы другие люди и специалисты смогли дать на него ответ. Если вы знаете как решить проблему другого человека, пожалуйста, подскажите ему :)