Варочная панель Jacky`s JH MB66 - инструкция пользователя по применению, эксплуатации и установке на русском языке. Мы надеемся, она поможет вам решить возникшие у вас вопросы при эксплуатации техники.
Если остались вопросы, задайте их в комментариях после инструкции.
"Загружаем инструкцию", означает, что нужно подождать пока файл загрузится и можно будет его читать онлайн. Некоторые инструкции очень большие и время их появления зависит от вашей скорости интернета.

RU - 12
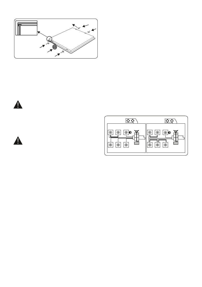
Самоклеящаяся герметизирующая
липкая лента
Монтажный кронштейн
рабочей поверхности
• Прикрутите 4 монтажных кронштейна
рабочей поверхности на боковые
стенки прибора.
• Вставьте прибор в проем.
2.2. пОдключение к электрОсети
и безОпаснОсть
ВНИМАНИЕ!
Электрическое
подключение прибора должен
выполнять только уполномоченный
обслуживающий персонал или
квалифицированный электрик в
соответствии с инструкциями данного
руководства и действующими местными
нормативами.
ВНИМАНИЕ! ЭЛЕКТРОПРИБОР
НЕОБХОДИМО ЗАЗЕМЛИТЬ.
• Перед выполнением подключения
к электропитанию необходимо
проверить соответствие
номинального напряжения прибора
(отштампованного на паспортной
табличке прибора) напряжению
питающей электросети, а вводные
электрические провода должны
допускать подачу номинальной
мощности (также указанной на
паспортной табличке) к прибору.
• Во время установки убедитесь, что
используются изолированные кабели.
Неправильное подключение может
привести к повреждению прибора.
Если вводной кабель поврежден
и необходимо его заменить, это
должен делать квалифицированный
персонал.
• Не используйте переходники,
разветвители розеток и/или
удлинители.
• Шнур питания не должен проходить
вблизи нагревающихся частей
прибора, подвергаться изгибу или
сжатию. В противном случае шнур
может быть поврежден, что приведет
к короткому замыканию.
• Если устройство подключается к
электросети не с помощью вилки, то в
целях соблюдения норм безопасности
необходимо использовать
всеполюсный выключатель-
разъединитель (с расстоянием между
контактами не менее 3 мм).
• После установки варочной панели
должен обеспечиваться удобный
доступ к выключателю с плавким
предохранителем.
• Удостоверьтесь, что все соединения
затянуты надлежащим образом.
• Закрепите питающий кабель в
кабельном зажиме, а затем закройте
крышку.
• Клеммы подключения расположены в
клеммной коробке.
4
4
N
N
PE
PE
L2
L3
L1
L
5
5
3
3
2
2
1
1
Характеристики
Остались вопросы?Не нашли свой ответ в руководстве или возникли другие проблемы? Задайте свой вопрос в форме ниже с подробным описанием вашей ситуации, чтобы другие люди и специалисты смогли дать на него ответ. Если вы знаете как решить проблему другого человека, пожалуйста, подскажите ему :)













