Варочная панель HEBERMANN HBKC 6041.1 B - инструкция пользователя по применению, эксплуатации и установке на русском языке. Мы надеемся, она поможет вам решить возникшие у вас вопросы при эксплуатации техники.
Если остались вопросы, задайте их в комментариях после инструкции.
"Загружаем инструкцию", означает, что нужно подождать пока файл загрузится и можно будет его читать онлайн. Некоторые инструкции очень большие и время их появления зависит от вашей скорости интернета.

23
Перед установкой варочной панели убедитесь, что:
• столешница идеально ровная и установлена по уровню, и никакие части
мебели не препятствуют подводу воздуха;
• столешница сделана из термостойкого материала;
• если варочная панель устанавливается над духовым шкафом, духовой
шкаф должен быть оборудован системой встроенного тангенциального
охлаждения (кулер);
• установка соответствует всем общепринятым требованиям и стандартам
установки встроенной техники;
• подходящий автоматический выключатель, обеспечивающий полное
отключение от сети электропитания, встроен в постоянную электропро-
водку, установлен и размещен в соответствии с местными правилами и
нормами электропроводки. Автоматический выключатель должен быть
утвержденного типа и обеспечивать отключение прибора от сети элек-
тропитания с зазором между контактами, равным 3 мм, во всех полюсах
(или во всех активных проводниках (фаза), если местными правилами
организации электропроводки допускается такое отклонение от требова-
ний);
• автоматический выключатель находится в легкодоступном месте для
пользователя; Вы проконсультировались с местными компетентными
строительными органами и ознакомились с внутренними нормативными
документами при возникновении сомнений касательно установки);
• стены, находящиеся непосредственно рядом с варочной панелью, обли-
цованы легко очищаемым, термостойким покрытием (например, керами-
ческой плиткой).
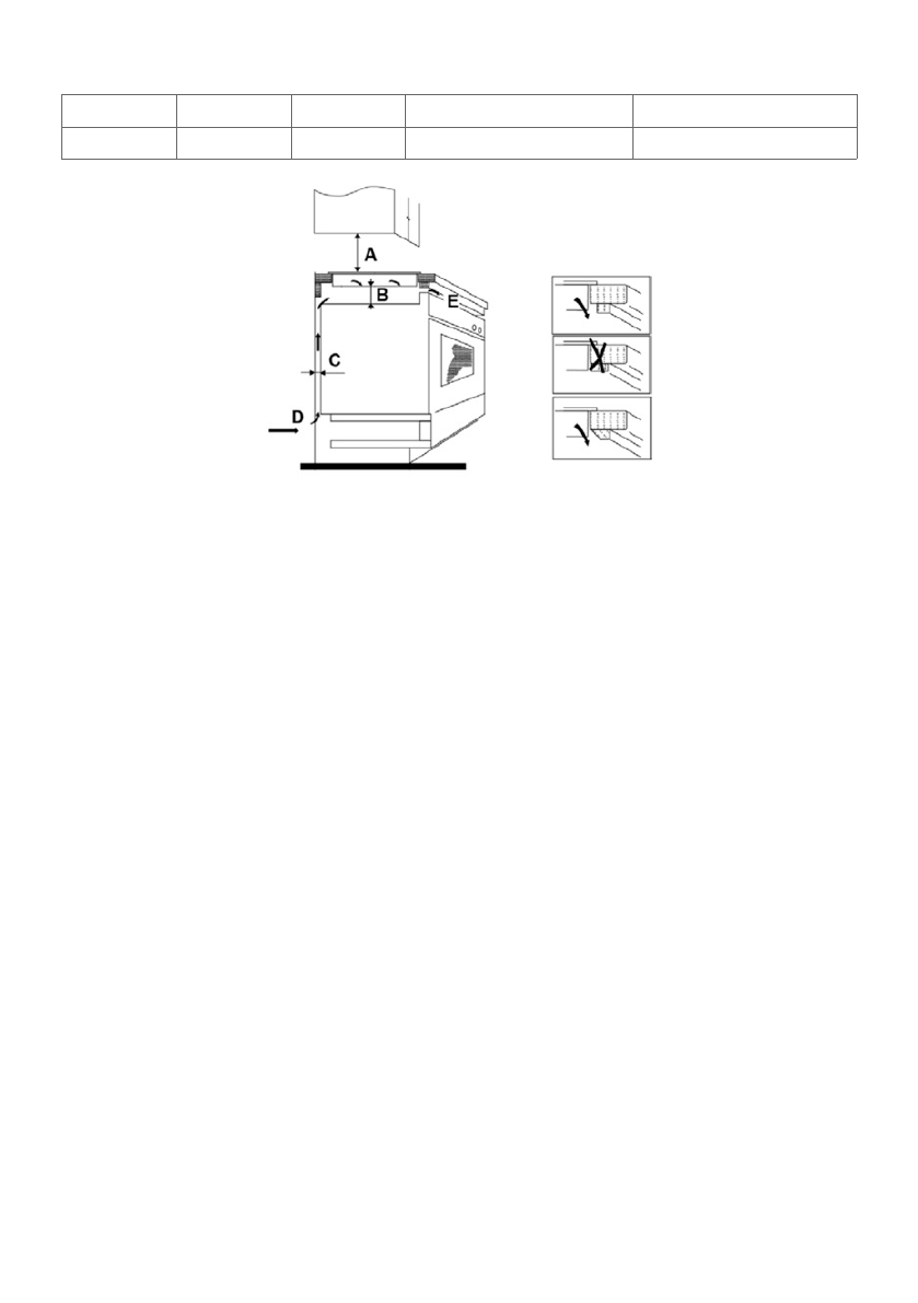
A (мм)
B (мм)
C (мм)
D
Е
760
мин 50
мин 30
Забор воздуха
Отвод воздуха 6 мм
Содержание
- 7 ПАНЕЛЬ УПРАВЛЕНИЯ
- 12 Начало приготовления
- 15 Настройка таймера на отключение одной зоны нагрева
- 18 Настройка степени нагрева; Настройка степени
- 19 Неправильное использование; Риск повреждения поверхностей!; • Не используйте для чистки прибора струи пара.; ОЧИСТКА И УХОД
- 20 ЧТО ДЕЛАТЬ В СЛУЧАЕ НЕИСПРАВНОСТИ?
- 21 ТЕХНИЧЕСКИЕ ХАРАКТЕРИСТИКИ
- 22 Выбор оборудования для установки прибора; рые указаны на рисунке.; УСТАНОВКА
- 23 Перед установкой варочной панели убедитесь, что:
- 24 После установки варочной панели убедитесь, что:; • кабель электропитания не соприкасается с дверцами и выдвижными; Перед размещением крепежных скоб; ковку). Не надавливайте на выступающие элементы управления. После
- 25 Обязательно следует подсоединять провод заземления.
- 26 Подключение варочной панели; Осторожно! Частое ослабление и затягивание винтов в распре-
- 27 Утилизируйте упаковку с соблюдением правил экологической; Согласно ст. 26 законодательного декрета от 14 марта 2014 года No; ходимо утилизировать отдельно от других отходов.; ПРАВИЛА УТИЛИЗАЦИИ













