Варочная панель Haier HHY-Y64NVB/NFB/NVW - инструкция пользователя по применению, эксплуатации и установке на русском языке. Мы надеемся, она поможет вам решить возникшие у вас вопросы при эксплуатации техники.
Если остались вопросы, задайте их в комментариях после инструкции.
"Загружаем инструкцию", означает, что нужно подождать пока файл загрузится и можно будет его читать онлайн. Некоторые инструкции очень большие и время их появления зависит от вашей скорости интернета.

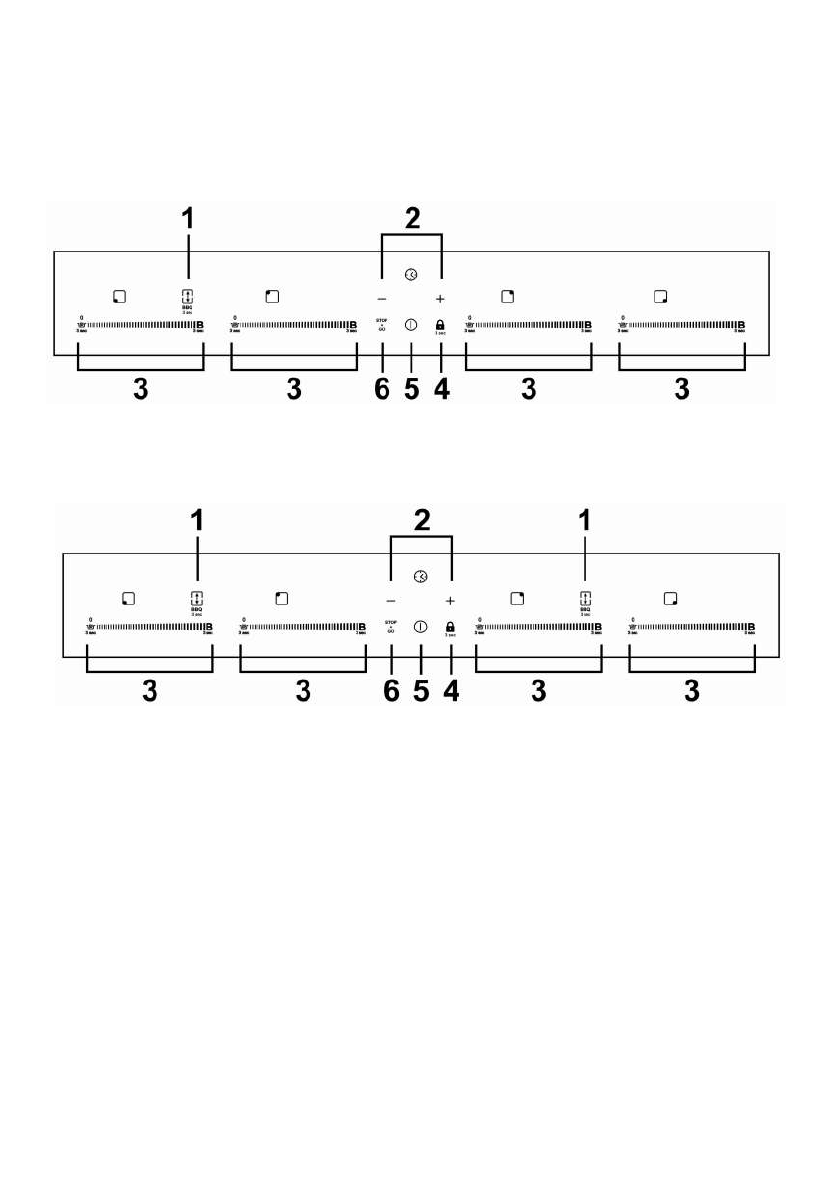
Панель управления
HHY-Y64FVB
HHY-Y64FFVB
& HHY-Y64FFVW
1. Зона расширения и управление BBQ
2. Управление таймером
3. Элементы управления зоной
приготовления, Кнопка регулировки
мощности, Управление функцией повышения
мощности, Управление сохранением тепла
4. Управление блокировкой
5. Управление ВКЛ/ВЫКЛ
6. Управление остановками
Содержание
- 5 Важные инструкции по безопасности
- 8 Поздравляем
- 9 Краткие сведения об изделии; Вид сверху
- 12 Панель управления
- 14 Размеры емкостей; Базовый диаметр индукционной посуды
- 16 Памятка об индукционной кулинарии; Перед применением новой индукционной варочной
- 17 Выбор кухонной посуды
- 18 Начало приготовления пищи
- 19 Если на дисплее мигает значение; По окончании приготовления пищи; а затем
- 21 Применение функции Boost; Применение Boost для увеличения мощности
- 22 Ограничения при использовании; Группа а
- 23 Зона расширения; В качестве большой зоны
- 24 Применение зоны расширения
- 25 Применение функции BBQ
- 26 Применение функции поддержания тепла
- 27 Применение функции остановки
- 28 Блокировка элементов управления; Порядок блокировки элементов управления
- 29 Защита с помощью автоматического выключения
- 30 Применение таймера; Применение таймера для обратного отсчета; Если вы не выбрали ни одну зону приготовления пищи
- 33 Настройка таймера на выключение нескольких зон
- 35 Инструкции по приготовлению; Советы по приготовлению пищи; Жарка стейка
- 36 Настройки нагрева; Настройка нагрева
- 37 Уход и чистка
- 38 Полезные советы; Проблема
- 40 Индикация неисправностей и осмотр
- 41 Технические характеристики; ςϬ
- 42 Вт
- 43 Установка; Выбор оборудования для установки; Тип панели
- 44 мм
- 45 Внимание
- 46 Подключение варочной панели к источнику питания
- 52 cm; Код материала
- 53 ОБСЛУЖИВАНИЕ КЛИЕНТОВ