Варочная панель Haier HHY-Y53NVB - инструкция пользователя по применению, эксплуатации и установке на русском языке. Мы надеемся, она поможет вам решить возникшие у вас вопросы при эксплуатации техники.
Если остались вопросы, задайте их в комментариях после инструкции.
"Загружаем инструкцию", означает, что нужно подождать пока файл загрузится и можно будет его читать онлайн. Некоторые инструкции очень большие и время их появления зависит от вашей скорости интернета.

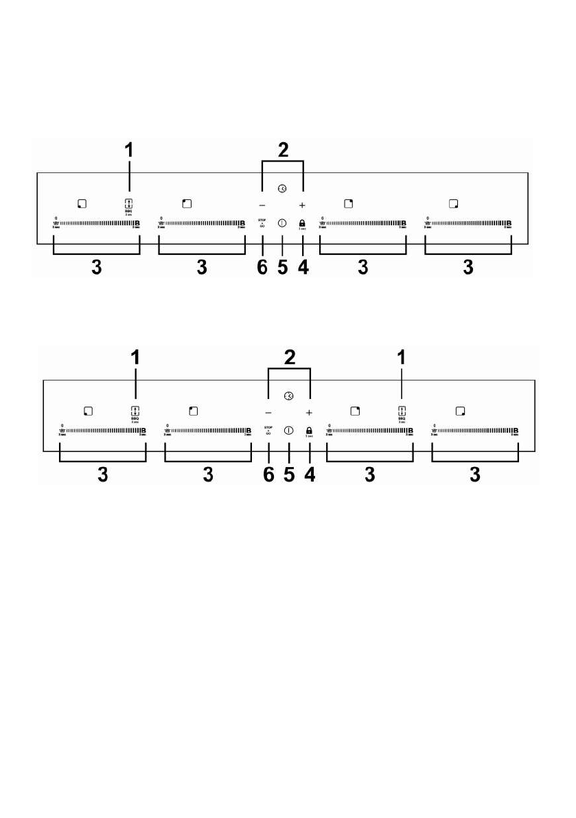
Панель управления
HHY-Y64FVB
HHY-Y64FFVB
& HHY-Y64FFVW
1. Зона расширения и управление BBQ
2. Управление таймером
3. Элементы управления зоной
приготовления, Кнопка регулировки
мощности, Управление функцией повышения
мощности, Управление сохранением тепла
4. Управление блокировкой
5. Управление ВКЛ/ВЫКЛ
6. Управление остановками
Характеристики
Остались вопросы?Не нашли свой ответ в руководстве или возникли другие проблемы? Задайте свой вопрос в форме ниже с подробным описанием вашей ситуации, чтобы другие люди и специалисты смогли дать на него ответ. Если вы знаете как решить проблему другого человека, пожалуйста, подскажите ему :)












