Варочная панель Gorenje IT646ORA-B - инструкция пользователя по применению, эксплуатации и установке на русском языке. Мы надеемся, она поможет вам решить возникшие у вас вопросы при эксплуатации техники.
Если остались вопросы, задайте их в комментариях после инструкции.
"Загружаем инструкцию", означает, что нужно подождать пока файл загрузится и можно будет его читать онлайн. Некоторые инструкции очень большие и время их появления зависит от вашей скорости интернета.

8
782839
ТЕХНІЧНІ ХАРАКТЕРИСТИКИ
(ЗАЛЕЖНО ВІД МОДЕЛІ)
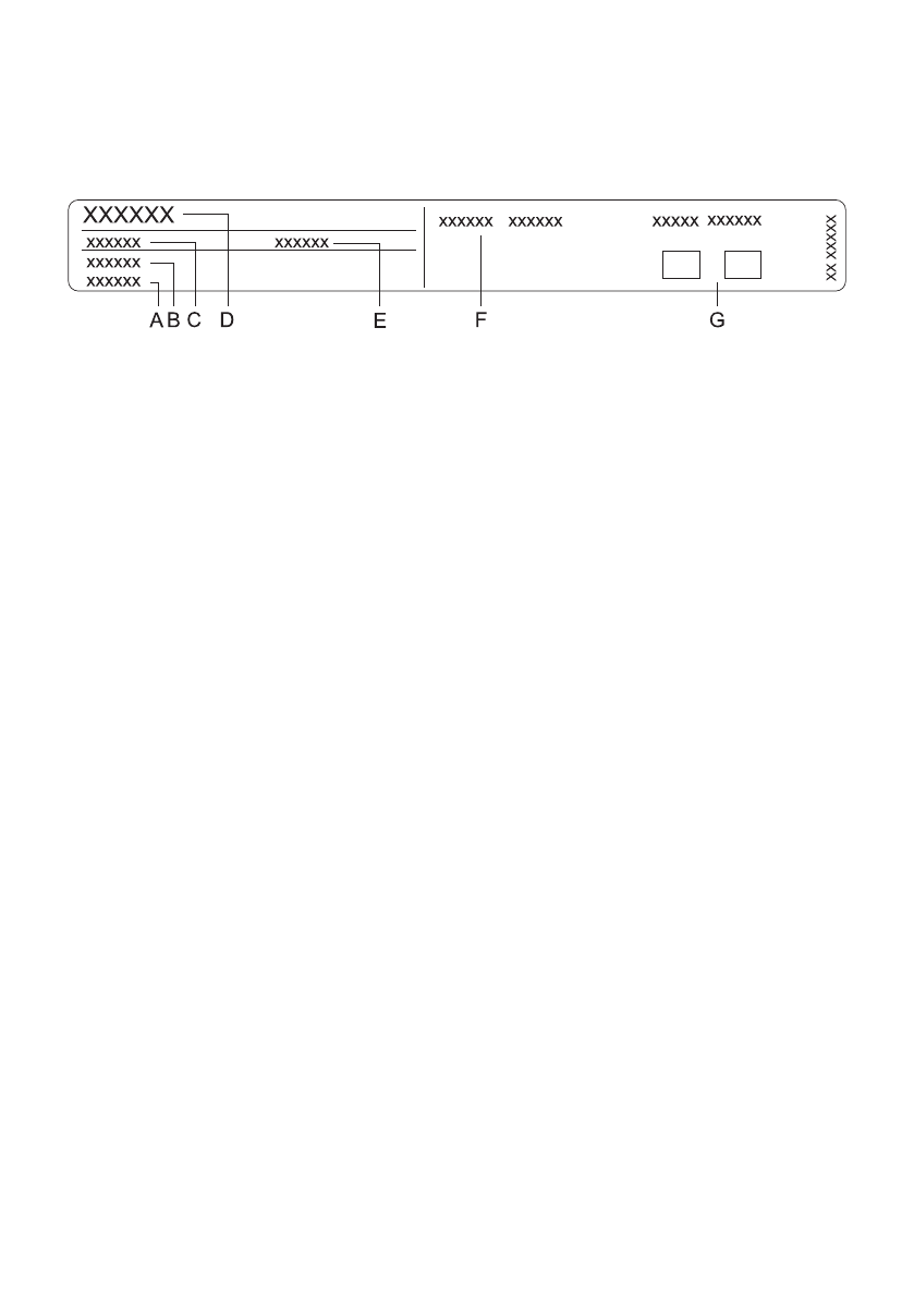
Паспортну табличку, що містить основну
інформацію про прилад, прикріплено до нижньої
частини варильної поверхні.
Відомості про тип і модель приладу містяться в
гарантійному талоні.
A
Серійний
номер
B
Код/ідентифікатор
C
Тип
D
Марка
E
Модель
F
Технічні
дані
G
Символи
відповідності
Характеристики
Остались вопросы?Не нашли свой ответ в руководстве или возникли другие проблемы? Задайте свой вопрос в форме ниже с подробным описанием вашей ситуации, чтобы другие люди и специалисты смогли дать на него ответ. Если вы знаете как решить проблему другого человека, пожалуйста, подскажите ему :)












