Варочная панель Gorenje IT645BCSC - инструкция пользователя по применению, эксплуатации и установке на русском языке. Мы надеемся, она поможет вам решить возникшие у вас вопросы при эксплуатации техники.
Если остались вопросы, задайте их в комментариях после инструкции.
"Загружаем инструкцию", означает, что нужно подождать пока файл загрузится и можно будет его читать онлайн. Некоторые инструкции очень большие и время их появления зависит от вашей скорости интернета.

8
726639
ТЕХНИЧЕСКИЕ ДАННЫЕ
(
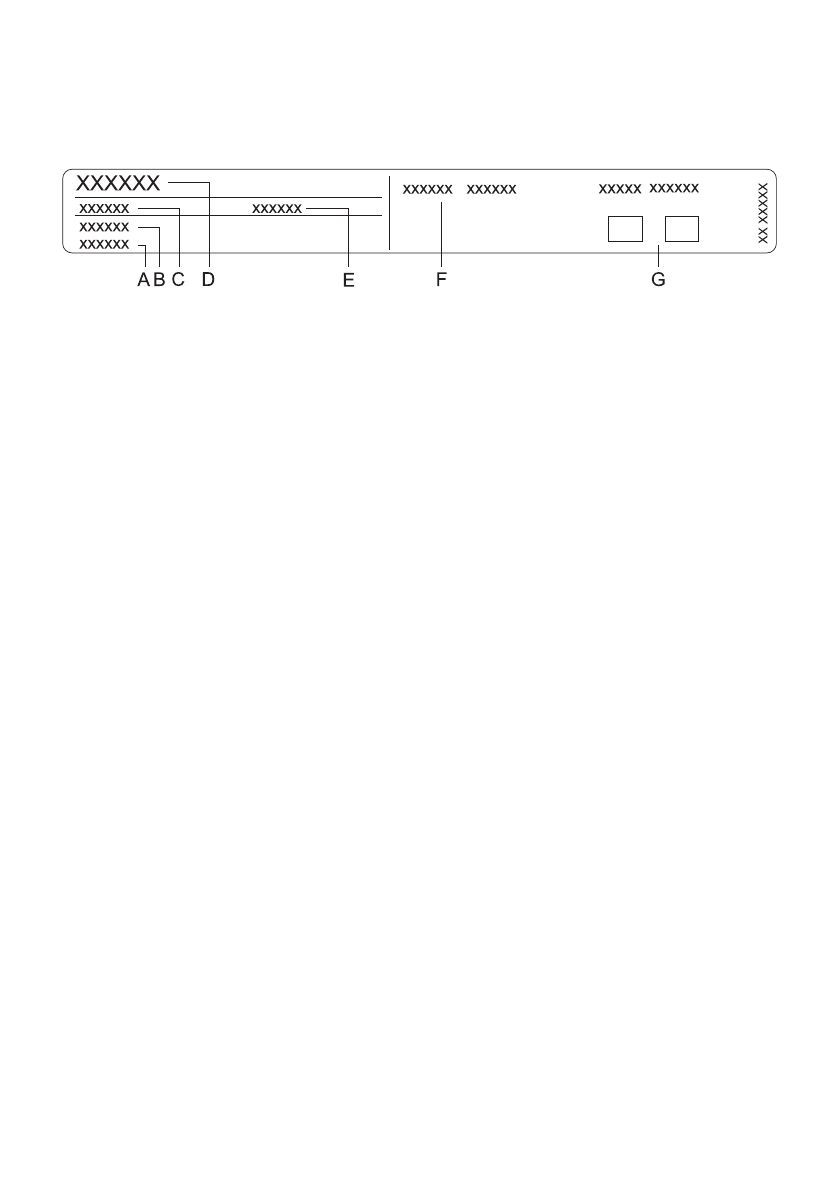
Заводская табличка
)
Заводская табличка с основными данными
прибора находится на нижней стороне варочной
панели.
Данные о типе и модели варочной панели
можно найти в гарантийном листе.
A
Серийный номер
B
Артикул
C
Модель
D
Тип
E
Торговая марка
F
Технические данные
G
Знаки соответствия
Характеристики
Остались вопросы?Не нашли свой ответ в руководстве или возникли другие проблемы? Задайте свой вопрос в форме ниже с подробным описанием вашей ситуации, чтобы другие люди и специалисты смогли дать на него ответ. Если вы знаете как решить проблему другого человека, пожалуйста, подскажите ему :)