Варочная панель Gorenje ECT641BSC - инструкция пользователя по применению, эксплуатации и установке на русском языке. Мы надеемся, она поможет вам решить возникшие у вас вопросы при эксплуатации техники.
Если остались вопросы, задайте их в комментариях после инструкции.
"Загружаем инструкцию", означает, что нужно подождать пока файл загрузится и можно будет его читать онлайн. Некоторые инструкции очень большие и время их появления зависит от вашей скорости интернета.

РАЗМЕРЫ МОНТАЖНОГО ПРОЕМА ПРИ МОНТАЖЕ ВРОВЕНЬ СО СТОЛЕШНИЦЕЙ
(в зависимости от модели)
32
699791
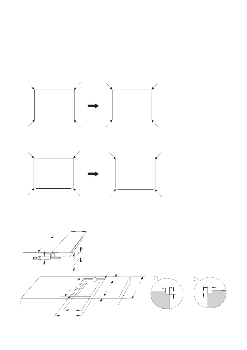
Так как в размерах стеклокерамической панели и выреза в столешнице возможны допуски, ширина
зазора может варьироваться (мин. 2 мм).
Установите деревянную рамку, отступив вниз от верхнего края столешницы 5,5 миллиметров (см. рис.).
Соблюдайте радиусы в углах монтажного проема в зависимости от радиусов стеклокерамической
панели (R10, R2).
СТЕКЛОКЕРАМИКА
МОНТАЖНЫЙ
ПРОЕМ
R2
R2
R2
R2
R2
R2
R2
R2
R2
R10
R10
R2
R2
R10
R10
R2
30см
50
300
520
54
525 x
y
490-492
min 40
min 600
min 50
305-307
597-599
283-285
10
6
x
17
6
y
R
R
Характеристики
Остались вопросы?Не нашли свой ответ в руководстве или возникли другие проблемы? Задайте свой вопрос в форме ниже с подробным описанием вашей ситуации, чтобы другие люди и специалисты смогли дать на него ответ. Если вы знаете как решить проблему другого человека, пожалуйста, подскажите ему :)