Gorenje EC641BSC - Инструкция по эксплуатации - Страница 8

Варочная панель Gorenje EC641BSC - инструкция пользователя по применению, эксплуатации и установке на русском языке. Мы надеемся, она поможет вам решить возникшие у вас вопросы при эксплуатации техники.

Если остались вопросы, задайте их в комментариях после инструкции.

"Загружаем инструкцию", означает, что нужно подождать пока файл загрузится и можно будет его читать онлайн. Некоторые инструкции очень большие и время их появления зависит от вашей скорости интернета.
Страница:
/ 28
Загружаем инструкцию
background image

8

711188

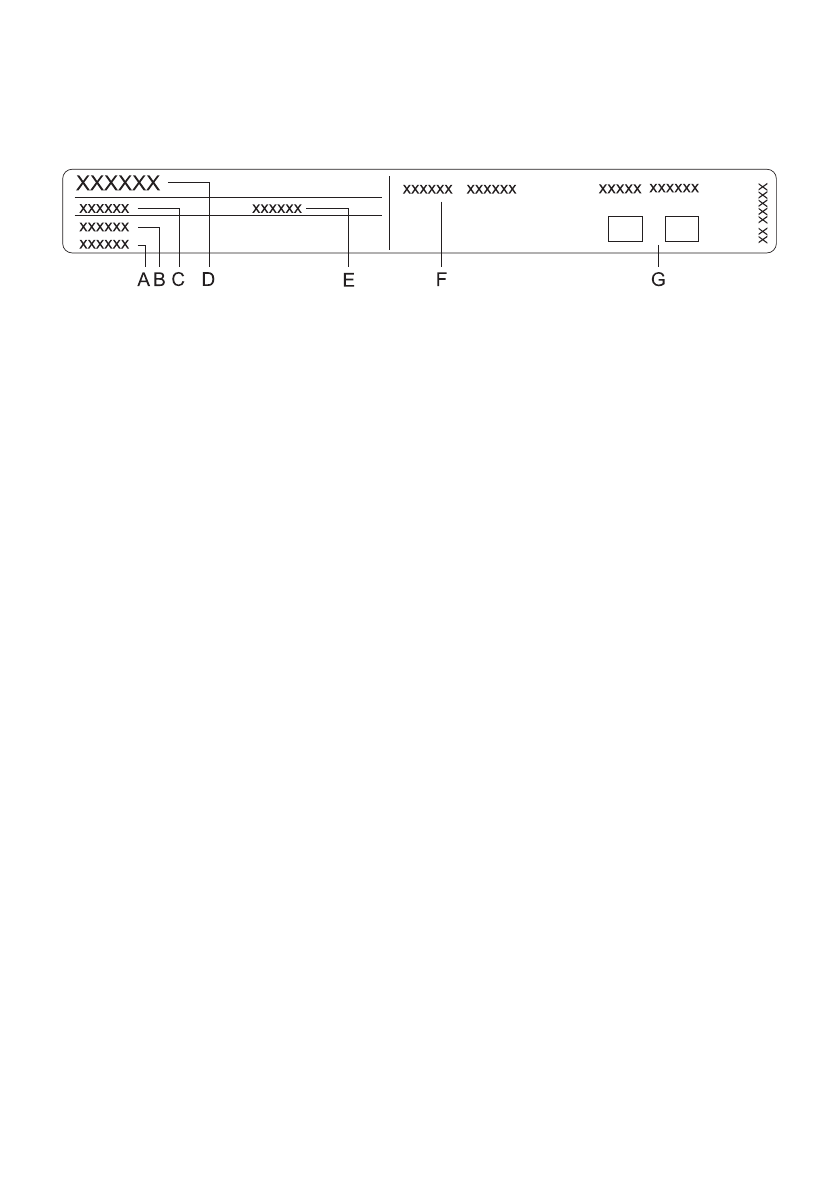
ТЕХНІЧНІ ХАРАКТЕРИСТИКИ

(ЗАЛЕЖНО ВІД МОДЕЛІ) 

Паспортну табличку, що містить основну 

інформацію про прилад, прикріплено до нижньої 

частини варильної поверхні.

A

 Серійний 

номер

B

 Код/ідентифікатор

C

 Тип

D

 Марка

E

 Модель

F

 Технічні 

дані

G

 Символи 

відповідності

Характеристики

Оцените статью
tehnopanorama.ru
Остались вопросы?

Не нашли свой ответ в руководстве или возникли другие проблемы? Задайте свой вопрос в форме ниже с подробным описанием вашей ситуации, чтобы другие люди и специалисты смогли дать на него ответ. Если вы знаете как решить проблему другого человека, пожалуйста, подскажите ему :)

Задать вопрос

Часто задаваемые вопросы
Как посмотреть инструкцию к Gorenje EC641BSC?
Необходимо подождать полной загрузки инструкции в сером окне на данной странице
Руководство на русском языке?
Все наши руководства представлены на русском языке или схематично, поэтому вы без труда сможете разобраться с вашей моделью
Как скопировать текст из PDF?
Чтобы скопировать текст со страницы инструкции воспользуйтесь вкладкой "HTML"