Варочная панель Gefest ПВГ 1212 К55 - инструкция пользователя по применению, эксплуатации и установке на русском языке. Мы надеемся, она поможет вам решить возникшие у вас вопросы при эксплуатации техники.
Если остались вопросы, задайте их в комментариях после инструкции.
"Загружаем инструкцию", означает, что нужно подождать пока файл загрузится и можно будет его читать онлайн. Некоторые инструкции очень большие и время их появления зависит от вашей скорости интернета.

ПВГ 1212.00.0.000 РЭ
8
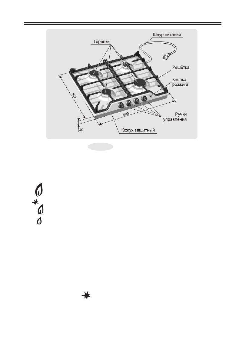
5.2 УПРАВлЕНИЕ ВАРОЧНОй ПАНЕлью
Возле каждой ручки нанесены символы, обозначающие соответствие горелки и
управляющего крана, а также:
“ • ” –
кран закрыт
“
” –
максимальное пламя
“
” –
электророзжиг и максимальное пламя
“ ” –
малое пламя
Для стола ПВГ 1212:
чтобы зажечь горелку, необходимо нажать на соответствующую ей ручку крана и
повернуть ее против часовой стрелки в положение «электророзжиг и максимальное
пламя». При этом к горелке начнет поступать газ, а между разрядником электророзжига и
корпусом горелки будет проскакивать искра высоковольтного разряда. После возгорания
газа ручку крана необходимо удерживать в нажатом состоянии в течении 10 секунд для
срабатывания предохранительного устройства. Предохранительное устройство служит
для прекращения подачи газа при погасании пламени.
Для стола ПВГ 1212-01:
чтобы зажечь горелку, нужно нажать и повернуть соответсвующую ей ручку крана
против часовой стрелки в положение «максимальное пламя». затем необходимо нажать
кнопку электророзжига “
”. между всеми разрядниками и горелками проскакивает
искра высоковольтного разряда. Разжигается горелка, на которую подан газ. Если
горелка не зажглась, повторите розжиг снова. Когда в сети большое давление газа,
горелка зажигается при меньшей подаче газа (положение ручки между максимальным
и малым пламенем).
Рис. 2 мОдЕЛь ПВГ 1212-01
Содержание
- 4 ОБЩИЕ УКАЗАНИЯ; Наша бытовая техника постоянно совершенствуется, улучшаются ее
- 5 ТРЕБОВАНИЯ БЕЗОПАСНОСТИ; ПАНЕЛь НЕ ПРЕдНАзНАчЕНА дЛя ИСПОЛьзОВАНИя В КОммЕРчЕСКИХ
- 7 ТЕХНИЧЕСКИЕ ХАРАКТЕРИСТИКИ
- 9 КОМПлЕКТНОСТь; * Только для варочной панели, изготовленной под природный газ.; УСТРОйСТВО И ПОРЯДОК РАБОТЫ
- 10 УПРАВлЕНИЕ ВАРОЧНОй ПАНЕлью
- 11 УСТАНОВКА
- 13 ПОДКлюЧЕНИЕ; ЗАПРЕЩАЕТСЯ
- 15 РЕКОМЕНДАцИИ РЕМОНТНЫМ СлУЖБАМ; Регулировка для различных давлений газа
- 16 хлоросодержащие средства и другие агрессивные компоненты; ПРАКТИЧЕСКИЕ СОВЕТЫ
- 18 2 ТРАНСПОРТИРОВАНИЕ И ХРАНЕНИЕ; атмосферных осадков и механических повреждений.; 1 ТЕХНИЧЕСКОЕ ОБСлУЖИВАНИЕ ВАРОЧНОй ПАНЕлИ; обслуживание является обязательным.
- 19 4 ГАРАНТИИ ИЗГОТОВИТЕлЯ; ВНИМАНИЕ; СП ОАО «Брестгазоаппарат»
Характеристики
Остались вопросы?Не нашли свой ответ в руководстве или возникли другие проблемы? Задайте свой вопрос в форме ниже с подробным описанием вашей ситуации, чтобы другие люди и специалисты смогли дать на него ответ. Если вы знаете как решить проблему другого человека, пожалуйста, подскажите ему :)












