Варочная панель Electrolux IPE6443KFV - инструкция пользователя по применению, эксплуатации и установке на русском языке. Мы надеемся, она поможет вам решить возникшие у вас вопросы при эксплуатации техники.
Если остались вопросы, задайте их в комментариях после инструкции.
"Загружаем инструкцию", означает, что нужно подождать пока файл загрузится и можно будет его читать онлайн. Некоторые инструкции очень большие и время их появления зависит от вашей скорости интернета.

5.4 Использование конфорок
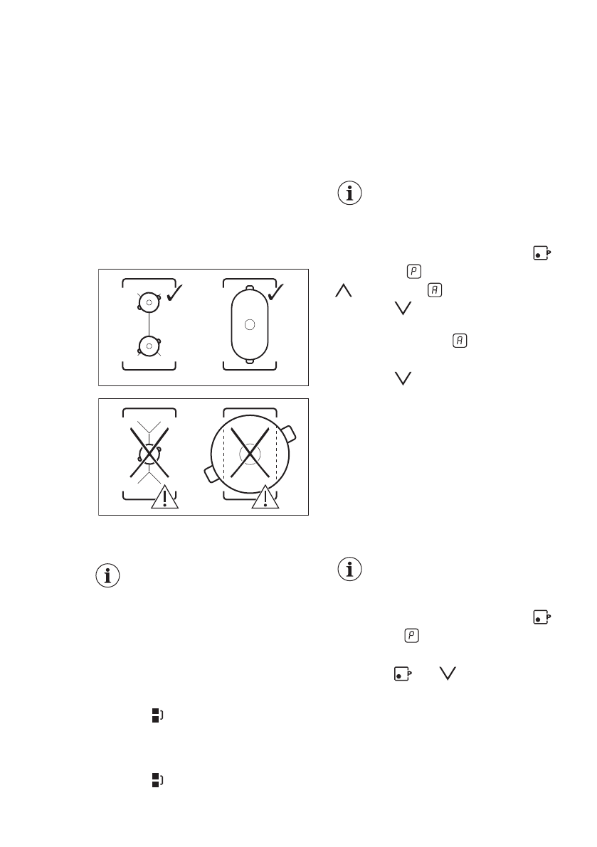
Ставьте посуду в центр выбранной
конфорки. Индукционные конфорки
автоматически подстраиваются под
размер дна посуды.
Кухонная посуда большого размера
может нагреваться двумя конфорками
одновременно. Посуда должна
накрывать центры обеих конфорок, не
не выходить при этом за границы
очерченных областей. Если посуда
расположена между двумя центрами,
функция функция Bridge не
включается.
5.5 Bridge
Функция действует, когда
посуда накрывает центры
двух конфорок.
Функция служит для объединения двух
левых конфорок, в результате чего
они работают как одна конфорка.
Сначала следует установить уровень
нагрева для одной из левых конфорок.
Для включения этой функции:
коснитесь . Чтобы задать или
изменить уровень нагрева, коснитесь
одного из сенсоров управления.
Чтобы выключить эту функцию:
коснитесь . Теперь конфорки будут
работать независимо друг от друга.
5.6 Автоматический нагрев
Включение данной функции позволяет
достичь нужной мощности нагрева в
более короткий срок. На некоторое
время функция устанавливает
максимальную мощность нагрева, а
затем уменьшает ее до требуемого
уровня.
Для включения функции
конфорка должна быть
холодной.
Для включения этой функции для
выбранной конфорки: коснитесь
(высветится ). Сразу же коснитесь
(высветится ). Сразу же
коснитесь
, пока не высветится
нужный уровень мощности. Через 3
секунды высветится .
Чтобы выключить эту функцию:
коснитесь
.
5.7 PowerBoost
Данная функция усиливает нагрев на
индукционных конфорках. Функцию
можно включить для индукционной
конфорки только на ограниченный
период времени. По истечении этого
времени индукционная конфорка
автоматически переключается
обратно на максимальный уровень
мощности.
См. Главу «Технические
данные».
Для включения функции для
выбранной конфорки: коснитесь
.
Высветится .
Чтобы выключить эту функцию:
коснитесь
или
.
5.8 Таймер
Таймер обратного отсчета
Данная функция используется для
отсчета продолжительности работы
конфорки за один цикл приготовления.
РУССКИЙ
35
Содержание
- 25 возможностями
- 26 Общие правила техники безопасности
- 27 УКАЗАНИЯ ПО БЕЗОПАСНОСТИ
- 28 электросети
- 30 Серийный; Встраиваемые варочные; панели
- 33 Индикаторы ступеней нагрева
- 34 (трехступенчатый индикатор; ЕЖЕДНЕВНОЕ ИСПОЛЬЗОВАНИЕ; выключение; Значение мощности; нагрева
- 36 Система защиты от; детей
- 37 Система управления; мощностью
- 39 Шум во время работы; Примеры использования; варочной поверхности
- 40 Указания и рекомендации; по использованию Hob2Hood
- 41 поверхности
- 42 ПОИСК И УСТРАНЕНИЕ НЕИСПРАВНОСТЕЙ
- 44 Если решение найти не; ТЕХНИЧЕСКИЕ ДАННЫЕ; Табличка с техническими; данными
- 45 Спецификация конфорок; ЭНЕРГОЭФФЕКТИВНОСТЬ; Сведения об изделии, приведенные в соответствии с EU; 6/2014, действительны только для рынка ЕС
- 46 электроэнергии; ОХРАНА ОКРУЖАЮЩЕЙ СРЕДЫ
Характеристики
Остались вопросы?Не нашли свой ответ в руководстве или возникли другие проблемы? Задайте свой вопрос в форме ниже с подробным описанием вашей ситуации, чтобы другие люди и специалисты смогли дать на него ответ. Если вы знаете как решить проблему другого человека, пожалуйста, подскажите ему :)