Варочная панель Electrolux GPE363MX - инструкция пользователя по применению, эксплуатации и установке на русском языке. Мы надеемся, она поможет вам решить возникшие у вас вопросы при эксплуатации техники.
Если остались вопросы, задайте их в комментариях после инструкции.
"Загружаем инструкцию", означает, что нужно подождать пока файл загрузится и можно будет его читать онлайн. Некоторые инструкции очень большие и время их появления зависит от вашей скорости интернета.

7. УХОД И ОЧИСТКА
ВНИМАНИЕ!
См. главы, содержащие
Сведения по технике
безопасности.
7.1 Общая информация
• Варочную поверхность необходимо
мыть после каждого использования.
• Следите за тем, чтобы дно посуды
всегда было чистым.
• Царапины или темные пятна на
поверхности не влияют на работу
варочной поверхности.
• Используйте для очистки
специальное средство,
предназначенное для очистки
варочных поверхностей.
Нержавеющая сталь
• Промойте элементы из
нержавеющей стали водой, а затем
вытрите их насухо мягкой тряпкой.
• Для удаления пригоревшей пищи,
жира и стойких пятен перед
очисткой отмочите их в течение
нескольких минут в небольшом
количестве мягкого моющего
средства
• Во избежание повреждений
стальных поверхностей
используйте только моющие
средства, предназначенные
специально для очистки
нержавеющей стали.
• Не применяйте моющие средства,
содержащие коррозионные
химические вещества, такие как
хлориды; не используйте для
очистки поверхности
обеззараживающие вещества,
средства для удаления пятен или
ржавчины, а также моющие
средства для очистки погружением.
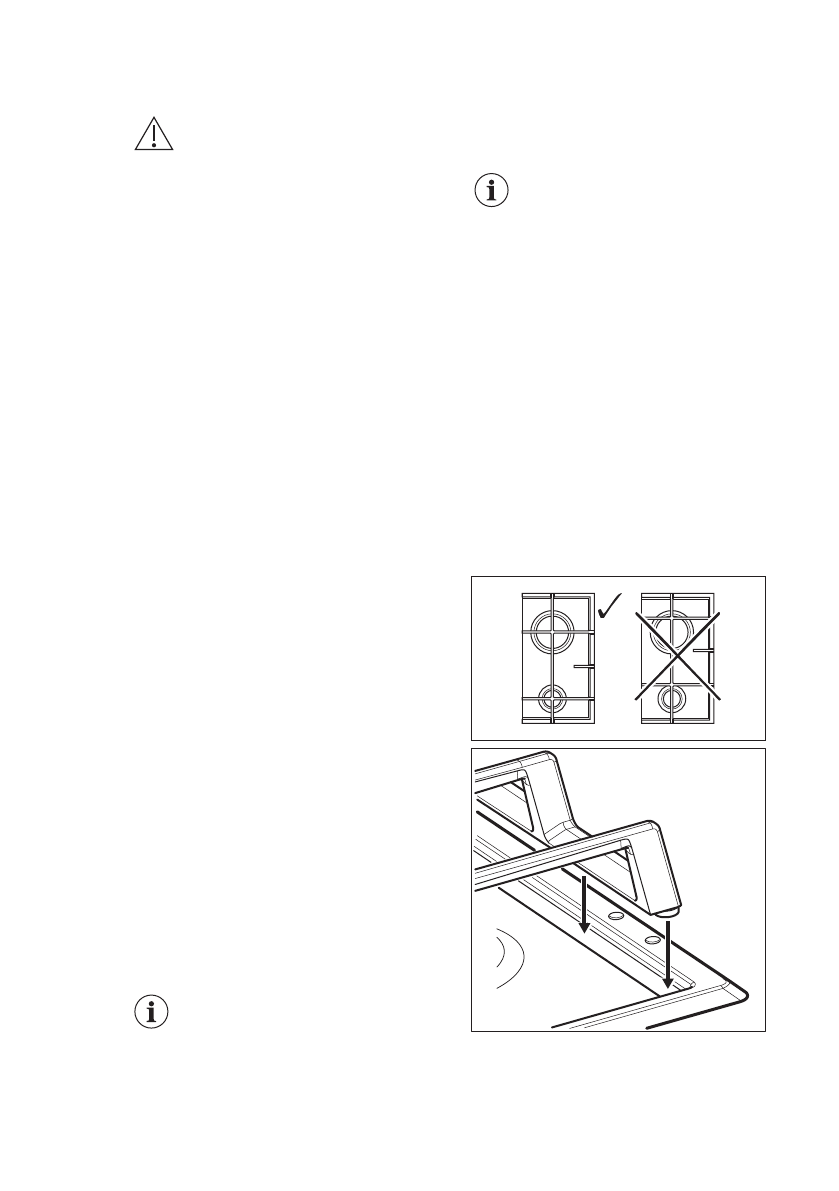
7.2 Держатели для посуды
Держатели для посуды
нельзя мыть в
посудомоечной машине.
Необходимо мыть их
вручную.
1. Для упрощения очистки варочной
панели снимите держатели для
посуды.
Чтобы не повредить
варочную панель,
будьте внимательны
при установке
держателей для
посуды.
2. При мойке держателей для посуды
вручную будьте внимательны,
когда их протираете, так как
эмалевое покрытие может
местами иметь острые края. При
необходимости удаляйте стойкие
загрязнения с помощью чистящей
пасты.
3. После очистки держателей для
посуды убедитесь, что держатели
правильно установлены на место.
4. Для того, чтобы горелка работала
надлежащим образом, стержни
держателей для посуды должны
располагаться в центре горелки.
РУССКИЙ
37
Содержание
- 23 возможностями
- 24 Общая безопасность
- 25 УКАЗАНИЯ ПО БЕЗОПАСНОСТИ
- 26 электросети
- 27 Подключение к линии; подачи газа
- 29 Подключение к газовой; магистрали
- 33 Возможности встраивания
- 34 Функциональные элементы варочной поверхности; ЕЖЕДНЕВНОЕ ИСПОЛЬЗОВАНИЕ; Общий вид горелки
- 36 Выключение горелки
- 37 Держатели для посуды
- 38 поверхности; Очистка свечи зажигания; ПОИСК И УСТРАНЕНИЕ НЕИСПРАВНОСТЕЙ
- 39 Если решение найти не; пакет с принадлежностями
- 40 ТЕХНИЧЕСКИЕ ДАННЫЕ; Размеры варочной панели
- 41 Газовые горелки для ПРИРОДНОГО ГАЗА G20 13 мбар; ЭНЕРГЕТИЧЕСКАЯ ЭФФЕКТИВНОСТЬ
- 42 Экономия электроэнергии; ОХРАНА ОКРУЖАЮЩЕЙ СРЕДЫ
Характеристики
Остались вопросы?Не нашли свой ответ в руководстве или возникли другие проблемы? Задайте свой вопрос в форме ниже с подробным описанием вашей ситуации, чтобы другие люди и специалисты смогли дать на него ответ. Если вы знаете как решить проблему другого человека, пожалуйста, подскажите ему :)