Варочная панель Electrolux EQL 4520 BOZ - инструкция пользователя по применению, эксплуатации и установке на русском языке. Мы надеемся, она поможет вам решить возникшие у вас вопросы при эксплуатации техники.
Если остались вопросы, задайте их в комментариях после инструкции.
"Загружаем инструкцию", означает, что нужно подождать пока файл загрузится и можно будет его читать онлайн. Некоторые инструкции очень большие и время их появления зависит от вашей скорости интернета.

0
3
5
8
10
14 P
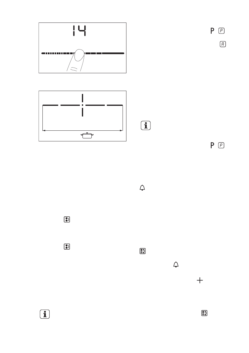
4.4 Keeduväljade tähistused
max.
Horisontaalne joon tähistab nõu
maksimaalset suurust.
Vt jaotist "Tehnilised andmed".
4.5 Bridge-funktsioon
See funktsioon ühendab kaks
vasakpoolset keeduvälja ja need
töötavad kui üks keeduväli.
Määrake esmalt ühe vasakpoolse
keeduvälja soojusaste.
Funktsiooni sisselülitamiseks:
puudutage . Soojusastme
määramiseks või muutmiseks puudutage
ühte juhtsensoritest.
Funktsiooni väljalülitamiseks:
puudutage . Keeduväljad töötavad
teineteisest sõltumatult.
4.6 Automaatne kiirsoojendus
Selle funktsiooni sisselülitamisel
saavutate vajaliku soojusastme kiiremini.
Selle funktsiooni puhul rakendatakse
mõnda aega kõrgeimat soojusastet;
seejärel seda vähendatakse, kuni
jõutakse õige soojusastmeni.
Funktsiooni sisselülitamiseks
peab keeduväli olema külm.
Keeduvälja jaoks funktsiooni
sisselülitamiseks: puudutage (
süttib). Puudutage kohe sobivat
soojusastet. 3 sekundi pärast süttib .
Funktsiooni väljalülitamiseks: muutke
soojusastet.
4.7 Võimsusfunktsioon
See funktsioon võimaldab induktsiooniga
keeduväljadel rohkem võimsust
kasutada. Funktsiooni saab
induktsioonkeeduvälja jaoks sisse
lülitada ainult piiratud ajaks. Pärast seda
lülitub induktsioonkeeduväli automaatselt
tagasi kõrgeimale soojusastmele.
Vt jaotist "Tehnilised
andmed".
Keeduvälja jaoks funktsiooni
sisselülitamiseks: puudutage .
süttib.
Funktsiooni väljalülitamiseks: muutke
soojusastet.
4.8 Taimer
Pöördloenduse taimer
Valige see funktsioon, et määrata, kui
kaua keeduväli sellel kasutuskorral
töötab.
Esmalt valige keeduväli, seejärel
funktsioon.Taimerifunktsiooni saab
valida nende keeduväljadega, mis on
aktiveeritud ja pärast seda, kui
soojusaste on määratud.
Keeduvälja valimine: puudutage järjest
, kuni süttib vajaliku keeduvälja
indikaator. Kui see funktsioon on sisse
lülitatud, süttib .
Funktsiooni sisselülitamiseks:
puudutage taimeri nuppu , et määrata
aeg ( 00 - 99 minutit). Kui keeduvälja
indikaator hakkab aeglaselt vilkuma,
toimub aja pöördloendus.
Järelejäänud aja kontrollimiseks:
valige keeduväli, kasutades .
Keeduvälja indikaator hakkab kiiresti
EESTI
9
Содержание
- 43 возможностями
- 44 Общие правила техники безопасности
- 45 УКАЗАНИЯ ПО БЕЗОПАСНОСТИ; электросети
- 49 Индикаторы ступеней нагрева
- 50 (трехступенчатый индикатор; ЕЖЕДНЕВНОЕ ИСПОЛЬЗОВАНИЕ; выключение; Значение мощности; нагрева
- 51 «Бустер»
- 53 Функция «Защита от; детей»; OffSound Control; (Включение и выключение
- 54 Шум во время работы
- 55 Примеры использования; варочной панели
- 56 Чистка варочной панели
- 57 ПОИСК И УСТРАНЕНИЕ НЕИСПРАВНОСТЕЙ
- 60 Если решение найти не; Серийный; Встраиваемые варочные; панели; Установка прокладки
- 62 Установка более одной
- 63 ТЕХНИЧЕСКИЕ ДАННЫЕ; Табличка с техническими; данными
- 64 Спецификация конфорок; ЭНЕРГОЭФФЕКТИВНОСТЬ; электроэнергии
- 65 ОХРАНА ОКРУЖАЮЩЕЙ СРЕДЫ












