Варочная панель Electrolux EQL 4520 BOZ - инструкция пользователя по применению, эксплуатации и установке на русском языке. Мы надеемся, она поможет вам решить возникшие у вас вопросы при эксплуатации техники.
Если остались вопросы, задайте их в комментариях после инструкции.
"Загружаем инструкцию", означает, что нужно подождать пока файл загрузится и можно будет его читать онлайн. Некоторые инструкции очень большие и время их появления зависит от вашей скорости интернета.

0
3
5
8
10
14 P
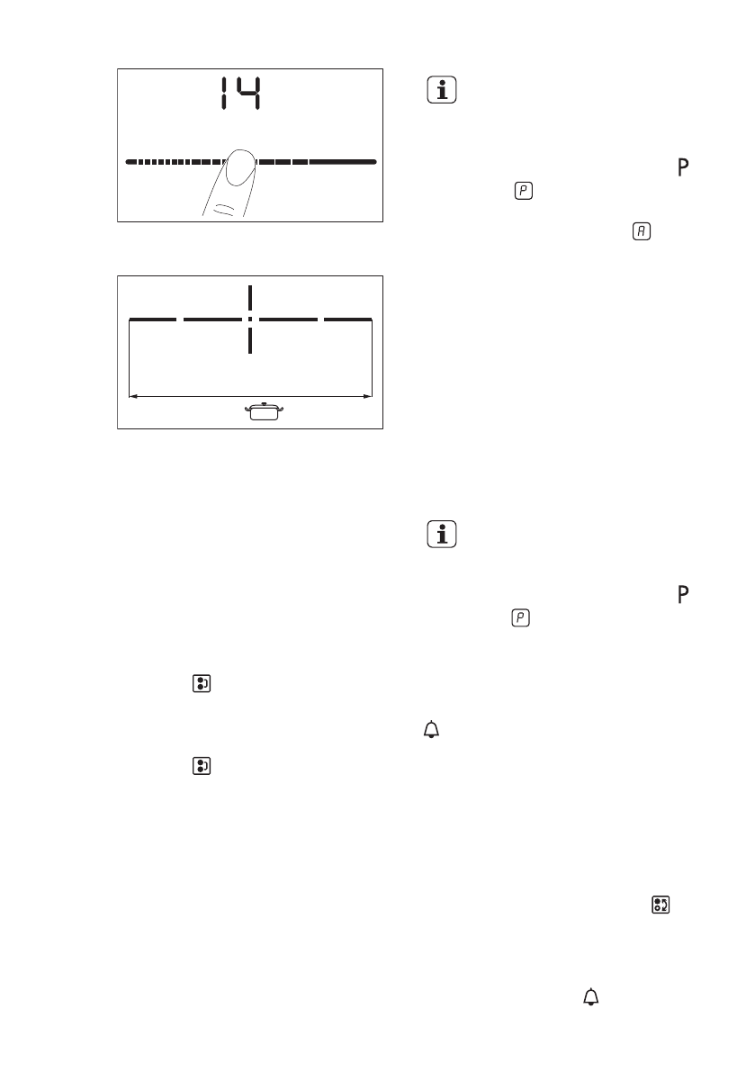
4.4 Индикация конфорок
max.
Горизонтальная линия указывает на
максимальные размеры кухонной
посуды.
См. Главу «Технические данные».
4.5 Функция Bridge
Функция служит для объединения двух
левых конфорок, в результате чего
они работают как одна конфорка.
Сначала следует установить степень
нагрева для одной из левых конфорок.
Чтобы включить эту функцию:
коснитесь . Чтобы задать или
изменить уровень нагрева, коснитесь
одного из сенсоров управления.
Чтобы выключить эту функцию:
коснитесь . Теперь конфорки будут
работать независимо друг от друга.
4.6 Автоматический нагрев
Включение данной функции позволяет
достичь нужного уровня нагрева в
более короткий срок. На некоторое
время функция устанавливает
максимальную мощность нагрева, а
затем уменьшает ее до требуемого
уровня.
Для включения функции
конфорка должна быть
холодной.
Для включения функции для
выбранной конфорки: коснитесь
(высветится ). Сразу же коснитесь
нужного уровня мощности нагрева.
Через 3 секунды высветится .
Чтобы выключить эту функцию:
измените уровень мощности нагрева.
4.7 Клавиша функции
«Бустер»
Данная функция усиливает нагрев на
индукционных конфорках. Функцию
можно включить для индукционной
конфорки только на ограниченный
период времени. По истечении этого
времени индукционная конфорка
автоматически переключается
обратно на максимальный уровень
мощности.
См. Главу «Технические
данные».
Для включения функции для
выбранной конфорки: коснитесь .
Высветится .
Чтобы выключить эту функцию:
измените уровень мощности нагрева.
4.8 Таймер
Таймер обратного отсчета
Данная функция используется для
отсчета продолжительности работы
конфорки за один цикл приготовления.
Сначала выберите конфорку, а
затем установите данную
функцию.Выбор функции «Таймер»
возможен для включенных конфорок с
заданным уровнем нагрева.
Выбор конфорки: нажмите на
несколько раз до тех пор, пока не
загорится индикатор,
соответствующий необходимой
конфорке. Когда данная функция
включена, загорается .
РУССКИЙ
51
Содержание
- 43 возможностями
- 44 Общие правила техники безопасности
- 45 УКАЗАНИЯ ПО БЕЗОПАСНОСТИ; электросети
- 49 Индикаторы ступеней нагрева
- 50 (трехступенчатый индикатор; ЕЖЕДНЕВНОЕ ИСПОЛЬЗОВАНИЕ; выключение; Значение мощности; нагрева
- 51 «Бустер»
- 53 Функция «Защита от; детей»; OffSound Control; (Включение и выключение
- 54 Шум во время работы
- 55 Примеры использования; варочной панели
- 56 Чистка варочной панели
- 57 ПОИСК И УСТРАНЕНИЕ НЕИСПРАВНОСТЕЙ
- 60 Если решение найти не; Серийный; Встраиваемые варочные; панели; Установка прокладки
- 62 Установка более одной
- 63 ТЕХНИЧЕСКИЕ ДАННЫЕ; Табличка с техническими; данными
- 64 Спецификация конфорок; ЭНЕРГОЭФФЕКТИВНОСТЬ; электроэнергии
- 65 ОХРАНА ОКРУЖАЮЩЕЙ СРЕДЫ












