Варочная панель Electrolux EQG 4120 BOG (BOZ) - инструкция пользователя по применению, эксплуатации и установке на русском языке. Мы надеемся, она поможет вам решить возникшие у вас вопросы при эксплуатации техники.
Если остались вопросы, задайте их в комментариях после инструкции.
"Загружаем инструкцию", означает, что нужно подождать пока файл загрузится и можно будет его читать онлайн. Некоторые инструкции очень большие и время их появления зависит от вашей скорости интернета.

використання деяких небезпечних
речовин в електричному та
електронному обладнанні (постанова
Кабінета Міністрів України №1057 від 3
грудня 2008р.)
3. ОПИС ВИРОБУ
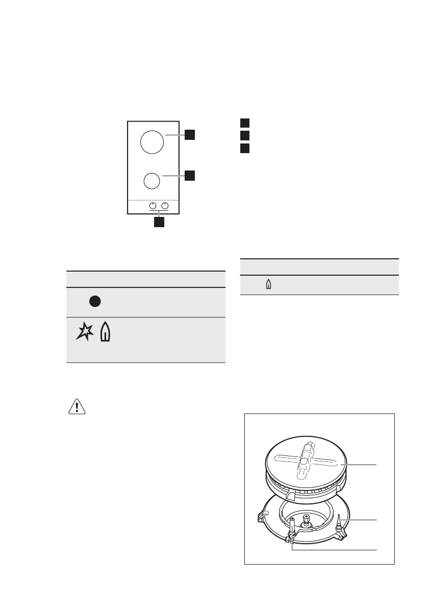
3.1 Оснащення варильної поверхні
1
2
3
1
Швидка конфорка
2
Конфорка середньої швидкості
3
Ручки керування
3.2 Ручка керування
Символ
Опис
відсутня подача газу/
положення «Вимкнено»
положення
запалювання/
максимальна подача
газу
Символ
Опис
мінімальна подача газу
4. ЩОДЕННЕ КОРИСТУВАННЯ
ПОПЕРЕДЖЕННЯ!
Див. розділи з інформацією
щодо техніки безпеки.
4.1 Огляд конфорки
A
B
C
УКРАЇНСЬКА
45
Содержание
- 21 возможностями
- 22 Общие правила техники безопасности
- 23 УКАЗАНИЯ ПО БЕЗОПАСНОСТИ
- 24 электросети; Подключение к газовой; магистрали
- 26 Функциональные элементы варочной панели
- 27 ЕЖЕДНЕВНОЕ ИСПОЛЬЗОВАНИЕ; Общий вид горелки
- 28 Выключение горелки
- 29 Подставки для посуды
- 30 ПОИСК И УСТРАНЕНИЕ НЕИСПРАВНОСТЕЙ
- 31 Если решение найти не; Название
- 32 Подключение к газовой
- 33 минимального уровня
- 35 Установка более одной; варочной панели
- 36 Возможности встраивания
- 37 ТЕХНИЧЕСКИЕ ДАННЫЕ; Размеры варочной панели; горелок и форсунки; ЭНЕРГОЭФФЕКТИВНОСТЬ
- 38 Экономия электроэнергии; ОХРАНА ОКРУЖАЮЩЕЙ СРЕДЫ