Варочная панель Electrolux EHO 6832 FOG - инструкция пользователя по применению, эксплуатации и установке на русском языке. Мы надеемся, она поможет вам решить возникшие у вас вопросы при эксплуатации техники.
Если остались вопросы, задайте их в комментариях после инструкции.
"Загружаем инструкцию", означает, что нужно подождать пока файл загрузится и можно будет его читать онлайн. Некоторые инструкции очень большие и время их появления зависит от вашей скорости интернета.

0:48
D
E
A
B
C
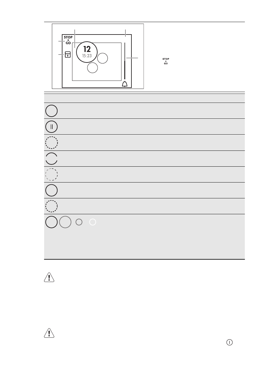
A)
Пісіру алаңдары
B)
Power-off timer
C)
Minute Minder индикаторы
D)
Түймешік бекітпесі функциясы іске
қосылады.
E)
функциясы жұмыс істейді.
Бейнебеттегі пісіру алаңы
Сипаттама
12
15:23
Пісіру алаңы жұмыс істейді. Жоғары: қызу параметрі, төмен:
таймер.
Keep Warm / STOP+GO функциясы жұмыс істейді.
P
Power Boost іске қосылады.
POWER
Power Boost жұмыс істейді.
6
Алаң параметрі реттеліп тұр.
?
Пісіру алаңында ешбір ыдыс жоқ.
A
Автоматты түрде қыздыру функциясы жұмыс істейді.
OptiHeat Control. Пісіру алаңы сөндірулі. Өлшем мен түс
қалдық қызуды көрсетеді:
• Үлкен қызыл - әлі пісіп жатыр
• Үлкен қызғылт - жылы ұстау
• Кішкене сары - әлі ыстық
• Кішкене сұры - пісіру алаңы суық
3.4 Қалдық қызу
Назарыңызда болсын!
Пісіру циклінен кейін пісіру алаңы
ыстық болып тұрады. Күйіп қалу қаупі
бар!
Индукция арқылы пісіретін алаңдар, тағам
пісіруге қажетті қызуды ыдыстың түбіне тура
бағыттайды. Ыдыстың қызуы пештің керамика
бетін қыздырады.
4. ӘРКҮНДІК ҚОЛДАНУ
Назарыңызда болсын!
Қауіпсіздік тарауларын қараңыз.
4.1 Қосу және сөндіру
Құрылғыны қосу немесе сөндіру үшін
белгісін 1 секунд басыңыз.
8
www.electrolux.com
Содержание
- 38 ПОДДЕРЖКА ПОТРЕБИТЕЛЕЙ И СЕРВИСНОЕ ОБСЛУЖИВАНИЕ
- 40 УКАЗАНИЯ ПО БЕЗОПАСНОСТИ
- 41 Подключение к электросети
- 43 Функциональные элементы панели управления
- 45 ЕЖЕДНЕВНОЕ ИСПОЛЬЗОВАНИЕ; Автоматическое отключение
- 50 Примеры приготовления
- 52 ПОИСК И УСТРАНЕНИЕ НЕИСПРАВНОСТЕЙ
- 54 Встраиваемые приборы
- 56 ТЕХНИЧЕСКИЕ ДАННЫЕ