Варочная панель Electrolux EHL 96740 FZ - инструкция пользователя по применению, эксплуатации и установке на русском языке. Мы надеемся, она поможет вам решить возникшие у вас вопросы при эксплуатации техники.
Если остались вопросы, задайте их в комментариях после инструкции.
"Загружаем инструкцию", означает, что нужно подождать пока файл загрузится и можно будет его читать онлайн. Некоторые инструкции очень большие и время их появления зависит от вашей скорости интернета.

4.4 Пісіру алаңының
индикаторы
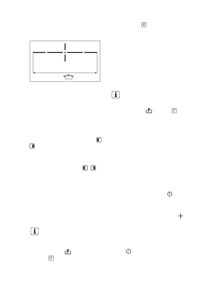
Көлденең сызық ыдыстың ең үлкен
өлшемін көрсетеді.
max.
“Техникалық ақпарат” тарауын
қараңыз.
4.5 Bridge функциясы
Бұл функция екі пісіру алаңын өзара
қосады да, олар бір пісіру алаңы
тәрізді жұмыс істейді.
Алдымен пісіру алаңдарының біріне
қызу параметрін орнатыңыз.
Функцияны сол/оң жақ пісіру
алаңдары үшін қосқыңыз келсе: /
түймешігін басыңыз. Қызу
параметрін орнату немесе өзгерту
үшін сол/оң жақ басқару
сенсорларының бірін түртіңіз.
Функцияны сөндіру үшін: /
түймешігін басыңыз. Пісіру алаңдары
дербес жұмыс істейді.
4.6 Автоматты түрде қыздыру
Егер осы функцияны іске қоссаңыз,
қысқа уақыт ішінде қажетті қызу
параметріне қол жеткізесіз. Бұл
функция біраз уақыт қыздыру
параметрінің ең жоғары мәнін
орнатады да, содан кейін дұрыс
қыздыру параметріне дейін түсіреді.
Бұл функцияны іске қосу
үшін, пісіру алаңы суық
болуы керек.
Функцияны пісіру алаңы үшін
қосқыңыз келсе:
түймешігін
басыңыз ( жанады). Жарамды
қыздыру параметрін дереу басыңыз. 5
секундтан кейін жанады.
Функцияны сөндіру үшін: қызу
параметрін өзгертіңіз.
4.7 Қуат функциясы
Бұл функция индукциялық пісіру
алаңдарына көп қуат береді. Бұл
функцияны индукциялық пісіру алаңы
үшін уақытын шектеп қосуға болады.
Осы уақыт аяқталғаннан кейін,
индукциялық пісіру алаңы автоматты
түрде ең үлкен қызу параметріне
қойылады.
“Техникалық ақпарат”
тарауын қараңыз.
Функцияны пісіру алаңы үшін
қосқыңыз келсе:
басыңыз.
жанады.
Функцияны сөндіру үшін: қызу
параметрін өзгертіңіз.
4.8 Таймер
Кері санақ таймері
Бұл функцияны қолданып пісіру
алаңының бір пісіру циклы кезінде
қанша уақыт жұмыс істейтінін
көрсетіңіз.
Алдымен пісіру алаңын, содан
кейін функцияны орнатыңыз. Қызу
параметрін функцияны орнатпай
тұрып немесе орнатып болғаннан
кейін орнатуға болады.
Пісіру алаңын орнату үшін:
түймешігін қажетті пісіру алаңының
индикаторы жанғанша, қайта-қайта
басыңыз.
Функцияны қосу үшін: Таймердің
түймешігін басып, уақытты (00 - 99
минут) орнатыңыз. Пісіру алаңының
индикаторы баяу жыпылықтай
бастаған кезде, уақыт кері санала
бастайды.
Қалған уақытты қарау үшін: пісіру
алаңын арқылы орнатыңыз. Пісіру
алаңының индикаторы жылдам
www.electrolux.com
10
Содержание
- 24 возможностями
- 25 Общие правила техники безопасности
- 26 УКАЗАНИЯ ПО БЕЗОПАСНОСТИ; электросети
- 30 Индикаторы ступеней нагрева
- 31 (трехступенчатый индикатор; ЕЖЕДНЕВНОЕ ИСПОЛЬЗОВАНИЕ; выключение; Значение мощности; нагрева
- 32 «Бустер»
- 34 Функция «Защита от; детей»; (Включение и выключение
- 35 Шум во время работы
- 36 Примеры использования; варочной панели
- 37 Чистка варочной панели
- 38 ПОИСК И УСТРАНЕНИЕ НЕИСПРАВНОСТЕЙ
- 41 Если решение найти не; Серийный; Встраиваемые варочные; панели
- 43 ТЕХНИЧЕСКИЕ ДАННЫЕ; Табличка с техническими; данными
- 44 Спецификация конфорок; ЭНЕРГОЭФФЕКТИВНОСТЬ
- 45 электроэнергии; ОХРАНА ОКРУЖАЮЩЕЙ СРЕДЫ