Варочная панель Electrolux EHI 9855 HFK - инструкция пользователя по применению, эксплуатации и установке на русском языке. Мы надеемся, она поможет вам решить возникшие у вас вопросы при эксплуатации техники.
Если остались вопросы, задайте их в комментариях после инструкции.
"Загружаем инструкцию", означает, что нужно подождать пока файл загрузится и можно будет его читать онлайн. Некоторые инструкции очень большие и время их появления зависит от вашей скорости интернета.

переміщайте палець вздовж панелі
керування, доки не буде вибрано
належний ступінь нагріву.
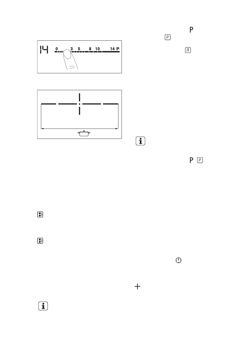
4.4 Індикатори зон нагрівання
max.
Горизонтальна лінія показує
максимальний розмір посуду.
Див. розділ «Технічна інформація».
4.5 Функція Bridge
Ця функція поєднує дві ліві зони
нагрівання, і вони працюють як одна
зона нагрівання.
Спочатку встановіть ступінь нагрівання
для однієї з лівих зон нагрівання.
Щоб увімкнути функцію, торкніться
. Щоб встановити або змінити
ступінь нагрівання, торкніться однієї з
сенсорних кнопок.
Щоб вимкнути функцію, торкніться
. Зони нагрівання почнуть
працювати окремо.
4.6 Автоматичне нагрівання
Якщо ця функція ввімкнена, можна
швидше отримати потрібний ступінь
нагріву. Функція на певний час
встановлює найвищий ступінь нагріву,
а потім знижує його до належного
рівня.
Щоб увімкнути цю функцію,
зона нагрівання має бути
холодною.
Щоб увімкнути функцію для зони
нагрівання: торкніться
(загорається ). Одразу торкніться
належного ступеня нагрівання. Через
3 секунди засвітиться .
Щоб вимкнути функцію: змініть
ступінь нагріву.
4.7 Функція додаткової
потужності
Ця функція забезпечує індукційні зони
нагрівання додатковою потужністю.
Функцію можна ввімкнути для однієї
індукційної зони нагрівання лише на
обмежений період часу. Після цього
індукційна зона нагрівання
автоматично перемикається на
найвищий ступінь нагрівання.
Див. розділ «Технічна
інформація».
Щоб увімкнути функцію для зони
нагрівання: торкніться .
засвітиться.
Вимкнення функції. Змініть ступінь
нагріву.
4.8 Таймер
Таймер зворотного відліку часу
За допомогою цієї функції можна
встановити час, упродовж якого зона
нагрівання працюватиме протягом
одного сеансу готування.
Спочатку виберіть зону нагрівання,
потім виберіть функцію. Ступінь
нагрівання можна встановити до або
після налаштування функції.
Щоб встановити зону нагрівання,
торкніться кнопки декілька разів,
доки не засвітиться індикатор
потрібної зони нагрівання.
Щоб увімкнути функцію, торкніться
на таймері для встановлення часу
(00–99 хвилин). Коли індикатор зони
нагрівання починає блимати повільно,
відбувається зворотний відлік часу.
Щоб дізнатися, скільки часу
залишилося, встановіть зону
УКРАЇНСЬКА
35
Содержание
- 3 возможностями
- 4 Общие правила техники безопасности
- 5 УКАЗАНИЯ ПО БЕЗОПАСНОСТИ; электросети
- 9 Индикаторы ступеней нагрева
- 10 (трехступенчатый индикатор; ЕЖЕДНЕВНОЕ ИСПОЛЬЗОВАНИЕ; выключение; Значение мощности; нагрева
- 11 «Бустер»
- 13 Функция «Защита от; детей»; OffSound Control; (Включение и выключение
- 16 варочной панели
- 17 Указания и рекомендации; по использованию функции
- 18 Чистка варочной панели
- 19 ПОИСК И УСТРАНЕНИЕ НЕИСПРАВНОСТЕЙ
- 21 Если решение найти не
- 22 Серийный; Встраиваемые варочные; панели
- 24 ТЕХНИЧЕСКИЕ ДАННЫЕ; Табличка с техническими; данными; Спецификация конфорок; ЭНЕРГОЭФФЕКТИВНОСТЬ
- 25 электроэнергии; ОХРАНА ОКРУЖАЮЩЕЙ СРЕДЫ












