Варочная панель Electrolux EHI 96540 FW - инструкция пользователя по применению, эксплуатации и установке на русском языке. Мы надеемся, она поможет вам решить возникшие у вас вопросы при эксплуатации техники.
Если остались вопросы, задайте их в комментариях после инструкции.
"Загружаем инструкцию", означает, что нужно подождать пока файл загрузится и можно будет его читать онлайн. Некоторые инструкции очень большие и время их появления зависит от вашей скорости интернета.

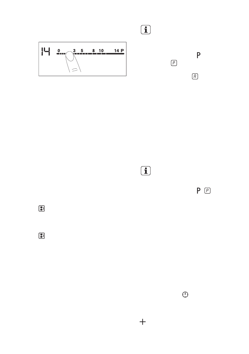
переміщайте палець вздовж панелі
керування, доки не буде вибрано
належний ступінь нагріву.
4.4 Використання зон
нагрівання
Поставте посуд на хрест/квадрат,
розташований на поверхні для
готування. Посуд повинен повністю
покривати хрест/квадрат зони
нагрівання. Індукційні зони нагрівання
автоматично пристосовуються до
розміру дна посуду. Ви можете
готувати у великому посуді на двох
зонах нагрівання одночасно.
4.5 Функція Bridge
Ця функція поєднує дві ліві зони
нагрівання, і вони працюють як одна
зона нагрівання.
Спочатку встановіть ступінь нагрівання
для однієї з лівих зон нагрівання.
Щоб увімкнути функцію, торкніться
. Щоб встановити або змінити
ступінь нагрівання, торкніться однієї з
сенсорних кнопок.
Щоб вимкнути функцію, торкніться
. Зони нагрівання почнуть
працювати окремо.
Якщо використовується лише одна
зона нагрівання з пари,
рекомендується задіяти задню зону
нагрівання. Також, якщо
використовується великий посуд,
рекомендується розміщувати його
ближче до задньої зони нагрівання.
4.6 Автоматичне нагрівання
Якщо ця функція ввімкнена, можна
швидше отримати потрібний ступінь
нагріву. Функція на певний час
встановлює найвищий ступінь нагріву,
а потім знижує його до належного
рівня.
Щоб увімкнути цю функцію,
зона нагрівання має бути
холодною.
Щоб увімкнути функцію для зони
нагрівання: торкніться
(загорається ). Одразу торкніться
належного ступеня нагрівання. Через
3 секунди засвітиться .
Щоб вимкнути функцію: змініть
ступінь нагріву.
4.7 Функція додаткової
потужності
Ця функція забезпечує індукційні зони
нагрівання додатковою потужністю.
Функцію можна ввімкнути для однієї
індукційної зони нагрівання лише на
обмежений період часу. Після цього
індукційна зона нагрівання
автоматично перемикається на
найвищий ступінь нагрівання.
Див. розділ «Технічна
інформація».
Щоб увімкнути функцію для зони
нагрівання: торкніться .
засвітиться.
Вимкнення функції. Змініть ступінь
нагріву.
4.8 Таймер
Таймер зворотного відліку часу
За допомогою цієї функції можна
встановити час, упродовж якого зона
нагрівання працюватиме протягом
одного сеансу готування.
Спочатку виберіть зону нагрівання,
потім виберіть функцію. Ступінь
нагрівання можна встановити до або
після налаштування функції.
Щоб встановити зону нагрівання,
торкніться кнопки декілька разів,
доки не засвітиться індикатор
потрібної зони нагрівання.
Щоб увімкнути функцію, торкніться
на таймері для встановлення часу
(00–99 хвилин). Коли індикатор зони
УКРАЇНСЬКА
53
Характеристики
Остались вопросы?Не нашли свой ответ в руководстве или возникли другие проблемы? Задайте свой вопрос в форме ниже с подробным описанием вашей ситуации, чтобы другие люди и специалисты смогли дать на него ответ. Если вы знаете как решить проблему другого человека, пожалуйста, подскажите ему :)












