Варочная панель Electrolux EHI 8543 F9W - инструкция пользователя по применению, эксплуатации и установке на русском языке. Мы надеемся, она поможет вам решить возникшие у вас вопросы при эксплуатации техники.
Если остались вопросы, задайте их в комментариях после инструкции.
"Загружаем инструкцию", означает, что нужно подождать пока файл загрузится и можно будет его читать онлайн. Некоторые инструкции очень большие и время их появления зависит от вашей скорости интернета.

7.2 Kui lahendust ei leidu...
Kui te ei suuda probleemile ise lahendust
leida, siis võtke ühendust edasimüüja või
teeninduskeskusega. Andke teada
andmesildil olevad andmed. Esitage ka
kolmekohaline tähtedest koosnev
klaaskeraamika kood (selle leiate
klaasplaadi nurgast) ja kuvatud
veateade. Mõelge, kas olete pliiti
kindlasti õigesti kasutanud. Kui seadet
on valesti kasutatud, ei tarvitse
teeninduse tehniku või edasimüüja töö
isegi garantiiajal tasuta olla. Teenindust
ja garantiitingimusi puudutavad juhised
leiate garantiibrošüürist.
8. PAIGALDAMINE
HOIATUS!
Vt ohutust käsitlevaid
peatükke.
8.1 Enne paigaldamist
Enne pliidi paigaldamist kirjutage üles
alltoodud andmed, mis on ära toodud
andmesildil. Andmesilt asub seadme
korpuse põhjal.
Seerianumber ............
8.2 Integreeritud pliidid
Integreeritud pliiti võib kasutada alles
pärast seda, kui see on paigutatud
sobivasse standardile vastavasse
sisseehitatud mööblisse ja tööpinda.
8.3 Ühenduskaabel
• Pliidi juurde kuulub ka
ühenduskaabel.
• Asendage rikutud toitejuhe ainult
varuosadena pakutava kaabliga.
Pöörduge lähimasse
teeninduskeskusse.
HOIATUS!
Kõik elektriühendused peab
teostama kvalifitseeritud
elektrik.
ETTEVAATUST!
Ärge juhtmeotsi puurige ega
jootke. See on rangelt
keelatud!
ETTEVAATUST!
Ärge ühendage ilma
kaabliotsa muhvita kaablit.
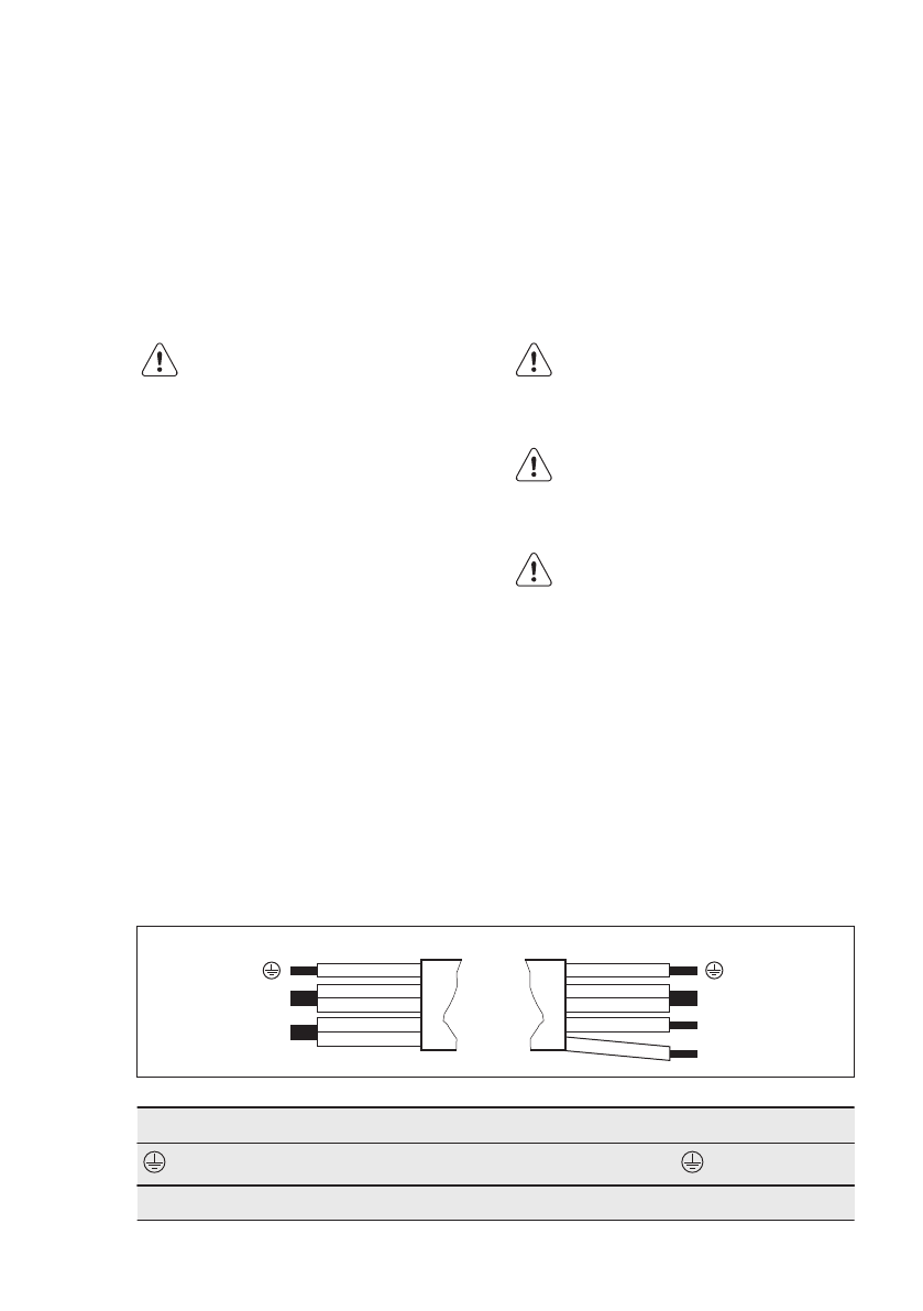
Kahefaasiline ühendus
1. Eemaldage kaabliotsa muhvid
mustadelt ja pruunidelt juhtmetelt.
2. Eemaldage pruunide ja mustade
kaabliotste isolatsioon.
3. Kinnitage iga kaabli otsa uus 1,5
mm² kaabliotsa muhv. (Vaja läheb
spetsiaalset tööriista.)
Kaabli ristlõige
N
L1
N
L
230V~
400V 2~N
L2
Ühefaasiline ühendus – 230 V~
Kahefaasiline ühendus – 400 V 2 ~ N
Roheline – kollane
Roheline – kollane
N
Sinine ja hall
Sinine ja hall
N
www.electrolux.com
16
Содержание
- 42 возможностями
- 43 Общие правила техники безопасности
- 44 УКАЗАНИЯ ПО БЕЗОПАСНОСТИ; электросети
- 48 Индикаторы ступеней нагрева
- 49 (трехступенчатый индикатор; ЕЖЕДНЕВНОЕ ИСПОЛЬЗОВАНИЕ; выключение; Значение мощности; нагрева
- 50 «Бустер»
- 52 Функция «Защита от; детей»; OffSound Control; (Включение и выключение; Ограничение мощности
- 53 управления мощностью
- 54 варочной панели
- 56 Чистка варочной панели; ПОИСК И УСТРАНЕНИЕ НЕИСПРАВНОСТЕЙ
- 58 Если решение найти не
- 59 Серийный; Встраиваемые варочные; панели
- 62 ТЕХНИЧЕСКИЕ ДАННЫЕ; Табличка с техническими; данными; Спецификация конфорок; ЭНЕРГОЭФФЕКТИВНОСТЬ
- 63 электроэнергии; ОХРАНА ОКРУЖАЮЩЕЙ СРЕДЫ












