Варочная панель Electrolux EHI 6832 FOG - инструкция пользователя по применению, эксплуатации и установке на русском языке. Мы надеемся, она поможет вам решить возникшие у вас вопросы при эксплуатации техники.
Если остались вопросы, задайте их в комментариях после инструкции.
"Загружаем инструкцию", означает, что нужно подождать пока файл загрузится и можно будет его читать онлайн. Некоторые инструкции очень большие и время их появления зависит от вашей скорости интернета.

F
G
B
A
C
D
E
A)
Keeduväljad
B)
Automatic Counter
C)
Power-off timer
D)
Minute Minder
E)
Minute Minder -indikaator
F)
Lukufunktsioon on sees.
G)
Funktsioon on sees.
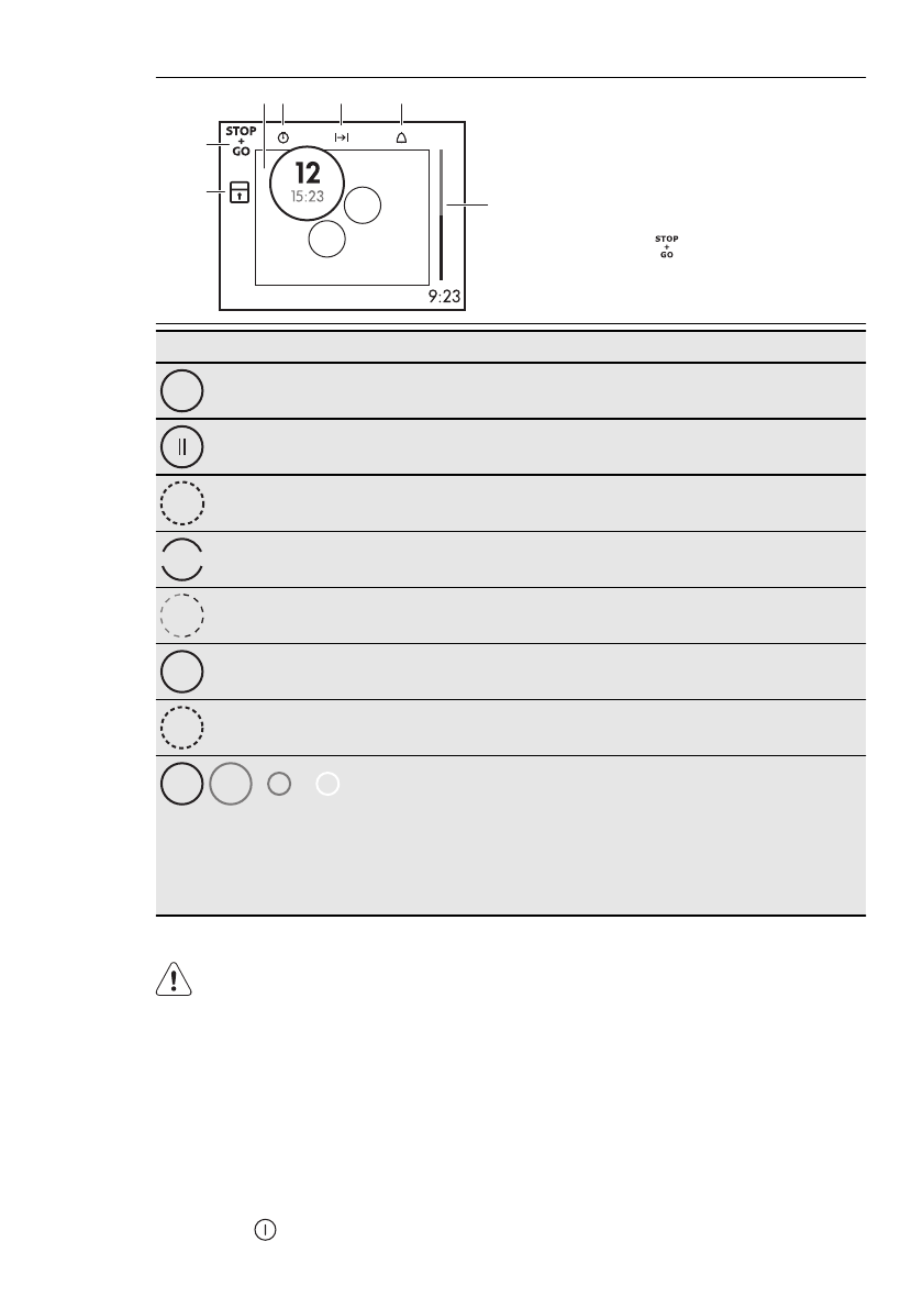
Keeduväli ekraanil
Kirjeldus
12
15:23
Keeduväli on sisse lülitatud. Ülemine: soojusaste, alumine: tai‐
mer.
Keep Warm / Stop+Go-funktsioon on sisse lülitatud.
P
Power Boost on sisse lülitatud.
POWER
Power Boost on sisse lülitatud.
6
Keeduvälja reguleerimine.
?
Keeduväljal ei ole keedunõud.
A
Automaatne kiirsoojenduse funktsioon on sisse lülitatud.
OptiHeat Control. Keeduväli on väljas. Suurus ja värvid tähista‐
vad jääkkuumust:
• Suur punane - keeduväli sisse lülitatud
• Suur helepunane - soojashoidmine
• Väike helepunane - ikka veel kuum
• Väike valge - keeduväli on külm
3.3 Jääkkuumus
HOIATUS
Pärast toiduvalmistuse lõppemist jää‐
vad keeduväljad ikka veel kuumaks.
Nahapõletusoht!
Induktsiooniga keeduväljad toodavad vajalikku
kuumust keedunõude põhjas. Klaaskeraamika
soojeneb nõu soojuse tõttu.
4. IGAPÄEVANE KASUTAMINE
4.1 Sisse- ja väljalülitamine
Seadme sisse- või väljalülitamiseks puudutage 1
sekundi vältel .
4.2 Automaatne väljalülitus
Funktsioon seiskab seadme automaatselt, kui:
• Kõik keeduväljad on välja lülitatud.
EESTI
7












