Варочная панель Electrolux EHF96346XK - инструкция пользователя по применению, эксплуатации и установке на русском языке. Мы надеемся, она поможет вам решить возникшие у вас вопросы при эксплуатации техники.
Если остались вопросы, задайте их в комментариях после инструкции.
"Загружаем инструкцию", означает, что нужно подождать пока файл загрузится и можно будет его читать онлайн. Некоторые инструкции очень большие и время их появления зависит от вашей скорости интернета.

риалы или изделия, пропитанные легково‐
спламеняющимися веществами.
ВНИМАНИЕ!
Существует риск повреждения при‐
бора.
• Не ставьте на панель управления горячую
кухонную посуду.
• Не позволяйте жидкости полностью выки‐
пать из посуды.
• Не допускайте падения на поверхность
прибора каких-либо предметов или кухон‐
ной посуды. Это может привести к ее по‐
вреждению.
• Не включайте конфорки без кухонной посу‐
ды или с пустой кухонной посудой.
• Не кладите на прибор алюминиевую фоль‐
гу.
• Стеклянную или стеклокерамическую по‐
верхность можно поцарапать, передвигая
по нему чугунную или алюминиевую посу‐
ду, а также посуду с поврежденным дном.
При перемещении подобных предметов
обязательно поднимайте их с варочной по‐
верхности.
2.3 Уход и очистка
ВНИМАНИЕ!
Существует риск повреждения при‐
бора.
• Во избежание повреждения покрытия ва‐
рочной панели производите его регуляр‐
ную очичтку.
• Не используйте для очистки прибора пода‐
ваемую под давлением воду или пар.
• Протирайте прибор мягкой влажной тряп‐
кой. Используйте только нейтральные мою‐
щие средства. Не используйте абразивные
средства, царапающие губки, растворители
или металлические предметы.
2.4 Утилизация
ВНИМАНИЕ!
Существует опасность травмы или
удушья.
• Для получения информации о том, как на‐
длежит утилизировать данный прибор, об‐
ратитесь в местные муниципальные органы
власти.
• Отключите прибор от электросети.
• Отрежьте и утилизируйте кабель электро‐
питания.
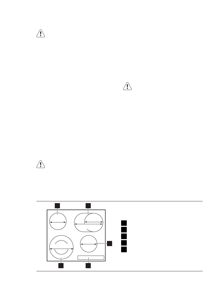
3. ОПИСАНИЕ ИЗДЕЛИЯ
1
2
4
5
3
120/210 mm
145 mm
170 mm
265 mm
145 mm
1
Конфорка
2
Конфорка
3
Конфорка
4
Панель управления
5
Конфорка
РУССКИЙ
19