Варочная панель Electrolux EHF 96547 IW - инструкция пользователя по применению, эксплуатации и установке на русском языке. Мы надеемся, она поможет вам решить возникшие у вас вопросы при эксплуатации техники.
Если остались вопросы, задайте их в комментариях после инструкции.
"Загружаем инструкцию", означает, что нужно подождать пока файл загрузится и можно будет его читать онлайн. Некоторые инструкции очень большие и время их появления зависит от вашей скорости интернета.

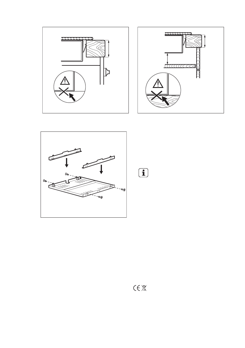
min.
28 mm
min.
12 mm
min.
20 mm
8.5 Қорғаныс қорабы
Егер қорғаныс қорабын қолдансаңыз
(қосымша керек-жарақ), пештің
астыңғы жағына қорғаныш тақтасын
орнатудың қажет жоқ. Керек-жарақ
болып есептелетін қорғаныс қорабы
кей елдерде берілмеуі мүмкін.
Жергілікті жабдықтаушыға
хабарласыңыз.
Егер құрылғыны
тұмшапештің үстіне
орнатсаңыз, қорғаныс
қорабын пайдалана
алмайсыз.
9. ТЕХНИКАЛЫҚ АҚПАРАТ
9.1 Техникалық ақпарат
тақтайшасы
Үлгі EHF96547IW
Өнім нөмірі PNC 949 596 266 00
Түрі 58 HAD 56 AO
220 - 240 В 50 - 60 Гц
Германияда жасалған
Сер.№. .................
7.1 кВт
ELECTROLUX
ҚАЗАҚ
17
Характеристики
Остались вопросы?Не нашли свой ответ в руководстве или возникли другие проблемы? Задайте свой вопрос в форме ниже с подробным описанием вашей ситуации, чтобы другие люди и специалисты смогли дать на него ответ. Если вы знаете как решить проблему другого человека, пожалуйста, подскажите ему :)












