Варочная панель Electrolux EHD 60125 P - инструкция пользователя по применению, эксплуатации и установке на русском языке. Мы надеемся, она поможет вам решить возникшие у вас вопросы при эксплуатации техники.
Если остались вопросы, задайте их в комментариях после инструкции.
"Загружаем инструкцию", означает, что нужно подождать пока файл загрузится и можно будет его читать онлайн. Некоторые инструкции очень большие и время их появления зависит от вашей скорости интернета.

6
electrolux
Èíäèêàöèÿ
Èíäèêàöèÿ îñòàòî÷íîãî òåïëà
1
Ïðåäóïðåæäåíèå!
Ñóùåñòâóåò
îïàñíîñòü îæîãà èç-çà îñòàòî÷íîãî
òåïëà. Ïîñëå âûêëþ÷åíèÿ êîíôîðêàì
òðåáóåòñÿ íåêîòîðîå âðåìÿ, ÷òîáû
îñòûòü. Îáðàùàéòå âíèìàíèå íà
èíäèêàòîð îñòàòî÷íîãî òåïëà
.
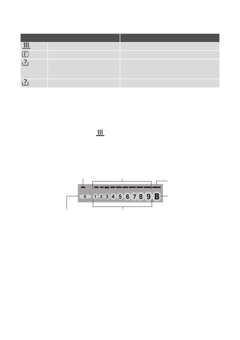
Îáñëóæèâàþùàÿ ïàíåëü
Óñòàíîâêà ñòóïåíè íàãðåâà è ôóíêöèè
“Power” âûïîëíÿåòñÿ ñ ïîìîùüþ ïîëîñû
óïðàâëåíèÿ. Èíäèêàòîð ñòóïåíè íàãðåâà
ñîñòîèò èç öåïî÷êè ñâåòîâûõ ýëåìåíòîâ.
3
Åñëè ïîëîñà óïðàâëåíèÿ áóäåò
îñòàâàòüñÿ íàæàòîé áîëåå 6 ñåêóíä,
ïðîçâó÷èò çâóêîâîé ñèãíàë, è ïðèáîð
îòêëþ÷èòñÿ.
Èíäóêöèîííûå êîíôîðêè
ïðîèçâîäÿò
íåîáõîäèìîå äëÿ ïðèãîòîâëåíèÿ ïèùè
òåïëî íåïîñðåäñòâåííî â äíèùå ïîñóäû.
Ñòåêëîêåðàìèêó íàãðåâàåò òîëüêî
îñòàòî÷íîå òåïëî ïîñóäû.
Âåíòèëÿòîð
àâòîìàòè÷åñêè âêëþ÷àåòñÿ èëè
îòêëþ÷àåòñÿ â çàâèñèìîñòè îò òåìïåðàòóðû
ýëåêòðîíèêè.
Èíäèêàöèÿ
Çíà÷åíèå
Îñòàòî÷íîå òåïëî
Êîíôîðêà åùå íå îñòûëà
+ ÷èñëî Îøèáêà
Ñðàáîòàëà îøèáî÷íàÿ ôóíêöèÿ
Ðàñïîçíàâàíèå êàñòðþëè
Ïîñóäà äëÿ ïðèãîòîâëåíèÿ ïèùè
íåïðèãîäíà ïî êà÷åñòâó, ñëèøêîì ìàëà èëè
íå óñòàíîâëåíà íà êîíôîðêó.
àâòîìàòè÷åñêîå îòêëþ÷åíèå
îòêëþ÷åíèå àêòèâèðîâàíî
Èíäèêàòîð ôóíêöèè
“Power”
Èíäèêàöèÿ ãîòîâíîñòè
âàðî÷íîé çîíû
Ôóíêöèÿ “Power”
Èíäèêàöèÿ ñòóïåíè íàãðåâà
Âûáîð ñòóïåíè íàãðåâà
Âàðî÷íàÿ çîíà
âûêëþ÷åíà