Варочная панель Electrolux EHD 60015 P - инструкция пользователя по применению, эксплуатации и установке на русском языке. Мы надеемся, она поможет вам решить возникшие у вас вопросы при эксплуатации техники.
Если остались вопросы, задайте их в комментариях после инструкции.
"Загружаем инструкцию", означает, что нужно подождать пока файл загрузится и можно будет его читать онлайн. Некоторые инструкции очень большие и время их появления зависит от вашей скорости интернета.

=
=
490
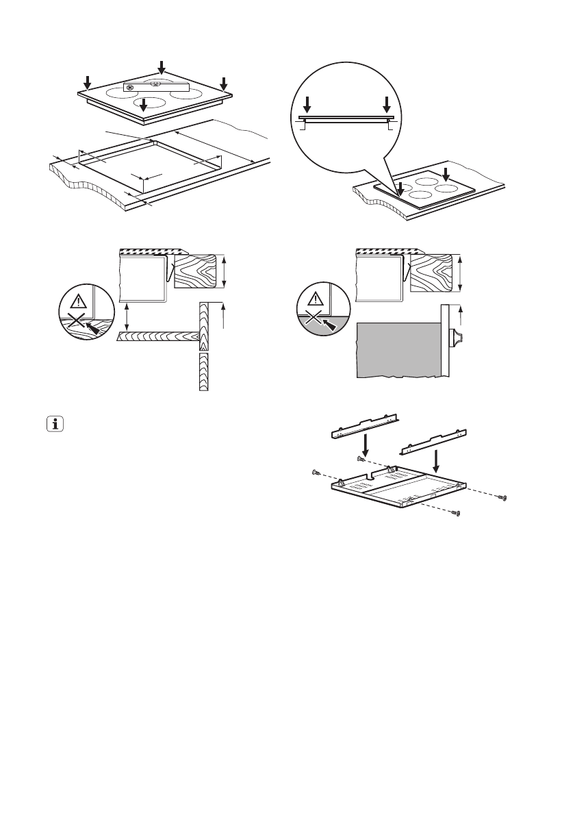
+1mm
560
+1mm
600
mm
R 5
mm
min.
25 mm
min.
5 mm
min.
20 mm
min.
38 mm
min.
5 mm
В
случае
использования
защитного
короба
(
дополнительная
принад
-
лежность
2)
),
фронтальный
5-
мм
вентиляционный
зазор
и
защита
по
-
ла
под
прибором
не
являются
обя
-
зательными
.
В
случае
установки
прибора
над
ду
-
ховым
шкафом
использование
за
-
щитного
экрана
невозможно
.
2)
В
ряде
стран
защитный
короб
может
отсутствовать
в
списке
доступных
дополнительных
принад
-
лежностей
.
Обратитесь
к
своему
поставщику
.
16
electrolux