Варочная панель Electrolux EGV96343YK - инструкция пользователя по применению, эксплуатации и установке на русском языке. Мы надеемся, она поможет вам решить возникшие у вас вопросы при эксплуатации техники.
Если остались вопросы, задайте их в комментариях после инструкции.
"Загружаем инструкцию", означает, что нужно подождать пока файл загрузится и можно будет его читать онлайн. Некоторые инструкции очень большие и время их появления зависит от вашей скорости интернета.

8.5 Подключение к
электросети
• Проверьте, чтобы напряжение и
тип электропитания, указанные на
табличке с техническими
характеристиками, соответствовали
напряжению и типу электропитания
в местной электросети.
• В комплект поставки прибора
входит сетевой кабель. Его следует
оборудовать вилкой, способной
выдерживать нагрузку, указанную
на табличке с техническими
данными. Убедитесь в правильном
выборе розетки, к которой
подключается вилка.
• Включайте прибор только в
установленную надлежащим
образом электророзетку с
защитным контактом.
• Убедитесь, что после установки
имеется доступ к вилке.
• Для отключения прибора от
электросети не тяните за кабель
электропитания. Всегда беритесь
за саму вилку.
• В случае подключения прибора
через удлинитель, переходник или
тройник существует опасность
возгорания. Убедитесь, что
заземление отвечает действующим
нормам и правилам.
• На всем протяжении сетевого
кабеля ни один из его участков не
должен подвергаться нагреву
более 90°C.
Убедитесь, что голубой
провод нейтрали
подключен к контакту
клемммной колодки,
помеченному буквой «N».
Подключите коричневый
(или черный) фазовый
провод к контакту
клеммной колодки,
помеченному буквой «L».
Фазовый провод всегда
должен быть подключен.
8.6 Сетевой шнур
При замене сетевого шнура
используйте только специальный
кабель или кабель с эквивалентными
характеристиками. Тип кабеля: H05SS-
FT180.
Удостоверьтесь, что провод имеет
сечение, допускающее его
использование при данном
напряжении и рабочей температуре.
Желто-зеленый провод заземления
должен быть примерно на 2 см
длиннее коричневого (или черного)
провода, идущего на фазу.
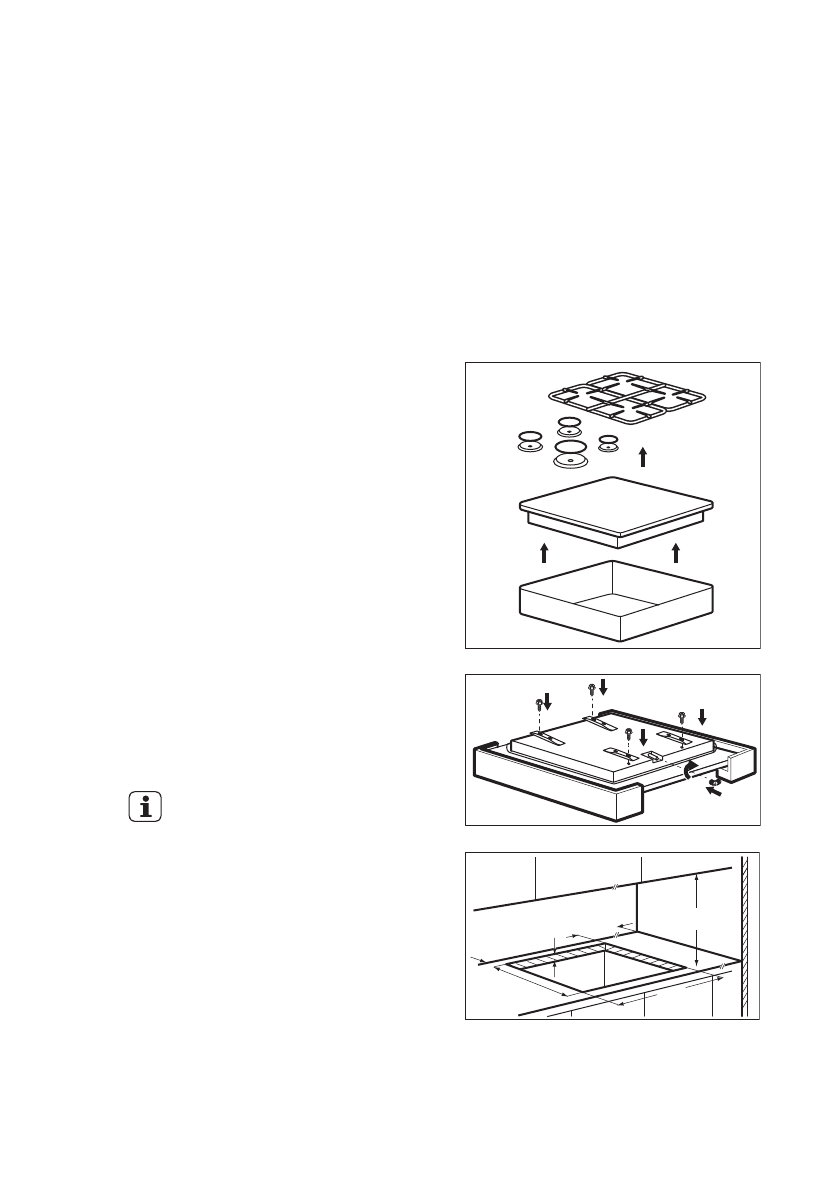
8.7 Сборка
1.
2.
3.
min.
55 mm
min.
650 mm
560 mm
480 mm
min.
150 mm
30 mm
www.electrolux.com
18
Содержание
- 3 возможностями
- 4 Общие правила техники безопасности
- 5 УКАЗАНИЯ ПО БЕЗОПАСНОСТИ
- 6 электросети
- 7 Подключение к газовой; магистрали
- 9 Функциональные элементы варочной панели; ЕЖЕДНЕВНОЕ ИСПОЛЬЗОВАНИЕ
- 10 Общий вид горелки
- 11 для сковороды Вок
- 13 Снятие подставок для; посуды; Чистка варочной панели
- 14 ПОИСК И УСТРАНЕНИЕ НЕИСПРАВНОСТЕЙ
- 15 Если решение найти не; пакет с принадлежностями
- 16 Подключение к газовой
- 17 минимального уровня
- 19 Возможности встраивания; ТЕХНИЧЕСКИЕ ДАННЫЕ; Размеры варочной панели
- 21 ОХРАНА ОКРУЖАЮЩЕЙ СРЕДЫ













