Варочная панель Electrolux EGT 96343 LK - инструкция пользователя по применению, эксплуатации и установке на русском языке. Мы надеемся, она поможет вам решить возникшие у вас вопросы при эксплуатации техники.
Если остались вопросы, задайте их в комментариях после инструкции.
"Загружаем инструкцию", означает, что нужно подождать пока файл загрузится и можно будет его читать онлайн. Некоторые инструкции очень большие и время их появления зависит от вашей скорости интернета.

• Щоб отримати інформацію про належну
утилізацію приладу, слід звернутися до ор‐
ганів муніципальної влади.
• Відключіть прилад від електромережі.
• Відріжте кабель живлення і викиньте його.
• Сплющте зовнішні газові труби.
Цей продукт по змісту небезпечних речовин
відповідає вимогам Технічного регламенту
обмеження використання деяких небезпечних
речовин в електричному та електронному
обладнанні (постанова Кабінета Міністрів
України №1057 від 3 грудня 2008р.)
3. ОПИС ВИРОБУ
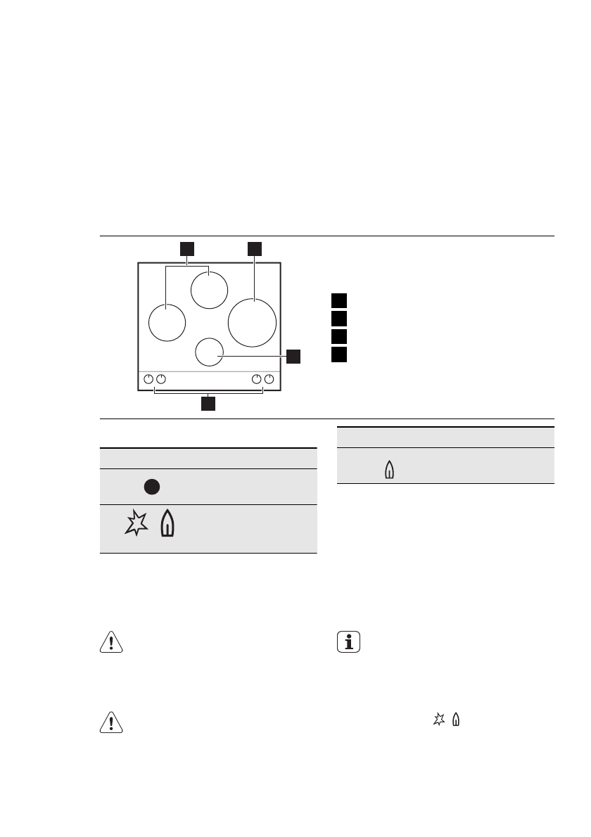
3.1 Оснащення варильної поверхні
1
2
3
4
1
Конфорка середньої швидкості
2
Конфорка «потрійна корона»
3
Допоміжна конфорка
4
Ручки керування
3.2 Ручки керування
Символ
Опис
відсутня подача га‐
зу / вимкнено
положення запалю‐
вання / максималь‐
на подача газу
Символ
Опис
мінімальна подача
газу
4. ЩОДЕННЕ КОРИСТУВАННЯ
Попередження!
Див. розділи з інформацією щодо тех‐
ніки безпеки.
4.1 Запалювання конфорки
Попередження!
Будьте дуже обережні, користуючись
відкритим вогнем на кухні. Виробник
не несе жодної відповідальності в
разі неправильного поводження з во‐
гнем.
Завжди запалюйте конфорку перед
тим, як ставити на неї посуд.
Запалювання конфорки
1.
Втисніть ручку керування і поверніть її
проти годинникової стрілки у максималь‐
не положення ( ).
2.
Утримуйте ручку керування натиснутою
приблизно 10 с, щоб термопара встигла
прогрітися. В іншому разі подача газу
припиниться.
38 www.electrolux.com
Содержание
- 17 ПОДДЕРЖКА ПОТРЕБИТЕЛЕЙ И СЕРВИСНОЕ ОБСЛУЖИВАНИЕ
- 20 УКАЗАНИЯ ПО БЕЗОПАСНОСТИ; Подключение к электросети
- 21 Подключение к газовой магистрали
- 22 Функциональные элементы варочной панели
- 23 ЕЖЕДНЕВНОЕ ИСПОЛЬЗОВАНИЕ
- 24 Выключение горелки
- 26 ПОИСК И УСТРАНЕНИЕ НЕИСПРАВНОСТЕЙ
- 27 принадлежностями
- 28 Сжиженный газ
- 30 ТЕХНИЧЕСКИЕ ДАННЫЕ
- 32 ОХРАНА ОКРУЖАЮЩЕЙ СРЕДЫ