Варочная панель Electrolux EGS6436SX - инструкция пользователя по применению, эксплуатации и установке на русском языке. Мы надеемся, она поможет вам решить возникшие у вас вопросы при эксплуатации техники.
Если остались вопросы, задайте их в комментариях после инструкции.
"Загружаем инструкцию", означает, что нужно подождать пока файл загрузится и можно будет его читать онлайн. Некоторые инструкции очень большие и время их появления зависит от вашей скорости интернета.

3.6 Під’єднання до
електромережі
• Переконайтеся, що номінальна
напруга й тип електроенергії на
табличці з технічними даними
відповідають параметрам
електромережі у вашій оселі.
• Прилад постачається з
електричним кабелем. Він повинен
постачатися з відповідною вилкою,
розрахованою на навантаження,
зазначене на табличці з технічними
даними. Вилку необхідно вставляти
у пристосовану розетку.
• Завжди використовуйте правильно
встановлену протиударну розетку.
• Переконайтеся, що після
встановлення до розетки
електроживлення є вільний доступ.
• Не тягніть за кабель живлення, щоб
відключити прилад з мережі.
Завжди вимикайте, витягаючи
штепсельну вилку.
• Ризик пожежі виникає при
під’єднанні приладу за допомогою
подовжувача, адаптера чи
паралельному під’єднанні.
Переконайтеся в тому, що
заземлення відповідає стандартам і
положенням.
• Кабель живлення не повинен
нагріватись до температури понад
90 °C.
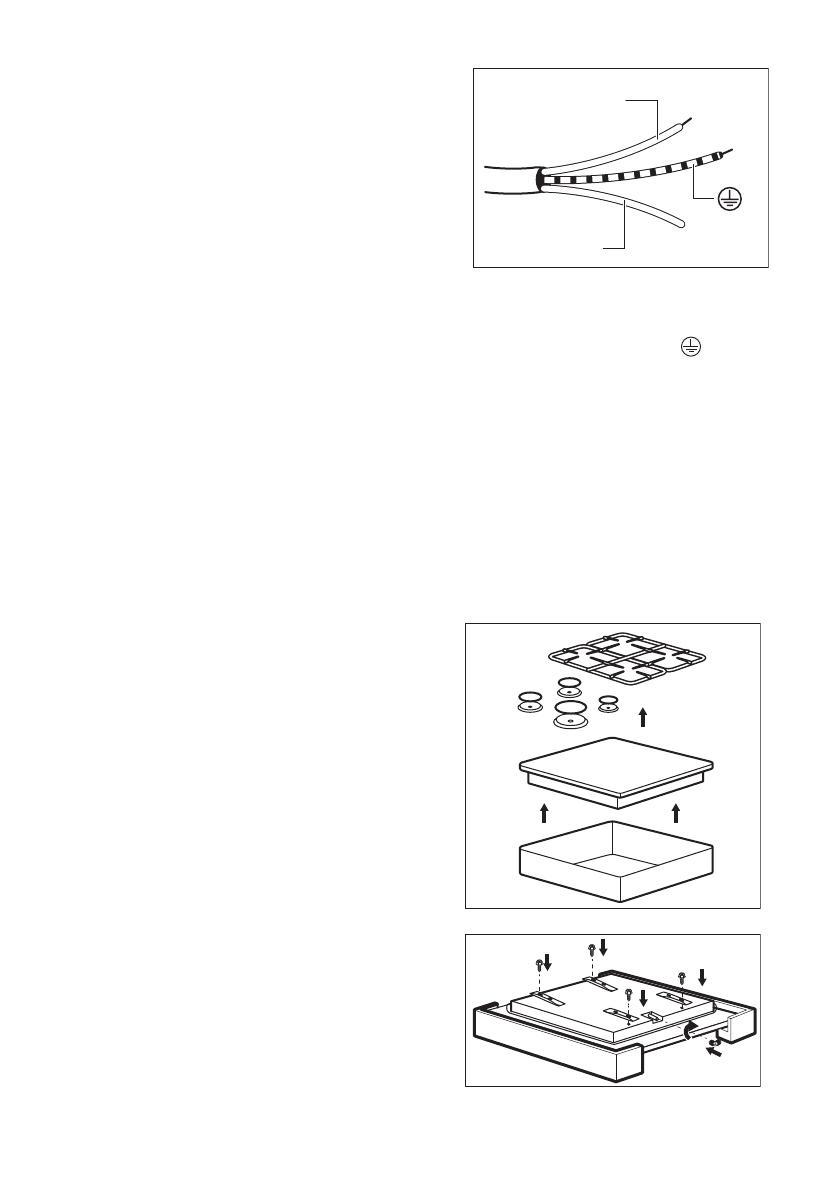
3.7 З’єднувальний кабель
Під час заміни з’єднувального кабелю
використовуйте тільки спеціальний
кабель або його еквівалент. Тип
кабелю: H03V2V2-F T90.
Переконайтеся в тому, що перетин
кабелю може застосовуватися до
передбаченої напруги й робочої
температури. Жовтий або зелений дріт
заземлення повинен бути приблизно
на 2 см довший, ніж коричневий або
чорний дріт фази.
L
N
1. Підключіть зелений і жовтий дроти
(заземлення) до виходу,
позначеного буквою «E»,
символом заземлення ( ) або
забарвленого в зелений і жовтий
кольори.
2. Підключіть синій дріт
(нейтральний) до виходу,
позначеного буквою «N» або
забарвленого в синій колір.
3. Підключіть коричневий дріт (під
напругою) до виходу, позначеного
буквою «L». Він має бути завжди
під'єднаний до фази мережі.
3.8 Складання
1.
2.
www.electrolux.com
32
Содержание
- 3 Безопасность детей и лиц с ограниченными; возможностями
- 4 Общая безопасность
- 5 УКАЗАНИЯ ПО БЕЗОПАСНОСТИ
- 6 электросети
- 7 Подключение к линии; подачи газа
- 9 Подключение к газовой; магистрали
- 13 Возможности встраивания
- 14 Функциональные элементы варочной поверхности; ЕЖЕДНЕВНОЕ ИСПОЛЬЗОВАНИЕ; Общий вид горелки
- 16 Выключение горелки
- 17 Держатели для посуды
- 18 поверхности; Очистка свечи зажигания; ПОИСК И УСТРАНЕНИЕ НЕИСПРАВНОСТЕЙ
- 19 Если решение найти не; пакет с принадлежностями
- 20 ТЕХНИЧЕСКИЕ ДАННЫЕ; Размеры варочной панели
- 21 Газовые горелки для ПРИРОДНОГО ГАЗА G20 13 мбар; ЭНЕРГЕТИЧЕСКАЯ ЭФФЕКТИВНОСТЬ
- 22 Экономия электроэнергии; ОХРАНА ОКРУЖАЮЩЕЙ СРЕДЫ
Характеристики
Остались вопросы?Не нашли свой ответ в руководстве или возникли другие проблемы? Задайте свой вопрос в форме ниже с подробным описанием вашей ситуации, чтобы другие люди и специалисты смогли дать на него ответ. Если вы знаете как решить проблему другого человека, пожалуйста, подскажите ему :)












