Варочная панель Electrolux EGG56342NX - инструкция пользователя по применению, эксплуатации и установке на русском языке. Мы надеемся, она поможет вам решить возникшие у вас вопросы при эксплуатации техники.
Если остались вопросы, задайте их в комментариях после инструкции.
"Загружаем инструкцию", означает, что нужно подождать пока файл загрузится и можно будет его читать онлайн. Некоторые инструкции очень большие и время их появления зависит от вашей скорости интернета.

3. ОПИСАНИЕ ИЗДЕЛИЯ
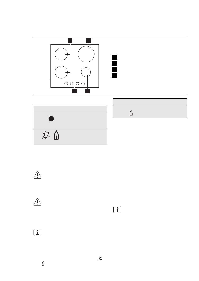
3.1 Функциональные элементы варочной панели
2
3
4
1
1
Горелка для ускоренного приготовления
2
Горелка повышенной мощности
3
Вспомогательная горелка
4
Ручки управления
3.2 Ручки управления
Символ
Описание
отсутствует подача
газа / положение
ВЫКЛ
положение розжи‐
га / максимальной
подачи газа
Символ
Описание
минимальная пода‐
ча газа
4. ЕЖЕДНЕВНОЕ ИСПОЛЬЗОВАНИЕ
ВНИМАНИЕ!
См. Главу «Сведения по технике
безопасности».
4.1 Розжиг горелки
ВНИМАНИЕ!
Будьте внимательны при использова‐
нии открытого огня на кухне. Изгото‐
витель не несет ответственность в
случае неправильного обращения с
огнем.
Всегда зажигайте горелку прежде
чем поставить на нее посуду.
Поджиг горелки:
1.
Нажмите на соответствующую кнопку
управления и поверните ее против часо‐
вой стрелки в позицию максимума (
).
2.
Удерживайте ручку управления нажатой
в течение 10 или более секунд; это необ‐
ходимо, чтобы термопара нагрелась. В
противном случае подача газа будет пре‐
кращена.
3.
Отрегулируйте пламя после того, как оно
станет равномерным.
Если после нескольких попыток раз‐
жечь горелку не удалось, проверьте
правильность положения рассекате‐
ля и крышки горелки.
РУССКИЙ
7
Содержание
- 2 ПОДДЕРЖКА ПОТРЕБИТЕЛЕЙ И СЕРВИСНОЕ ОБСЛУЖИВАНИЕ
- 4 УКАЗАНИЯ ПО БЕЗОПАСНОСТИ; Подключение к электросети
- 5 Подключение к газовой магистрали
- 7 Функциональные элементы варочной панели; ЕЖЕДНЕВНОЕ ИСПОЛЬЗОВАНИЕ
- 8 Выключение горелки
- 10 ПОИСК И УСТРАНЕНИЕ НЕИСПРАВНОСТЕЙ
- 11 принадлежностями; Подключение к газовой
- 12 B C; Сжиженный газ
- 14 ТЕХНИЧЕСКИЕ ДАННЫЕ
- 16 ОХРАНА ОКРУЖАЮЩЕЙ СРЕДЫ