Варочная панель Electrolux EGG 96343 NK (NR) - инструкция пользователя по применению, эксплуатации и установке на русском языке. Мы надеемся, она поможет вам решить возникшие у вас вопросы при эксплуатации техники.
Если остались вопросы, задайте их в комментариях после инструкции.
"Загружаем инструкцию", означает, что нужно подождать пока файл загрузится и можно будет его читать онлайн. Некоторые инструкции очень большие и время их появления зависит от вашей скорости интернета.

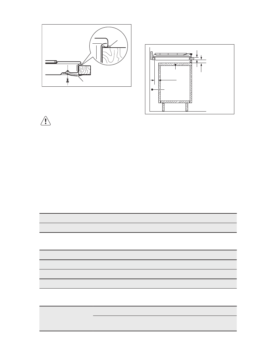
A
B
A) идущая в комплекте
герметизирующая прокладка
B) идущие в комплекте крепежные
скобы
ОСТОРОЖНО!
Варочную панель следует
встраивать только в
столешницу с ровной
поверхностью.
8.8 Возможности встраивания
Панель, установленная под варочной
панелью, должна легко сниматься для
обеспечения доступа к узлам,
нуждающимся в техническом
обслуживании.
Кухонный шкаф с дверцей
min 20 mm
(max 150 mm)
30 mm
60 mm
B
A
A) Съемная панель
B) Пространство для подключения
проводов
Кухонный шкаф с духовым шкафом
Из соображений безопасности, а
также для упрощения процедуры
извлечения духового шкафа из шкафа,
электрические соединения для
варочной панели и духового шкафа
должны быть выполнены раздельно.
9. ТЕХНИЧЕСКИЕ ДАННЫЕ
9.1 Размеры варочной панели
Ширина
594 мм
Глубина
510 мм
9.2 Диаметры обводных клапанов
ГОРЕЛКА
Ø ОБВОДНОГО КЛАПАНА 1/100 ММ
С тройным рассекателем
56
Ускоренного приготовления
32
Вспомогательная
28
9.3 Другие технические данные
ОБЩАЯ
МОЩНОСТЬ:
Газ 1 (Исх.):
G20 (2H) 13 мБар = 9 кВт
Газ 2
(Перенастр.):
G30/G31 (3B/P) 30 мбар = 654 г/час
G20 (2H) 20 мБар = 9 кВт
РУССКИЙ
17
Содержание
- 3 возможностями
- 4 Общие правила техники безопасности
- 5 УКАЗАНИЯ ПО БЕЗОПАСНОСТИ; электросети
- 6 Подключение к газовой; магистрали
- 8 Функциональные элементы варочной панели; ЕЖЕДНЕВНОЕ ИСПОЛЬЗОВАНИЕ
- 9 Общий вид горелки
- 12 ПОИСК И УСТРАНЕНИЕ НЕИСПРАВНОСТЕЙ
- 13 Если решение найти не; пакет с принадлежностями
- 14 Подключение к газовой
- 15 Замена инжекторов; минимального уровня
- 17 Возможности встраивания; ТЕХНИЧЕСКИЕ ДАННЫЕ; Размеры варочной панели
- 19 ОХРАНА ОКРУЖАЮЩЕЙ СРЕДЫ