Варочная панель Electrolux 700 Sense SenseBoil IPES6451WF - инструкция пользователя по применению, эксплуатации и установке на русском языке. Мы надеемся, она поможет вам решить возникшие у вас вопросы при эксплуатации техники.
Если остались вопросы, задайте их в комментариях после инструкции.
"Загружаем инструкцию", означает, что нужно подождать пока файл загрузится и можно будет его читать онлайн. Некоторые инструкции очень большие и время их появления зависит от вашей скорости интернета.

5.5 Використання зон
нагрівання
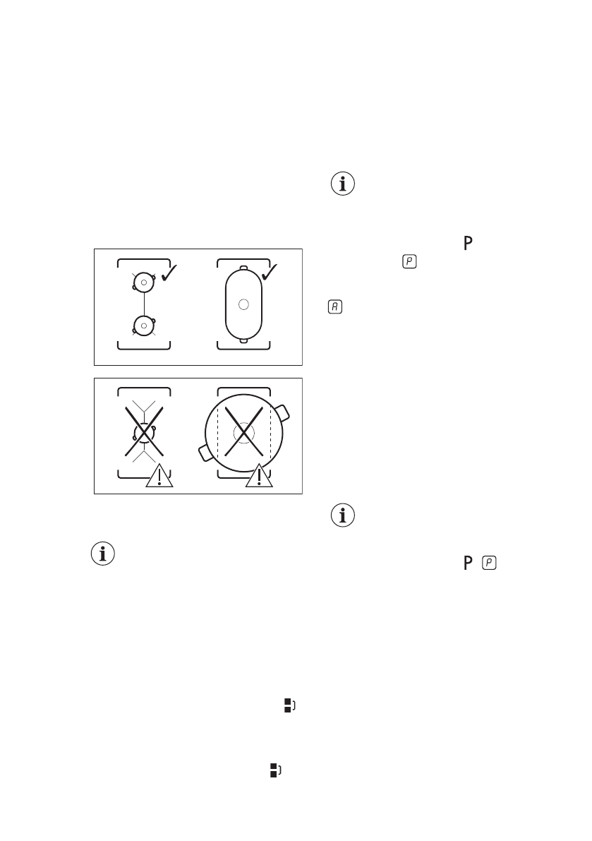
Поставте посуд у центр обраної зони.
Індукційні зони нагрівання
автоматично пристосовуються до
розміру дна посуду.
Ви можете готувати у великому посуді
на двох зонах нагрівання одночасно.
Посуд має накривати центри обох зон,
але не виходити за позначки зони.
Якщо посуд розташовано між двома
центрами, функція Bridge не
активується.
5.6 Bridge
Ця функція працює, лише
коли каструля накриває
центри двох зон. Він не
працює з функцією
SenseBoil®.
Ця функція поєднує дві ліві зони
нагрівання – і вони працюють як одна
зона нагрівання.
Спочатку встановіть ступінь нагрівання
для однієї з лівих зон.
Для активації функції: торкніться .
Щоб установити або змінити ступінь
нагрівання, торкніться однієї із
сенсорних кнопок.
Вимкнення функції: торкніться .
Конфорки почнуть працювати окремо.
5.7 Автоматичне нагрівання
Щоб швидше досягти потрібного
ступеня нагрівання, увімкніть цю
функцію. Коли цю функцію ввімкнено,
зона спочатку використовується з
найвищим ступенем нагрівання, а
потім готування продовжується з
необхідним ступенем нагрівання.
Щоб увімкнути цю функцію,
зона нагрівання має бути
холодною.
Щоб увімкнути функцію для зони
нагрівання: торкніться
(загорається ). Одразу торкніться
кнопки необхідного ступеня
нагрівання. Через 3 секунд загориться
.
Вимкнення функції: змініть ступінь
нагрівання.
5.8 PowerBoost
Ця функція забезпечує індукційні зони
нагрівання додатковою потужністю.
Функцію можна ввімкнути для однієї
індукційної зони нагрівання лише на
обмежений період часу. Після цього
індукційна зона нагрівання
автоматично перемикається на
найвищий ступінь нагрівання.
Див. розділ «Технічні
дані».
Щоб увімкнути функцію для зони
нагрівання: торкніться .
засвітиться.
Вимкнення функції: змініть ступінь
нагрівання.
5.9 Таймер
Таймер зворотного відліку часу
За допомогою цієї функції можна
встановити час, упродовж якого зона
нагрівання працюватиме протягом
одного сеансу готування.
Спочатку встановіть ступінь нагріву
для зони нагрівання, а потім
налаштуйте функцію.
www.electrolux.com
38
Содержание
- 2 ПОДДЕРЖКА ПОТРЕБИТЕЛЕЙ И СЕРВИСНОЕ
- 3 возможностями
- 4 Общие правила техники безопасности
- 5 УКАЗАНИЯ ПО БЕЗОПАСНОСТИ
- 6 электросети
- 8 Серийный; Встраиваемые варочные; панели
- 10 Функциональные элементы варочной поверхности
- 11 Функциональные элементы панели управления
- 12 Индикаторы ступеней нагрева; (трехступенчатый индикатор; ЕЖЕДНЕВНОЕ ИСПОЛЬЗОВАНИЕ; выключение
- 13 Значение мощности; нагрева
- 16 Устройство защиты; детей; OffSound Control; (Включение и отключение; Ограничение мощности
- 17 Управление мощностью
- 18 Шум во время работы
- 19 Указания и рекомендации; по использованию SenseBoil®; Примеры использования; варочной панели
- 21 поверхности; ПОИСК И УСТРАНЕНИЕ НЕИСПРАВНОСТЕЙ
- 24 Если решение найти не; ТЕХНИЧЕСКИЕ ДАННЫЕ; Табличка с техническими; данными; Спецификация конфорок
- 25 ЭНЕРГЕТИЧЕСКАЯ ЭФФЕКТИВНОСТЬ; Сведения об изделии, приведенные в соответствии с EU; 6/2014, действительны только для рынка ЕС
- 26 ОХРАНА ОКРУЖАЮЩЕЙ СРЕДЫ













