Варочная панель Darina P BECI342 005B - инструкция пользователя по применению, эксплуатации и установке на русском языке. Мы надеемся, она поможет вам решить возникшие у вас вопросы при эксплуатации техники.
Если остались вопросы, задайте их в комментариях после инструкции.
"Загружаем инструкцию", означает, что нужно подождать пока файл загрузится и можно будет его читать онлайн. Некоторые инструкции очень большие и время их появления зависит от вашей скорости интернета.

BECI342 005
8
.
.
Варочная
зона
1500
Вт
.
.
Символ
таймера
и
варочных
зон
и
мощности
и
настройки
таймера
ункции
«
бустер
» (
ускоренного
нагрева
)
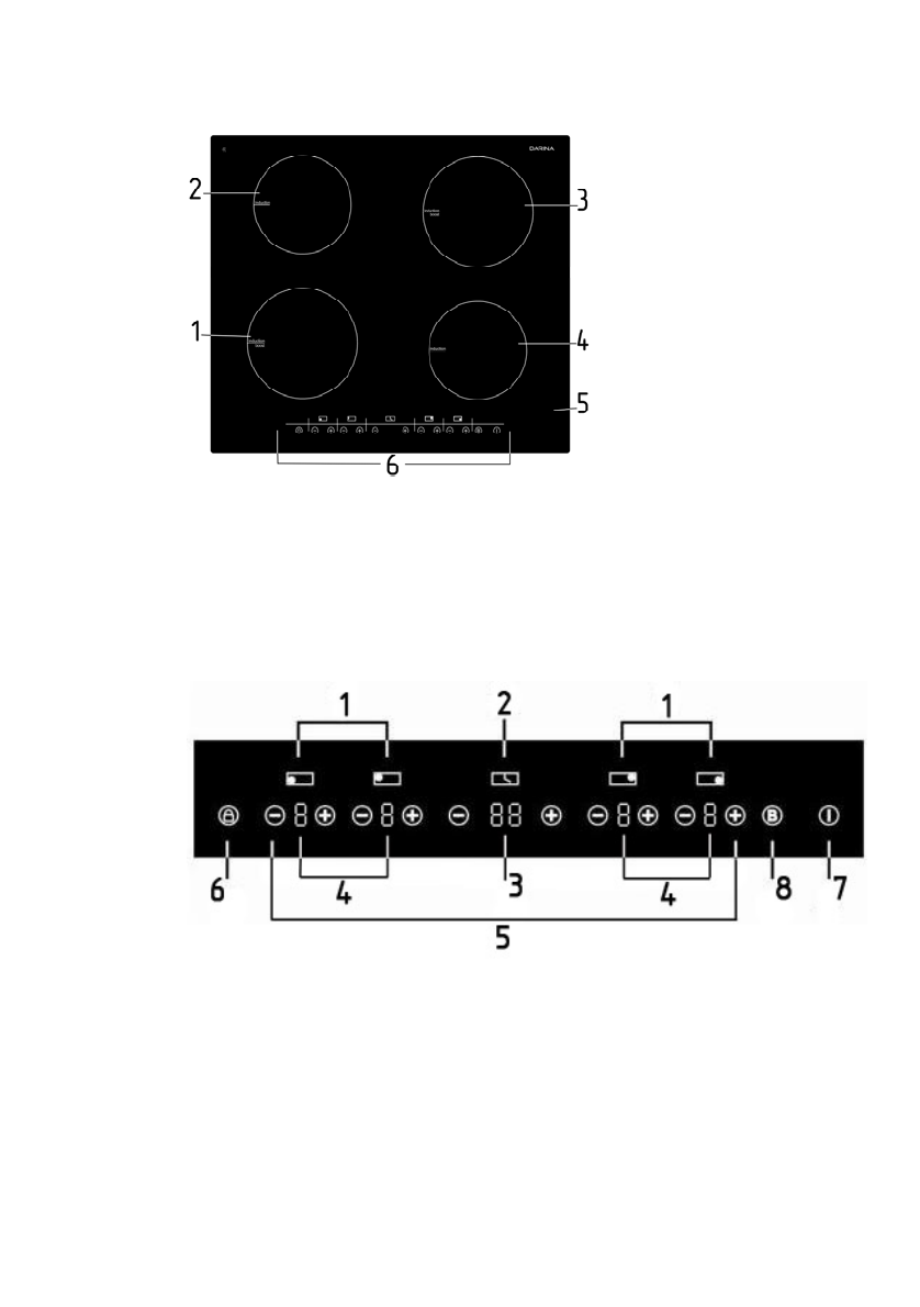
1
Варочная
зона
2000
Вт
, «
бустер
» 2600
Вт
2
3.
Варочная
зона
2000
Вт
, «
бустер
» 2600
Вт
4.
Варочная
зона
1500
Вт
5.
Стеклокерамическая
пластина
6.
Панель
управления
Панель
управления
1
Символы
варочных
зон
2
3.
Дисплей
таймера
4.
Дисплеи
мощност
5.
Кнопки
регулировк
6.
Кнопка
блокировки
7.
Кнопка
«
Вкл
./
Выкл
.»
8.
Кнопка
включения
ф