Варочная панель Darina 1T1 BGC341 12 W - инструкция пользователя по применению, эксплуатации и установке на русском языке. Мы надеемся, она поможет вам решить возникшие у вас вопросы при эксплуатации техники.
Если остались вопросы, задайте их в комментариях после инструкции.
"Загружаем инструкцию", означает, что нужно подождать пока файл загрузится и можно будет его читать онлайн. Некоторые инструкции очень большие и время их появления зависит от вашей скорости интернета.

Руководство по эксплуатации BGС341 00 000 РЭ
5
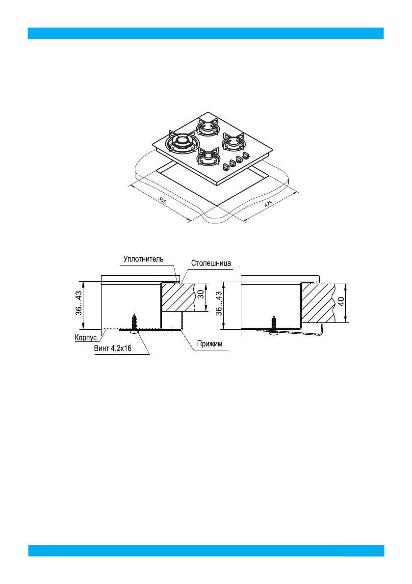
■ Обвести карандашом контуры плиты и извлечь плиту. По краям контура приклеить
уплотнительный материал, для чего, постепенно удаляя защитную пленку с нижней
поверхности уплотнителя и слегка прижимая его к столешнице, обойти по контуру.
■ Аккуратно установить плиту в вырез столешницы.
■ Установить прижимы на корпус, закрепив их винтами (рис.2).
4. ПОДСОЕДИНЕНИЕ
Подключение газа возможно с помощью гибкой подводки.
Перед подключением проверить, соответствуют ли условия подклю-
чения (вид газа и давление газа) настройкам плиты.
Параметры настроек плиты приведены в табличке, расположенной
на задней поверхности плиты и в гарантийных обязательствах.
■ При подключении плиты для создания герметичности следует между рампой и под-
водкой для газа установить прокладку или газовый фильтр. Прокладка или газовый
фильтр находится в пакете с комплектующими.
ПОДСОЕДИНЕНИЕ
рис. 2
!
рис. 1
Характеристики
Остались вопросы?Не нашли свой ответ в руководстве или возникли другие проблемы? Задайте свой вопрос в форме ниже с подробным описанием вашей ситуации, чтобы другие люди и специалисты смогли дать на него ответ. Если вы знаете как решить проблему другого человека, пожалуйста, подскажите ему :)