Варочная панель AEG HG965455SY - инструкция пользователя по применению, эксплуатации и установке на русском языке. Мы надеемся, она поможет вам решить возникшие у вас вопросы при эксплуатации техники.
Если остались вопросы, задайте их в комментариях после инструкции.
"Загружаем инструкцию", означает, что нужно подождать пока файл загрузится и можно будет его читать онлайн. Некоторые инструкции очень большие и время их появления зависит от вашей скорости интернета.

Конфорка
Діаметр пос‐
уду (мм)
Допоміжна
80 - 180
6. ДОГЛЯД ТА ЧИСТКА
ПОПЕРЕДЖЕННЯ!
Див. розділи з інформацією
щодо техніки безпеки.
6.1 Загальна інформація
• Чистьте варильну поверхню після
кожного використання.
• Дно посуду має бути завжди
чистим.
• Подряпини або темні плями на
поверхні не впливають на роботу
варильної поверхні.
• Використовуйте спеціальний засіб
для чищення, що може
використовуватися для даної
варильної поверхні.
• Деталі з іржостійкої сталі промийте
водою, а потім насухо витріть
м’якою ганчіркою.
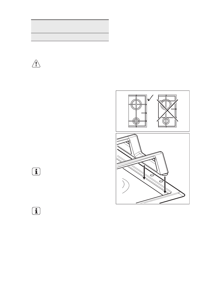
6.2 Підставки для дека
Підставки для дека не
можна мити в
посудомийній машині. Їх
необхідно мити вручну.
1. Зніміть підставки для дека для
зручного миття варильної поверхні.
Будьте дуже обережні,
знімаючи та
встановлюючи
підставки для дека,
щоб запобігти
пошкодженню
варильної поверхні.
2. Будьте обережні під час миття
вручну й витирання підставок для
дека, оскільки емальоване
покриття може іноді мати гострі
краї. Якщо потрібно, видаляйте
стійкі плями пастоподібним
засобом для чищення.
3. Після миття підставок для дека
встановіть їх у належне
положення.
4. Щоб конфорка працювала
правильно, відгалуження підставок
для дека мають знаходитися в
центрі конфорки.
6.3 Чищення варильної
поверхні
• Негайно видаляйте такі типи
забруднень: розплавлену
пластмасу й полімерну плівку, цукор
та залишки страв, що містять цукор.
Якщо цього не зробити, то
забруднення може призвести до
пошкодження варильної поверхні.
Будьте обережні, щоб уникнути
опіків.
• Видаляйте залишки після того, як
прилад достатньо охолоне:
вапняні та водяні розводи, бризки
www.aeg.com
30
Содержание
- 4 Общие правила техники безопасности
- 5 УКАЗАНИЯ ПО БЕЗОПАСНОСТИ
- 8 Функциональные элементы варочной панели
- 9 ЕЖЕДНЕВНОЕ ИСПОЛЬЗОВАНИЕ; Общий вид горелки; B. Рассекатель горелки
- 10 Выключение горелки; ПРЕДУПРЕЖДЕНИЕ
- 11 электроэнергии; Подставки для посуды
- 12 Чистка варочной панели
- 13 ПОИСК И УСТРАНЕНИЕ НЕИСПРАВНОСТЕЙ; Если решение найти не
- 14 пакет с принадлежностями; A. Приклейте на гарантийный талон и; Название; Подключение к газовой
- 16 Тонкой отверткой отрегулируйте; электросети
- 18 встраивания; B. Пространство для подключения; ТЕХНИЧЕСКИЕ ДАННЫЕ; Размеры варочной панели
- 20 мбар; ОХРАНА ОКРУЖАЮЩЕЙ СРЕДЫ
Характеристики
Остались вопросы?Не нашли свой ответ в руководстве или возникли другие проблемы? Задайте свой вопрос в форме ниже с подробным описанием вашей ситуации, чтобы другие люди и специалисты смогли дать на него ответ. Если вы знаете как решить проблему другого человека, пожалуйста, подскажите ему :)













