Увлажнители Supra HDS-105 - инструкция пользователя по применению, эксплуатации и установке на русском языке. Мы надеемся, она поможет вам решить возникшие у вас вопросы при эксплуатации техники.
Если остались вопросы, задайте их в комментариях после инструкции.
"Загружаем инструкцию", означает, что нужно подождать пока файл загрузится и можно будет его читать онлайн. Некоторые инструкции очень большие и время их появления зависит от вашей скорости интернета.

РУКОВОДСТВО ПО ЭКСПЛУАТАЦИИ
• Отключайте прибор, когда бачок для воды пуст.
• Не допускайте замерзания воды в бачке.
• При перемещении увлажнителя беритесь толь
-
ко за основание, при этом поддерживая резер-
вуар для воды.
• Несоблюдение мер предосторожности и безо
-
пасности может привести к порче прибора,
ожогам, травмам, поражению электрическим
током, короткому замыканию или пожару.
• В случае возникновения неисправностей следу
-
ет обращаться в авторизованные сервисные
центры. Неквалифицированный ремонт снима-
ет прибор с гарантийного обслуживания.
• Для ремонта прибора могут быть использова
-
ны только оригинальные запасные части.
• Производитель не несет ответственности за
какие-либо повреждения, возникшие вслед-
ствие неправильного использования прибора
или несоблюдения мер предосторожности и
безопасности.
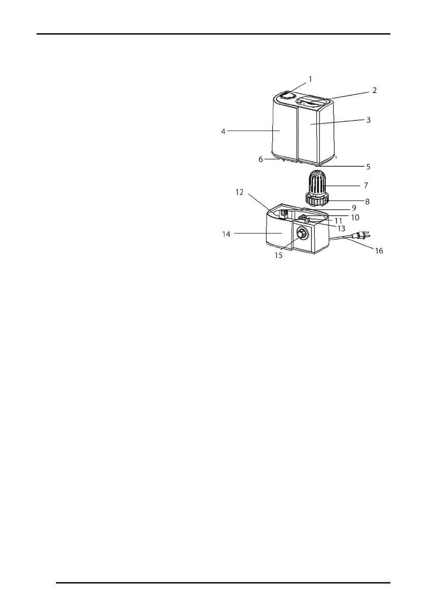
УСТРОЙСТВО ПРИБОРА
1. Распределитель пара
2. Ручка
3. Резервуар для воды
4. Передняя панель резервуара
5. Отверстие для залива воды
6. Ручка для переноски резервуара
7. Кассета керамического фильтра
8. Водный клапан
9. Отверстие для выхода воздуха
10. Фиксатор поплавка
11. Поплавок
12. Фильтр
13. Индикатор
14. Основание прибора
15. Переключатель режимов работы прибора
16. Шнур и вилка электропитания
4