Усилители Yamaha EMX-5014C - инструкция пользователя по применению, эксплуатации и установке на русском языке. Мы надеемся, она поможет вам решить возникшие у вас вопросы при эксплуатации техники.
Если остались вопросы, задайте их в комментариях после инструкции.
"Загружаем инструкцию", означает, что нужно подождать пока файл загрузится и можно будет его читать онлайн. Некоторые инструкции очень большие и время их появления зависит от вашей скорости интернета.

EMX5014C • РУКОВОДСТВО ПОЛЬЗОВАТЕЛЯ
Справочное руководство
20
Панель управления и задняя панель
❸
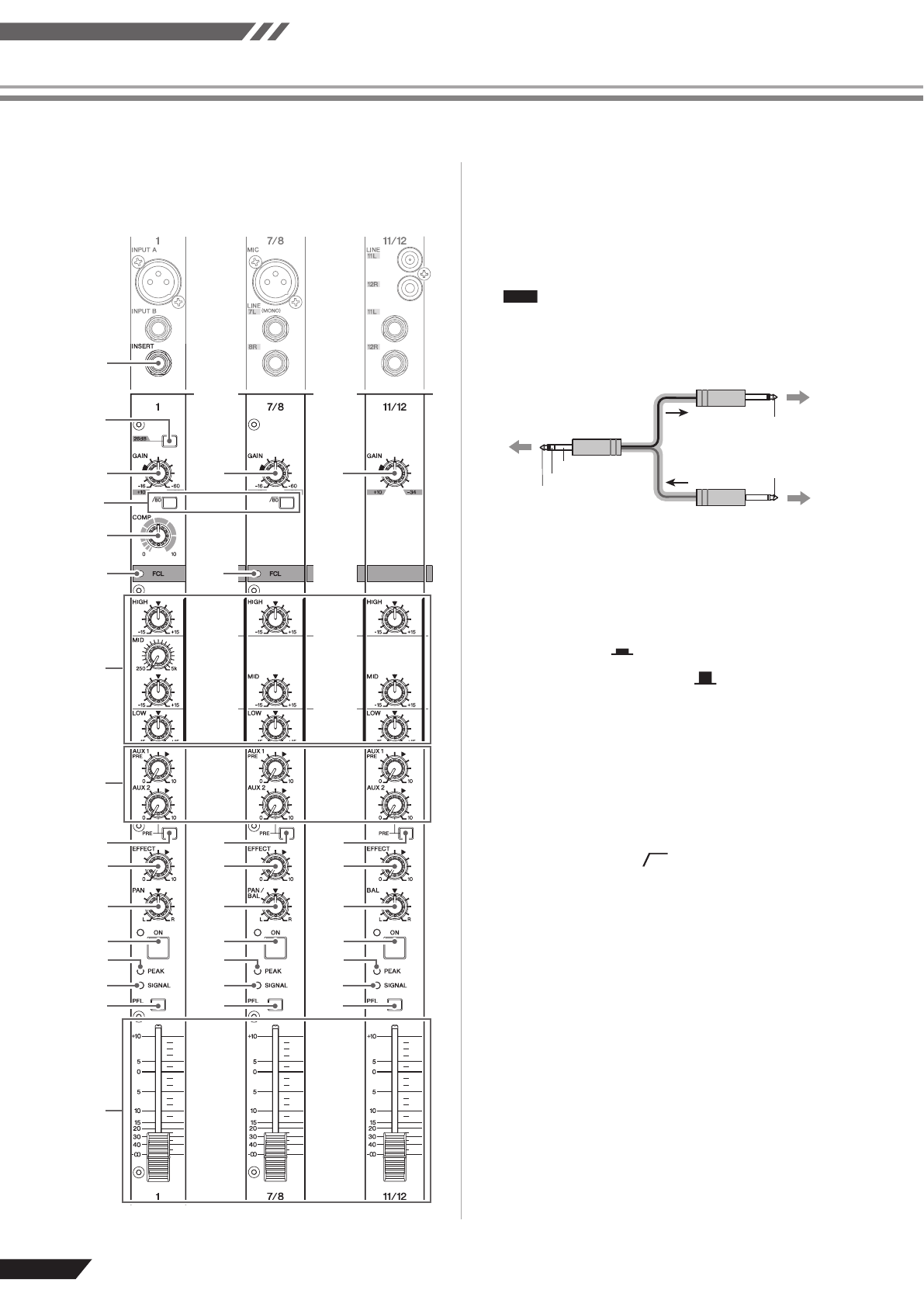
Гнездо INSERT I/O (каналы 1 - 6)
❹
Переключатель [26 дБ] (каналы 1 - 6)
❺
Регулятор GAIN
❻
Переключатель
80
(Фильтр
Высокой Частоты) (каналы 1 – 9/10)
❼
Регулятор COMP (каналы 1 - 6)
Каналы
7/8 и 9/10
(Стерео)
Каналы
11/12 и 13/14
(Стерео)
Каналы
1-6
(Моно)
⓲
❸
⓫
❼
❾
❿
❹
❻
⓬
❺
❺
❺
❽
❽
⓫
⓫
⓬
⓬
⓭
⓭
⓭
⓮
⓮
⓮
⓰
⓱
⓯
⓰
⓱
⓯
⓰
⓱
⓯
Прим.
К входному гнезду
внешнего процессора
К выходному гнезду
внешнего процессора
Sleeve (Ground)
Наконечник:
OUT (выход)
Наконечник:
IN (вход)
К гнезду INSERT I/O
Sleeve (Ground)
Рукав (Земля)
Кольцо: IN (вход)
Наконечник:
OUT (выход)
Каждое из этих гнезд установлено между эквалайзером и
фейдером соответствующего входного канала (1–6). Вы
можете использовать эти гнезда для подключения каналов
к устройствам типа графических эквалайзеров, компрессо-
ров и шумоподавителей. Эти гнезда — TRS (наконечник,
кольцо, рукав) штекерные гнезда, которые поддерживают
двунаправленную операцию.
Подключение к гнезду INSERT I/O требует специально-
го отдельно приобретаемого кабеля вставки — Yamaha
YIC025, YIC050 или YIC070 (см. ниже).
Нажатие этой кнопки включает аттенюатор для каждого ка-
нала, уменьшая входной уровень сигнала на 26 дБ. Если Вы
подключили устройство линейного уровня, типа клавиату-
ры или аудио устройства, установите переключатель канала
в положение ON (
). Если Вы подключили микрофон
или другое устройство микрофонного уровня, установите
переключатель в положение OFF (
).
Регулирует уровень входного сигнала. Чтобы обеспечить
оптимальный баланс между соотношением «сигнал-шум» и
динамическим диапазоном, отрегулируйте уровень сигнала
так, чтобы индикатор PEAK
⓯
загорался только при мак-
симальном уровне входного сигнала. Шкала от —60 до —16
показывает уровень регулировки микрофонного входного
сигнала — MIC. Шкала от —34 до +10 показывает уровень
регулировки линейного входного сигнала — LINE.
Включает/выключает фильтр верхних частот (HPF). На-
жмите кнопку переключателя (*) для включения фильтра.
Фильтр верхних частот отсекает частоты ниже 80 Гц. (Об-
ратите внимание, что независимо от установки переключа-
теля, микшер не применяет этот HPF к линейным входам
стереоканалов.)
Этот регулятор устанавливает уровень компрессии (сжа-
тия) сигнала поступающего на канал. При повороте регу-
лятора вправо, микшер автоматически поднимает коэф-
фициент компрессии, соответственно регулируя выходное
усиление. Результат — более узкий динамический диапазон
из-за смягчения громких сигналов и увеличения общего
уровня.
Старайтесь избегать высоких установок, поскольку боль-
шая компрессия сигнала может привести к значительному
искажению звучания.
Содержание
- 2 ИНСТРУКЦИИ ПО БЕЗОПАСНОСТИ; ПРЕДУПРЕЖДЕНИЕ
- 3 ПРЕДОСТОРОЖНОСТИ; Пожалуйста, внимательно прочтите перед работой; ВНИМАНИЕ
- 4 Руководство Пользователя
- 5 Mixer Basics; Спасибо за приобретение микшер-усилителя Yamaha EMX5014C.
- 6 Характеристики; Подключение питания; Для включения питания нажмите выключатель POWER.
- 7 Краткое руководство; Получение звука на акустической системе; ПРАВИЛЬНО
- 9 Включите переключатель ON; Установите общую громкость Мастер-фейдером ST.
- 10 Добавление реверберации; Установите фейдер EFFECT RTN в положение «0».
- 12 Полнофункциональная работа с микшером; Введение; Штырьковый разъем RCA-типа
- 13 Симметричный и несимметричный сигнал: в чем разница?; Как симметричные линии фильтруют помехи?
- 14 В симметричном кабеле три провода:
- 15 Как сделать микс лучше; Опустите фейдеры
- 16 Использовать ли эквалайзер; Ослабление частот для очистки микса
- 17 Обработка звука; Время Реверберации и Задержки
- 18 Компрессия; Сначала музыка — затем микс
- 19 Панель управления и задняя панель; Контроллеры на каждом канале
- 20 Регулятор GAIN
- 22 Секция цифровых эффектов; Гнездо SEND; Колесо PROGRAM
- 23 Переключатель/Индикатор EFFECT ON
- 26 AUX1 and AUX2 Faders
- 27 Задняя панель; Гнезда SPEAKERS
- 28 Подключение акустических систем; -х канальное подключение
- 29 Установка в рэк-стойку; Как установить крепления
- 30 Подготовка к работе; Панель управления
- 31 Поиск неисправностей
- 33 Технические характеристики; Общие технические характеристики
- 34 Входные характеристики
- 35 Блок-схема и диаграмма уровня



