Усилители Yamaha EMX-312SC - инструкция пользователя по применению, эксплуатации и установке на русском языке. Мы надеемся, она поможет вам решить возникшие у вас вопросы при эксплуатации техники.
Если остались вопросы, задайте их в комментариях после инструкции.
"Загружаем инструкцию", означает, что нужно подождать пока файл загрузится и можно будет его читать онлайн. Некоторые инструкции очень большие и время их появления зависит от вашей скорости интернета.

鄇Ì˚ ÛÔ‡‚ÎÂÌËfl Ë ‡Á˙ÂÏ˚
EMX512SC/EMX312SC/EMX212S
25
ëÂ͈Ëfl ÔËÚ‡ÌËfl POWER
P
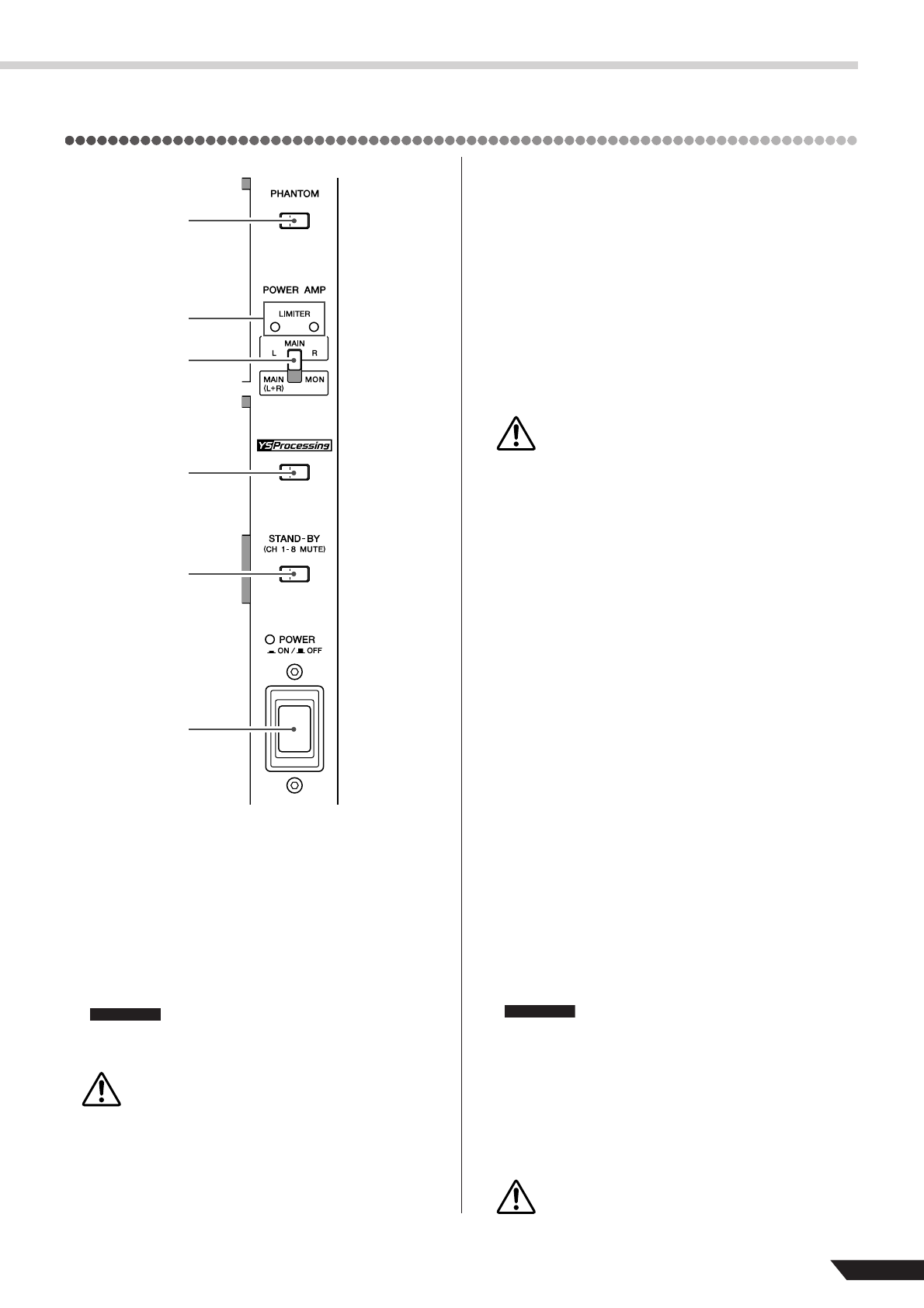
èÂÂÍβ˜‡ÚÂθ PHANTOM
ùÚÓÚ ‚˚Íβ˜‡ÚÂθ ‚Íβ˜‡ÂÚ Ë ‚˚Íβ˜‡ÂÚ Ù‡ÌÚÓÏÌÓÂ
ÔËÚ‡ÌË +15 Ç. èË ‚Íβ˜ÂÌËË Ù‡ÌÚÓÏÌÓ„Ó ÔËÚ‡ÌËfl
ÏËͯ ÔÓ‰‡ÂÚ ÔËÚ‡ÌË ̇ ÏËÍÓÙÓÌÌ˚ ‚ıÓ‰Ì˚ „ÌÂÁ‰‡
XLR ‚ÒÂı ͇̇ÎÓ‚ („ÌÂÁ‰‡ INPUT B ͇̇ÎÓ‚ 1–4 Ë „ÌÂÁ‰‡
MIC ̇ Ô‡‡ı ͇̇ÎÓ‚ 5/6–11/12). àÒÔÓθÁÛÈÚ هÌÚÓÏÌÓÂ
ÔËÚ‡ÌË ÔË ËÒÔÓθÁÓ‚‡ÌËË Ó‰ÌÓ„Ó ËÎË ÌÂÒÍÓθÍËı
ÍÓ̉ÂÌÒ‡ÚÓÌ˚ı ÏËÍÓÙÓÌÓ‚.
äÓ„‰‡ Ù‡ÌÚÓÏÌÓ ÔËÚ‡ÌË ‚Íβ˜ÂÌÓ, ÏËͯÂ
ÔÓ‰‡ÂÚ ÔËÚ‡ÌË +15 Ç ÔÓÒÚÓflÌÌÓ„Ó ÚÓ͇ ̇
ÍÓÌÚ‡ÍÚ˚ 2 Ë 3 ‚ÒÂı ‚ıÓ‰Ì˚ı „ÌÂÁ‰ XLR.
•
ì·Â‰ËÚÂÒ¸ ‚ ÚÓÏ, ˜ÚÓ Ù‡ÌÚÓÏÌÓ ÔËÚ‡ÌË ‚˚Íβ˜ÂÌÓ,
ÂÒÎË ‚ ÌÂÏ ÌÂÚ ÌÂÓ·ıÓ‰ËÏÓÒÚË.
•
èË ËÒÔÓθÁÓ‚‡ÌËË Ù‡ÌÚÓÏÌÓ„Ó ÔËÚ‡ÌËfl ÌÂ
ÔÓ‰ÒÓ‰ËÌflÈÚÂ Í ‚ıÓ‰Ì˚Ï „ÌÂÁ‰‡Ï XLR ÌË͇ÍËÂ
‰Û„Ë ÛÒÚÓÈÒÚ‚‡, ÍÓÏ ÍÓ̉ÂÌÒ‡ÚÓÌ˚ı ÏËÍÓ-
ÙÓÌÓ‚. ùÚÓ ÏÓÊÂÚ ÔË‚ÂÒÚË Í ÔÓ‚ÂʉÂÌ˲ ˝ÚËı
ÛÒÚÓÈÒÚ‚. ùÚ‡ χ Ô‰ÓÒÚÓÓÊÌÓÒÚË Ì ÓÚÌÓÒËÚÒfl
Í Ò·‡Î‡ÌÒËÓ‚‡ÌÌ˚Ï ˝ÎÂÍÚÓ‰Ë̇Ï˘ÂÒÍËÏ ÏËÍÓ-
ÙÓ̇Ï, Ú‡Í Í‡Í Ù‡ÌÚÓÏÌÓ ÔËÚ‡ÌË ̇ Ú‡ÍË ÏËÍÓ-
ÙÓÌ˚ Ì ‚ÎËflÂÚ.
•
ÇÓ ËÁ·ÂʇÌË ÔÓ‚ÂʉÂÌËfl ‡ÍÛÒÚ˘ÂÒÍËı ÒËÒÚÂÏ
Ó·flÁ‡ÚÂθÌÓ ‚˚Íβ˜ËÚ ÔËÚ‡ÌË EMX, ‰Û„Ëı
ÛÒËÎËÚÂÎÂÈ ÏÓ˘ÌÓÒÚË Ë ‡ÍÚË‚Ì˚ı ‡ÍÛÒÚ˘ÂÒÍËı
ÒËÒÚÂÏ Ô‰ ‚Íβ˜ÂÌËÂÏ ËÎË ‚˚Íβ˜ÂÌËÂÏ
Ù‡ÌÚÓÏÌÓ„Ó ÔËÚ‡ÌËfl. êÂÍÓÏẨÛÂÚÒfl Ú‡ÍÊ ÛÒÚ‡-
ÌÓ‚ËÚ¸ ̇ ÏËÌËÏÛÏ ‚Ò ‚˚ıÓ‰Ì˚ ÍÓÌÚÓÎÎÂ˚
(„ÛÎflÚÓ˚ LEVEL, Û˜ÍË MASTER Ë Ú.‰.) Ô‰
ÔÂÂÍβ˜ÂÌËÂÏ ‚˚Íβ˜‡ÚÂÎfl ‚Ó ËÁ·ÂʇÌË ËÒ͇
ÒÓÁ‰‡ÌËfl „ÓÏÍËı ¯ÛÏÓ‚, ÍÓÚÓ˚ ÏÓ„ÛÚ ÔË‚ÂÒÚË Í
ÒÌËÊÂÌ˲ ÒÎÛı‡ ËÎË ÔÓ‚ÂʉÂÌ˲ ÛÒÚÓÈÒÚ‚‡.
Q
à̉Ë͇ÚÓ˚ LIMITER
à̉Ë͇ÚÓ Á‡„Ó‡ÂÚÒfl, ÍÓ„‰‡ ÛÓ‚Â̸ ‚˚ıÓ‰ÌÓ„Ó Ò˄̇·
ÒÓÓÚ‚ÂÚÒÚ‚Û˛˘Â„Ó „ÌÂÁ‰‡ SPEAKERS ‰ÓÒÚË„‡ÂÚ Ï‡ÍÒËχ-
θÌÓ„Ó Á̇˜ÂÌËfl. à̉Ë͇ÚÓ Á‡„Ó‡ÂÚÒfl ÔË ‚Íβ˜ÂÌËË
Ó„‡Ì˘ËÚÂÎfl.
ó‡ÒÚÓ ÏË„‡ÌË Ë̉Ë͇ÚÓ‡ Û͇Á˚‚‡ÂÚ Ì‡ Ô„ÛÁÍÛ
ÛÒËÎËÚÂÎfl Ë ËÒÍ ÔÓ‚ÂʉÂÌËfl Ó·ÓÛ‰Ó‚‡ÌËfl.
éÚ„ÛÎËÛÈÚ ÔÓÎÓÊÂÌË ۘÂÍ MASTER (
G
Ë
M
) Ú‡Í,
˜ÚÓ·˚ Ë̉Ë͇ÚÓ˚ Ì „ÓÂÎË ËÎË ÏË„‡ÎË Â‰ÍÓ.
R
èÂÂÍβ˜‡ÚÂθ POWER AMP
àÒÔÓθÁÛÂÚÒfl ‰Îfl ‚˚·Ó‡ Ò˄̇·, ÔÓ‰‡‚‡ÂÏÓ„Ó Ì‡ „ÌÂÁ‰‡
SPEAKERS, ÒÎÂ‰Û˛˘ËÏ Ó·‡ÁÓÏ.
ÇÂıÌÂÂ ÔÓÎÓÊÂÌËÂ (MAIN L/R):
ÉÌÂÁ‰‡ SPEAKERS A1 Ë A2 ‚˚‚Ó‰flÚ Ò˄̇Π¯ËÌ˚ MAIN
L, „ÌÂÁ‰‡ SPEAKERS B1 Ë B2 — ¯ËÌ˚ MAIN R. ê͇ۘ
MASTER
G
ÓÒÌÓ‚ÌÓÈ ÒÂ͈ËË MAIN „ÛÎËÛÂÚ
‚˚ıÓ‰ÌÓÈ ÛÓ‚Â̸ ‚ÒÂı „ÌÂÁ‰ SPEAKERS.
çËÊÌ ÔÓÎÓÊÂÌË (MAIN (L+R)/MON):
óÂÂÁ „ÌÂÁ‰‡ SPEAKERS A1 Ë A2 ‚˚‚Ó‰ËÚÒfl
Òϯ‡ÌÌ˚È Ò˄̇Π¯ËÌ MAIN L Ë MAIN R. óÂÂÁ
„ÌÂÁ‰‡ SPEAKERS B1 Ë B2 ‚˚‚Ó‰ËÚÒfl Ò˄̇Π¯ËÌ˚
MONITOR. ê͇ۘ MASTER
G
ÓÒÌÓ‚ÌÓÈ ÒÂ͈ËË MAIN
„ÛÎËÛÂÚ ÛÓ‚Â̸ „ÌÂÁ‰ A, ͇ۘ MASTER
M
ÒÂ͈ËË MONITOR — „ÌÂÁ‰ B.
S
èÂÂÍβ˜‡ÚÂθ YS Processing
àÒÔÓθÁÛÂÚÒfl ‰Îfl ‚Íβ˜ÂÌËfl Ë ‚˚Íβ˜ÂÌËfl ÔÓˆÂÒÒÓ‡
Yamaha Speaker Processing. ùÚÓÚ ÔÓˆÂÒÒÓ ÍÓÂÍÚËÛÂÚ
‰Ë‡Ô‡ÁÓÌ ÌËÊÌËı ˜‡ÒÚÓÚ ‰Ë̇ÏËÍÓ‚, ÍÓÏÔÂÌÒËÛfl,
̇ÔËÏÂ, ÓÚÒÛÚÒÚ‚Ë ҇·‚ÛÙÂÓ‚. é·‡ÚËÚ ‚ÌËχÌË ̇
ÚÓ, ˜ÚÓ ˜‡ÒÚÓÚÌ˚È ·‡Î‡ÌÒ ·Û‰ÂÚ ËÁÏÂÌflÚ¸Òfl ‚ Á‡‚ËÒËÏÓÒÚË
ÓÚ ËÒÔÓθÁÛÂÏ˚ı ‰Ë̇ÏËÍÓ‚.
T
èÂÂÍβ˜‡ÚÂθ STAND-BY
ùÚÓÚ ÔÂÂÍβ˜‡ÚÂθ ÔË„ÎÛ¯‡ÂÚ ‚ıÓ‰ ͇̇ÎÓ‚ 1–8.
à̉Ë͇ÚÓ ÔÂÂÍβ˜‡ÚÂÎfl „ÓËÚ ÔË ‚Íβ˜ÂÌÌÓÏ
ÔË„ÎÛ¯ÂÌËË. é·‡ÚËÚ ‚ÌËχÌË ̇ ÚÓ, ˜ÚÓ ÔË„ÎÛ¯ÂÌËÂ
Ì Ó͇Á˚‚‡ÂÚ ‚ÎËflÌËfl ̇ ͇̇Î˚ 9–12.
èË ËÒÔÓθÁÓ‚‡ÌËË ÏËͯ‡ ‰Îfl ÊË‚˚ı ÍÓ̈ÂÚÓ‚
ÏÓÊÌÓ Á‡ÔÓÎÌflÚ¸ ÔÓÏÂÊÛÚÍË ÏÂÊ‰Û ‚˚ÒÚÛ-
ÔÎÂÌËflÏË, ‡ÍÚË‚ËÛfl ÔÂÂÍβ˜‡ÚÂθ ÔË„ÎÛ¯ÂÌËfl
Ë ÔÓ‰‡‚‡fl ÙÓÌÓ‚Û˛ ÏÛÁ˚ÍÛ Ò ÔÓË„˚‚‡ÚÂÎfl
ÍÓÏÔ‡ÍÚ-‰ËÒÍÓ‚ ËÎË ‰Û„Ó„Ó ÔÓ‰Ó·ÌÓ„Ó ÛÒÚÓÈÒÚ‚‡,
ÔÓ‰Íβ˜ÂÌÌÓ„Ó Í Í‡Ì‡Î‡Ï 9–12.
U
èÂÂÍβ˜‡ÚÂθ Ë Ë̉Ë͇ÚÓ POWER
àÒÔÓθÁÛÂÚÒfl ‰Îfl ‚Íβ˜ÂÌËfl (ON) Ë ‚˚Íβ˜ÂÌËfl (OFF)
ÔËÚ‡ÌËfl EMX. ᇄÓ‚¯ËÈÒfl Ë̉Ë͇ÚÓ Û͇Á˚‚‡ÂÚ Ì‡
‚Íβ˜ÂÌË ÛÒÚÓÈÒÚ‚‡.
è‰ ‚Íβ˜ÂÌËÂÏ ËÎË ‚˚Íβ˜ÂÌËÂÏ ÔËÚ‡ÌËfl
۷‰ËÚÂÒ¸ ‚ ÚÓÏ, ˜ÚÓ Ó·Â Û˜ÍË MASTER (
G
Ë
M
)
Ô‚‰ÂÌ˚ ‚ ÔÓÎÓÊÂÌË «0».
P
R
S
T
U
Q
èêàåÖóÄçàÖ
èêàåÖóÄçàÖ



