Усилители Yamaha AX-596 - инструкция пользователя по применению, эксплуатации и установке на русском языке. Мы надеемся, она поможет вам решить возникшие у вас вопросы при эксплуатации техники.
Если остались вопросы, задайте их в комментариях после инструкции.
"Загружаем инструкцию", означает, что нужно подождать пока файл загрузится и можно будет его читать онлайн. Некоторые инструкции очень большие и время их появления зависит от вашей скорости интернета.

9
ÝËÅÌÅÍÒÛ ÐÅÃÓËÈÐÎÂÊÈ È ÈÕ ÔÓÍÊÖÈÈ
Ï Å Ð Å Ä Í ß ß Ï À Í Å Ë Ü
12
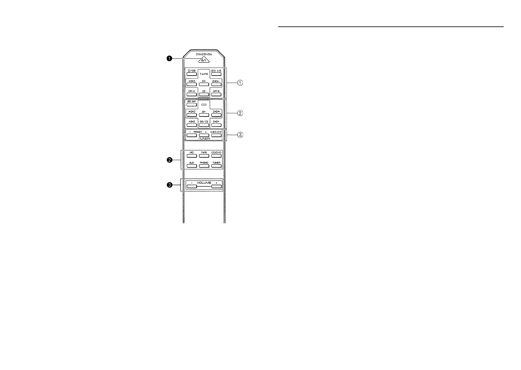
Ïóëüò äèñòàíöèîííîãî óïðàâëåíèÿ
Ïóëüò ÄÓ ïîçâîëÿåò ðåãóëèðîâàòü íàèáîëåå âàæíûå ôóíêöèè ãëàâíîãî
ïðèáîðà. Åñëè ê ýòîìó ïðèáîðó ïîäêëþ÷åíû CD ïðîèãðûâàòåëü, òþíåð,
êàññåòíàÿ äåêà è äð., ñîâìåñòèìûå ñ äèñòàíöèîííûì óïðàâëåíèåì, òî
ïóëüò óïðàâëåíèÿ ïîçâîëÿåò óïðàâëÿòü
ðàçëè÷íûìè ôóíêöèè ýòèõ êîìïîíåíòîâ.
Óïðàâëåíèå ïðèáîðîì
1 . Ñåòåâàÿ êëàâèøà (STANDBY /ON)
Íàæìèòå íà ýòó êëàâèøó, ÷òîáû âêëþ÷èòü
ïðèáîð èëè ïåðåêëþ÷èòü â äåæóðíûé ðåæèì. Ýòà
êëàâèøà ïðèâîäèòñÿ â äåéñòâèå, åñëè ñåòåâîé
ïåðåêëþ÷àòåëü (
POWER
) ãëàâíîãî ïðèáîðà
íàõîäèòñÿ â ïîëîæåíèè «ON».
Äåæóðíûé ðåæèì
 ý ò î ì ð å æ è ì å ä ë ÿ ï ð è å ì à è í ô ð à ê ð à ñ í û õ
ñ è ã í à ë î â î ò ï ó ë ü ò à Ä Ó ó ñ è ë è ò å ë ü ï î ò ð å á ë ÿ å ò
î ÷ å í ü í å á î ë ü ø î å ê î ë è ÷ å ñ ò â î ò î ê à .
2.Êëàâèøè âûáîðà âõîäà
Íàæìèòå íà îäíó èç êëàâèø, ÷òîáû óñòàíîâèòü
âõîäíîé èñòî÷íèê.
3 . Êëàâèøè ãðîìêîñòè (VOLUME + / – )
Ýòè êëàâèøè ïîçâîëÿþò ïîâûñèòü èëè ïîíèçèòü
óðîâåíü ãðîìêîñòè.
Óïðàâëåíèå äðóãèìè ïðèáîðàìè
Ð å ê î ì å í ä à ö è è
Ôóíêöèè êëàâèø óïðàâëåíèÿ äðóãèõ ïðèáîðîâ
YAMAHA èäåíòè÷íû êëàâèøàì íà ýòèõ ïðèáîðàõ.
Èíôîðìàöèÿ ïðèâîäèòñÿ â èíñòðóêöèè ïî
ýêñïëóàòàöèè ñîîòâåòñòâóþùèõ ïðèáîðîâ.
1 . Êëàâèøè êàññåòíîé äåêè
Ýòè êëàâèøè ñëóæàò äëÿ óïðàâëåíèÿ êàññåòíîé
ä å ê î é .
¨
Êëàâèøè DIR A,B è À/ ïðåäíàçíà÷åíû òîëüêî
äëÿ äâóõêàññåòíûõ äåê.
¨
Ïîñðåäñòâîì êëàâèøè DIR A Âû ìîæåòå ïåðåêëþ÷àòü íàïðàâëåíèå
äâèæåíèÿ ëåíòû íà äåêàõ ñ àâòîðåâåðñîì.
2 . Êëàâèøè äëÿ CD ïðîèãðûâàòåëÿ
Ýòè êëàâèøè ïîçâîëÿþò óïðàâëÿòü CD ïðîèãðûâàòåëåì.
¨
Êëàâèøà ïðîïóñêà (DISK SKIP) èñïîëüçóåòñÿ òîëüêî CD ÷åíäæåðîâ.
3 . Êëàâèøè íàñòðîéêè
Ýòè êëàâèøè èñïîëüçóþòñÿ äëÿ óïðàâëåíèÿ òþíåðîì.
PRESET +
: Íàæìèòå íà ýòó êëàâèøó, ÷òîáû íàñòðîèòü ñëåäóþùóþ
ñòàíöèþ èç ïàìÿòè.
PRESET –
: Íàæìèòå íà ýòó êëàâèøó, ÷òîáû íàñòðîèòü ïðåäøåñòâóþùóþ
ñòàíöèþ èç ïàìÿòè.
À / Â / Ñ / Ä / Å
: Íàæìèòå íà ýòó êëàâèøó, ÷òîáû âûáðàòü ãðóïïó ñòàíöèé
(À–Å) â
ïàìÿòè òþíåðà.



