Усилители Pioneer SC-LX73 / SC-LX83 - инструкция пользователя по применению, эксплуатации и установке на русском языке. Мы надеемся, она поможет вам решить возникшие у вас вопросы при эксплуатации техники.
Если остались вопросы, задайте их в комментариях после инструкции.
"Загружаем инструкцию", означает, что нужно подождать пока файл загрузится и можно будет его читать онлайн. Некоторые инструкции очень большие и время их появления зависит от вашей скорости интернета.

03
25
Ru
.
(
),
.
•
High
Low
,
High
Low
.
.
.
.
•
,
,
.
Э
.
,
.
•
,
Speaker System
.
•
.
•
.
•
,
,
,
.
RS-232C
HDMI
ASSIGNABLE
COAXIAL
COMPONENT VIDEO
ASSIGNABLE
OPTICAL
ASSIGNABLE
ASSIGNABLE
MONITOR OUT
ZONE 2 OUT
IN
Y
CD-R/TAPE
ANTENNA
FM UNBAL 75
AM LOOP
AC IN
IN
CD
IN
VIDEO
MONITOR
OUT
OUT
ZONE2
OUT
ZONE3
OUT
DVD
IN
TV/SAT
IN
VIDEO
IN
DVR/BDR
PHONO
IN
OUT
IN
P
R
P
B
1
IN
BD
IN
1
IN
2
IN
3
OUT 1
(CONTROL)
OUT 2
1
4
(DVD)
IN
2
(DVR/BDR)
IN
3
(VIDEO)
IN
1
(DVD)
IN
1
(TV/SAT)
IN
2
(DVR/BDR)
IN
OUT
FRONT
CENTER SURROUND SURR BACK
(Single)
FH/FW
3
(VIDEO)
IN
2
(CD)
IN
3
(CD-R)
CONTROL
CU-RF100
IR
12 V
TRIGGER
IN
IN
IN
OUT
OUT
1
2
1
2
(OUTPUT
12 V
TOTAL
150 mA MAX)
SUBWOOFER
IN
4
LAN (10/100)
(OUTPUT 5 V
100 mA MAX)
ADAPTER PORT
PRE OUT
(OUTPUT 5 V
150 mA MAX)
SPEAKERS
MULTI CH IN
SIGNAL
GND
FRONT
CENTER
SUBWOOFER
SURROUND SURR BACK
L
R
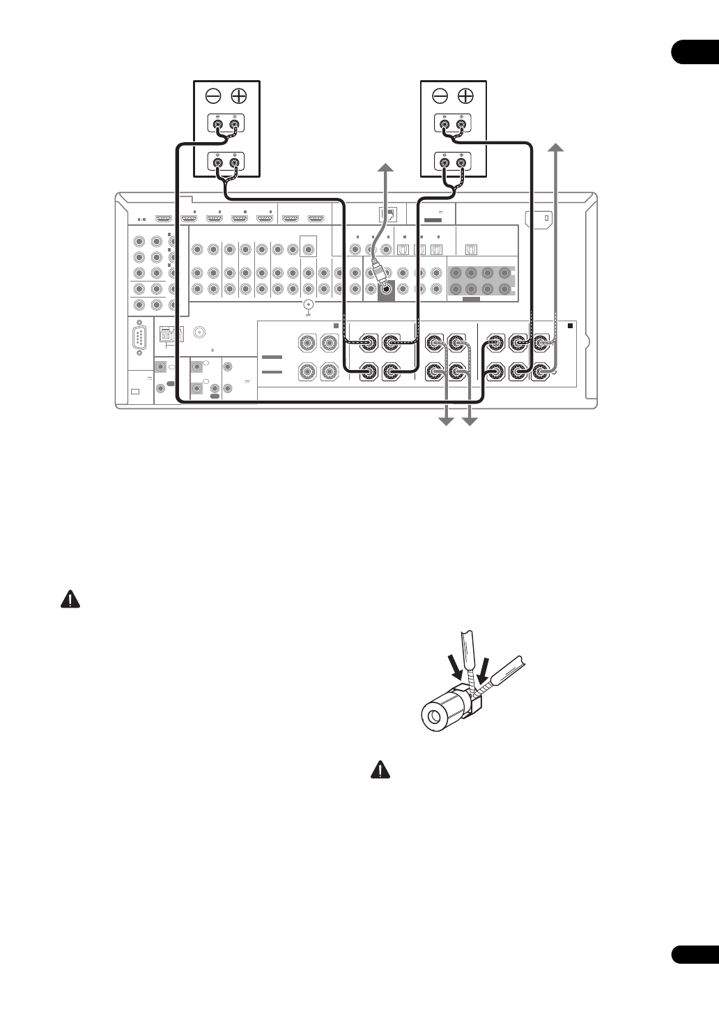
CAUTION:
SPEAKER IMPEDANCE 6
Ω
- 16
Ω
.
ATTENTION:
ENCEINTE D'IMPEDANCE DE 6
Ω
- 16
Ω
.
A
SURROUND BACK
(Single)
B
R
FRONT HEIGHT/WIDE/
L
R
L
R
L
R
L
SURROUND
FRONT
CENTER
SEE INSTRUCTION
MANUAL
SELECTABLE
VOIR LE MODE
D'EMPLOI
SELECTABLE
High
Low
High
Low
,
,