Усилители JVC KD-SHX701 - инструкция пользователя по применению, эксплуатации и установке на русском языке. Мы надеемся, она поможет вам решить возникшие у вас вопросы при эксплуатации техники.
Если остались вопросы, задайте их в комментариях после инструкции.
"Загружаем инструкцию", означает, что нужно подождать пока файл загрузится и можно будет его читать онлайн. Некоторые инструкции очень большие и время их появления зависит от вашей скорости интернета.

52
ESP
AÑOL
5
Seleccione una opción.
1/2/3:
Cuanto más alto sea el número, más
fuerte será el nivel de refuerzo.
Off:
El efecto se cancela.
Para salir de la operación del menú,
pulse de
nuevo MENU.
• El indicador DRC se resaltará (
) sólo
cuando la unidad reciba señales DRC del
servicio sintonizado.
Si el indicador no está resaltado, esta función
no podrá activarse.
Para efectuar la búsqueda de su
servicio favorito
Podrá efectuar la búsqueda de cualquiera de los
códigos PTY (ya sea PTY dinámico o estático).
• Las operaciones son exactamente las mismas
que las explicadas en las páginas 15 y 16 para
emisoras FM RDS.
• Los códigos PTY no se pueden guardar
separadamente para el sintonizador DAB y el
sintonizador FM.
Para almacenar los tipos de programas
(servicios) favoritos,
consulte la página 16.
Para la búsqueda de su tipo de programa
(servicio) favorito,
consulte la página 15.
• La búsqueda se efectuará sólo en el
sintonizador DAB.
1
2
Off
3
Aparece el indicador DRC
○ ○ ○ ○ ○ ○ ○ ○ ○
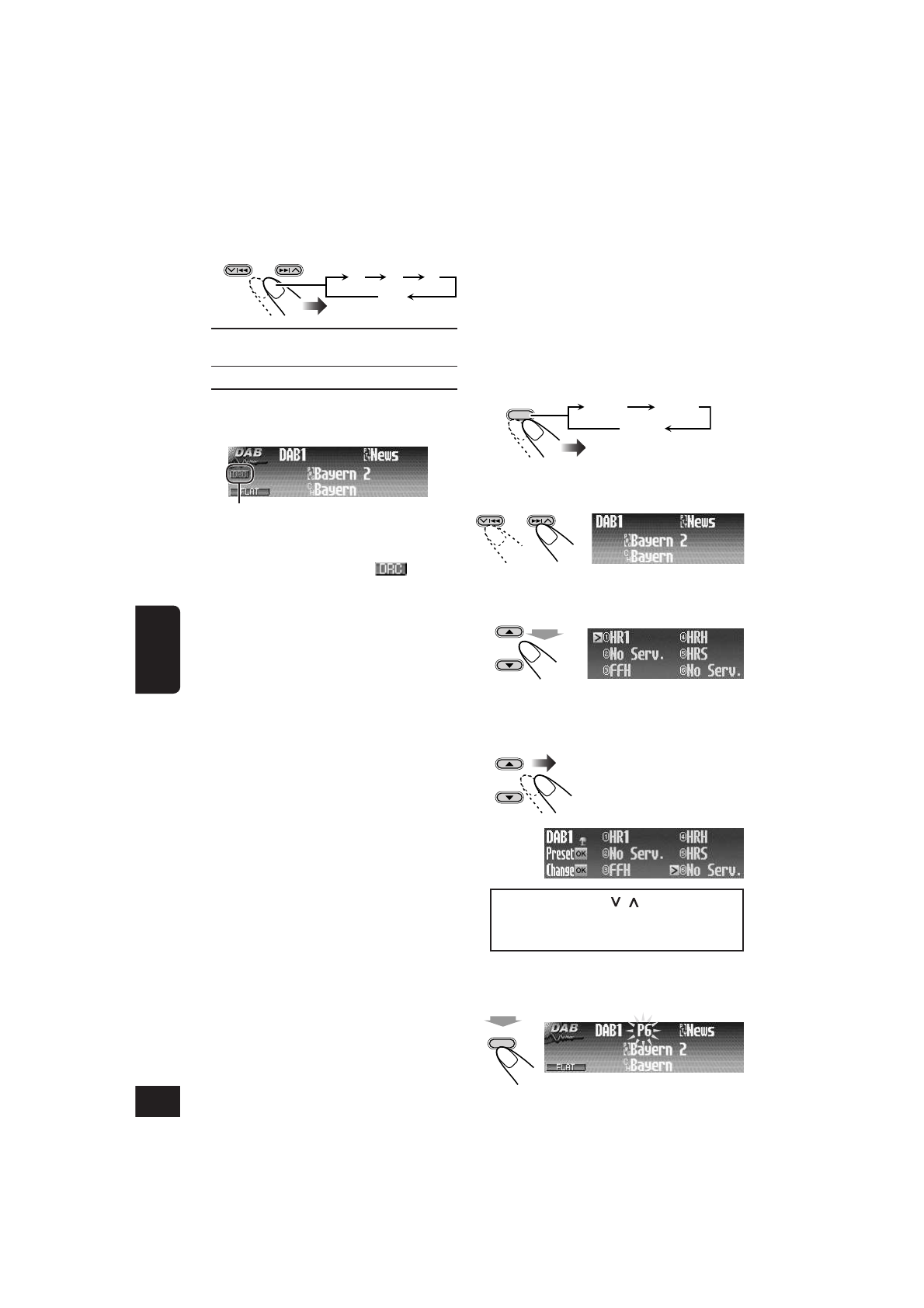
Almacenamiento de servicios DAB
○ ○ ○ ○ ○ ○ ○ ○ ○
en la memoria
Podrá preajustar 6 servicios DAB (servicios
primarios) para cada banda.
Ej.
Almacenamiento de un ensemble (servicio
primario) en el número de preajuste 1 de
la banda DAB1.
1
2
Seleccione un ensemble (servicio
primario).
3
Visualice la lista de servicios
preajustados de la banda seleccionada.
• Las etiquetas de servicio se muestran en
la lista.
4
Seleccione un número de preajuste.
No pulse
4
/
¢
( / ); de lo contrario,
la lista cambiará a la de otra banda DAB y
no se podrá realizar el preajuste actual.
5
Almacene el servicio seleccionado en el
paso
2
.
OK
BAND
DAB1
DAB2
DAB3
(en este ejemplo, DAB1)
Hold
OK
BAND
Hold
Характеристики
Остались вопросы?Не нашли свой ответ в руководстве или возникли другие проблемы? Задайте свой вопрос в форме ниже с подробным описанием вашей ситуации, чтобы другие люди и специалисты смогли дать на него ответ. Если вы знаете как решить проблему другого человека, пожалуйста, подскажите ему :)











