Усилители JVC KD-LH1101 - инструкция пользователя по применению, эксплуатации и установке на русском языке. Мы надеемся, она поможет вам решить возникшие у вас вопросы при эксплуатации техники.
Если остались вопросы, задайте их в комментариях после инструкции.
"Загружаем инструкцию", означает, что нужно подождать пока файл загрузится и можно будет его читать онлайн. Некоторые инструкции очень большие и время их появления зависит от вашей скорости интернета.

41
ESP
A
Ñ
OL
•
Cuando el disco actual es un CD:
La reproducción se inicia desde la primera
pista del disco actual.
Notas:
• Cuando usted pulsa CD/CD-CH, la alimentación se
enciende automáticamente. No necesita pulsar
para conectar la alimentación.
• Si cambia la fuente, la reproducción del cambiador
de CD tambien se detiene. La próxima vez que
selecciona el cambiador de CD como fuente, la
reproducción del cambiador de CD se inicia desde
el punto en que se detuvo la reproducción
previamente.
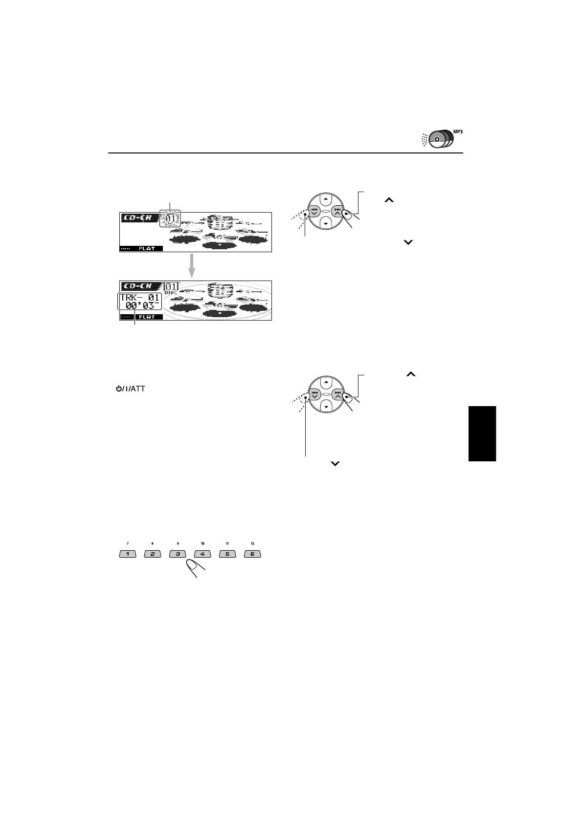
Para seleccionar directamente un
determinado disco
Pulse el botón del número correspondiente al
número de disco deseado para iniciar su
reproducción (mientras el cambiador de CD está
reproduciendo el CD).
• Para seleccionar un disco numerado 1 – 6:
Pulse 1 (7) – 6 (12) por un tiempo breve.
• Para seleccionar un disco numerado 7 – 12:
Pulse y mantenga pulsado 1 (7) – 6 (12)
durante más de 1 segundo.
Número de disco seleccionado
Pulse
¢
brevemente
durante la reproducción,
para saltar hasta el
comienzo de la siguiente
pista/archivo.
Cada vez que pulsa el
botón consecutivamente,
se localiza el comienzo de
las pistas/los archivos
siguientes y se reproducen.
Para efectuar la búsqueda progresiva o
regresiva de la pista/el archivo
Nota:
Mientras se realiza esta operación en un disco MP3,
se escucharán sólo sonidos intermitentes. (El tiempo
de reproducción transcurrido también cambia
intermitente en la pantalla.)
Para seleccionar las pistas/los archivos
siguientes o anteriores
Pulse y mantenga pulsado
¢
, durante la
reproducción para avanzar
rápidamente la pista/el
archivo.
Pulse y mantenga pulsado
4
, durante la
reproducción, para invertir la pista/el archivo.
Pulse
4
brevemente durante la
reproducción para saltar al comienzo de la pista/
el archivo actual.
Cada vez que pulsa el botón consecutivamente,
se localiza el comienzo de las pistas/los archivos
anteriores y se reproducen.
Pista actual y tiempo de reproducción
transcurrido
Характеристики
Остались вопросы?Не нашли свой ответ в руководстве или возникли другие проблемы? Задайте свой вопрос в форме ниже с подробным описанием вашей ситуации, чтобы другие люди и специалисты смогли дать на него ответ. Если вы знаете как решить проблему другого человека, пожалуйста, подскажите ему :)











