Триммеры Makita LXT DUR364LZ - инструкция пользователя по применению, эксплуатации и установке на русском языке. Мы надеемся, она поможет вам решить возникшие у вас вопросы при эксплуатации техники.
Если остались вопросы, задайте их в комментариях после инструкции.
"Загружаем инструкцию", означает, что нужно подождать пока файл загрузится и можно будет его читать онлайн. Некоторые инструкции очень большие и время их появления зависит от вашей скорости интернета.

9
ОПИСАНИЕ
ФУНКЦИОНИРОВАНИЯ
ПРЕДУПРЕЖДЕНИЕ
:
•
Перед
регулировкой
или
проверкой
функций
инструмента
обязательно
убедитесь
,
что
он
выключен
и
его
аккумуляторный
блок
снят
.
Несоблюдение
этого
требования
может
стать
причиной
тяжелой
травмы
из
-
за
случайного
включения
инструмента
.
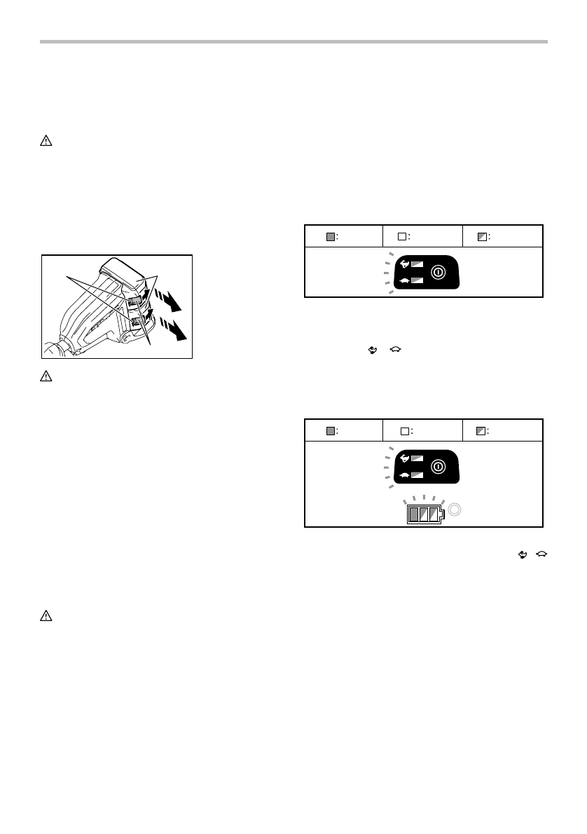
Установка
или
снятие
блока
аккумуляторов
1
2
3
015386
ПРЕДУПРЕЖДЕНИЕ
:
•
Обязательно
выключайте
инструмент
перед
установкой
и
извлечением
аккумуляторного
блока
.
•
При
установке
или
снятии
аккумуляторного
блока
надежно
удерживайте
инструмент
и
аккумуляторный
блок
.
Иначе
инструмент
или
аккумуляторный
блок
могут
выскользнуть
из
рук
,
что
может
привести
к
травмам
или
повреждению
инструмента
и
аккумуляторного
блока
.
Для
снятия
аккумуляторного
блока
нажмите
кнопку
на
лицевой
стороне
и
извлеките
блок
.
Для
установки
аккумуляторного
блока
совместите
выступ
блока
с
пазом
в
корпусе
и
задвиньте
его
на
место
.
Устанавливайте
блок
до
упора
так
,
чтобы
он
зафиксировался
на
месте
с
небольшим
щелчком
.
Если
вы
можете
видеть
красный
индикатор
на
верхней
части
клавиши
,
аккумуляторный
блок
не
полностью
установлен
на
месте
.
ПРЕДУПРЕЖДЕНИЕ
:
•
Обязательно
устанавливайте
аккумуляторный
блок
до
конца
,
чтобы
красный
индикатор
не
был
виден
.
В
противном
случае
аккумуляторный
блок
может
выпасть
из
инструмента
и
нанести
травму
вам
или
другим
людям
.
•
Не
прилагайте
чрезмерных
усилий
при
установке
аккумуляторного
блока
.
Если
блок
не
двигается
свободно
,
значит
он
вставлен
неправильно
.
Примечание
:
•
Инструмент
не
будет
работать
с
одним
аккумуляторным
блоком
.
Система
защиты
инструмента
/
аккумулятора
На
инструменте
предусмотрена
система
защиты
инструмента
/
аккумулятора
.
Она
автоматически
отключает
питание
двигателя
для
продления
срока
службы
инструмента
и
аккумулятора
.
Инструмент
автоматически
остановится
во
время
работы
при
возникновении
указанных
ниже
ситуаций
.
В
некоторых
ситуациях
загораются
индикаторы
.
Защита
от
перегрузки
ВКЛ.
ВЫКЛ.
Мигает
015451
В
случае
перегрузки
инструмента
из
-
за
скопления
сорняков
или
прочего
мусора
инструмент
выключается
автоматически
,
начинают
мигать
индикаторы
.
В
этом
случае
выключите
инструмент
и
прекратите
использование
,
повлекшее
перегрузку
инструмента
.
Затем
включите
инструмент
для
перезапуска
.
Защита
инструмента
от
перегрева
ВКЛ.
ВЫКЛ.
Мигает
015401
В
случае
перегрева
инструмента
он
автоматически
выключается
и
начинают
мигать
индикаторы
,
и
индикатор
аккумулятора
(
примерно
60
секунд
).
В
этом
случае
дайте
инструменту
остыть
перед
повторным
включением
.
Защита
от
переразрядки
При
истощении
заряда
аккумулятора
инструмент
автоматически
выключается
.
Если
устройство
не
работает
даже
после
нажатия
переключателей
,
снимите
аккумуляторы
с
инструмента
и
зарядите
их
.
1.
Красный
индикатор
2.
Кнопка
3.
Блок
аккумулятора