Триммеры ECHO GT-22GES - инструкция пользователя по применению, эксплуатации и установке на русском языке. Мы надеемся, она поможет вам решить возникшие у вас вопросы при эксплуатации техники.
Если остались вопросы, задайте их в комментариях после инструкции.
"Загружаем инструкцию", означает, что нужно подождать пока файл загрузится и можно будет его читать онлайн. Некоторые инструкции очень большие и время их появления зависит от вашей скорости интернета.

11
ОПИСАНИЕ
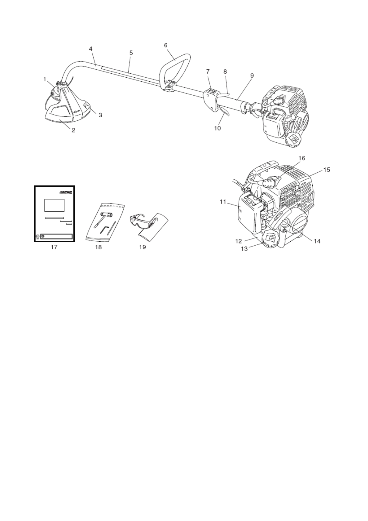
1.
Режущее
приспособление
-
Головка
с
нейлоновой
струной
для
стрижки
травы
и
сорняков
.
2.
Защитная
крышка
-
Приспособление
,
защищающее
оператора
от
случайного
контакта
с
режущей
головкой
и
отбрасываемыми
объектами
.
3.
Обрезной
нож
-
Обрезает
нейлоновую
струну
для
настройки
длины
струны
для
требуемого
размаха
косы
.
4.
Трубка
вала
Часть
устройства
,
служащая
для
подведения
энергии
к
трансмиссионному
валу
.
5.
Предохранительная
бирка
Деталь
номер
X505-000140
6.
Передняя
(
круговая
)
рукоятка
-
Легкая
,
подходит
для
триммера
с
нейлоновой
струной
.
7.
Переключатель
зажигания
«
Мягкое
переключение
»
установлено
сверху
корпуса
дроссельного
регулятора
,
передвигайте
переключатель
вперед
к
положению
RUN
(
РАБОТА
),
или
назад
к
STOP (
ОСТАНОВКА
).
8.
Блокировка
дроссельного
регулятора
-
Блокирует
дроссельный
регулятор
в
положении
холостого
хода
,
пока
вы
не
захватите
рукоятку
правой
рукой
.
9.
Ручка
-
Задняя
ручка
(
правая
)
10.
Дроссельный
регулятор
-
Включается
оператором
для
контроля
скорости
двигателя
.
11.
Крышка
воздушного
фильтра
-
Закрывает
воздушный
фильтр
.
12.
Топливный
бак
Содержит
топливо
и
топливный
фильтр
.
13.
Крышка
топливного
бака
-
Для
закрывания
топливного
бака
14.
Ручка
стартера
-
Потяните
ручку
для
запуска
двигателя
(«
ЛЕГКИЙ
ЗАПУСК
»)
15.
Крышка
глушителя
-
Закрывает
глушитель
и
защищает
оператора
от
горячих
поверхностей
глушителя
.
16.
Свеча
зажигания
17.
Руководство
пользователя
-
Поставляется
с
устройством
.
Перед
началом
работы
прочитайте
руководство
и
сохраните
его
для
дальнейшего
использования
с
целью
изучения
правильного
и
безопасного
использования
устройства
.
18.
Инструменты
–
13
х
19
мм
Т
-
образный
ключ
(
комбинация
отвертки
и
ключ
для
свечи
зажигания
),
4
мм
торцевой
ключ
,
инструментальная
оправка
.
19.
Защитные
очки
GT-22GES