Тостеры KitchenAid Artisan 5KMT2204ECA - инструкция пользователя по применению, эксплуатации и установке на русском языке. Мы надеемся, она поможет вам решить возникшие у вас вопросы при эксплуатации техники.
Если остались вопросы, задайте их в комментариях после инструкции.
"Загружаем инструкцию", означает, что нужно подождать пока файл загрузится и можно будет его читать онлайн. Некоторые инструкции очень большие и время их появления зависит от вашей скорости интернета.

6
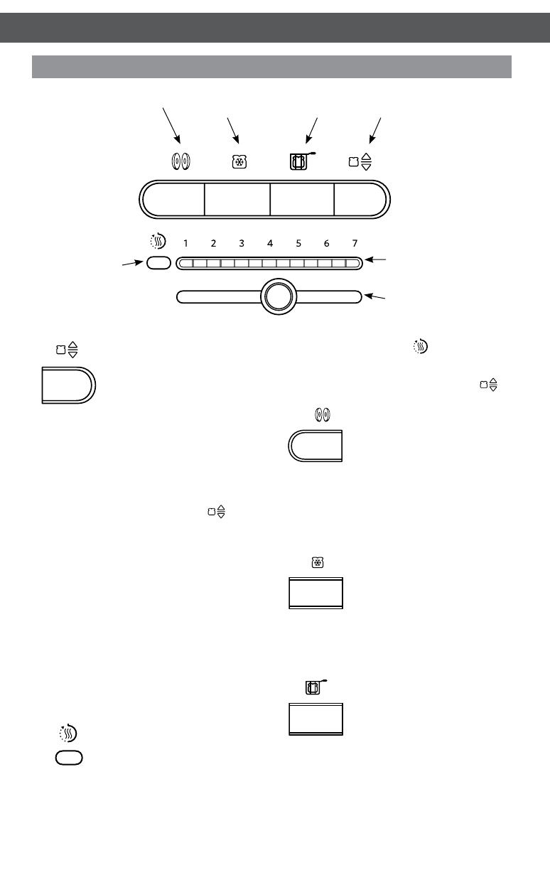
ЧАСТИ И ИХ ХАРАКТЕРИСТИКИ
Функция Приготовить/
Отменить
Это автоматический тостер.
После того как вы поместите
ломтики хлеба в отделения
для тостов, они опустятся,
и тостер начнет работать в соответствии
с выбранными вами настройками.
некоторые продукты могут быть слишком
легкими для того, чтобы привести
в действие механизм автоматического
приготовления. если продукты не
опускаются через 3 секунды, нажмите
кнопку Поджаривание/Отмена (
) для
того, чтобы запустить цикл приготовления
вручную. если вы хотите остановить
процесс приготовления или подогрева
продуктов, нажмите кнопку
Toast/Cancel снова.
Регулировка и индикатор степени
поджаривания/Таймер
С помощью этой функции вы
можете отрегулировать степень
поджаривания тостов. Индикатор
показывает выбранную вами степень
поджаривания. Во время работы
тостера индикаторы мигают, показывая
оставшееся время приготовления.
Индикатор подогрева
продуктов
если продукты не удалены
из тостера в течение
45 секунд после окончания
приготовления, тостер автоматически
опустит их и включит функцию подогрева
продуктов с использованием низкого
уровня нагрева до 3 минут. Во время работы
этой функции индикатор ( ) подогрева
продуктов будет светиться . Вы можете
остановить эту функцию в любое время,
нажав кнопку Поджаривание/Отмена (
).
Функция для
приготовления бейглов
Ваш тостер может
поджаривать бейглы при
оптимальной температуре
в течение нужного времени
для получения наилучшего результата.
нагревательные элементы тостера
поджарят внутренность разрезанного
пополам бейгла, и в то же время внешняя
поверхность продукта не пригорит.
Функция размораживания
Ваш тостер имеет режим
размораживания,
с помощью которого
можно размораживать
и поджаривать
замороженные тосты. данный режим
следует использовать только для
замороженных продуктов.
Функция для
приготовления сэндвичей
Ваш тостер имеет
специальную настройку для
сэндвичей, которую следует
использовать только
с решеткой для сэндвичей KitchenAid.
данная настройка используется для
приготовления сэндвичей с тонко
нарезанным мясом и сыром. Подробнее
см. в разделе "Приготовление сэндвичей".
Регулировка степени
поджаривания
Индикатор степени
поджаривания/Таймер
Индикатор
подогрева
продуктов
Функция для
приготовления
бейглов
Функция
размораживания
Функция для
приготовления
сэндвичей
Функция
Приготовить/
Отменить
Описание панели управления
Характеристики
Остались вопросы?Не нашли свой ответ в руководстве или возникли другие проблемы? Задайте свой вопрос в форме ниже с подробным описанием вашей ситуации, чтобы другие люди и специалисты смогли дать на него ответ. Если вы знаете как решить проблему другого человека, пожалуйста, подскажите ему :)