Tomahawk TW-9100 - Инструкция по эксплуатации

Tomahawk TW-9100

Автосигнализация Tomahawk TW-9100 - инструкция пользователя по применению, эксплуатации и установке на русском языке. Мы надеемся, она поможет вам решить возникшие у вас вопросы при эксплуатации техники.

Если остались дополнительные вопросы — свяжитесь с нами через контактную форму.

1 Страница 1
2 Страница 2
3 Страница 3
4 Страница 4
5 Страница 5
6 Страница 6
7 Страница 7
8 Страница 8
9 Страница 9
10 Страница 10
11 Страница 11
12 Страница 12
13 Страница 13
14 Страница 14
15 Страница 15
16 Страница 16
17 Страница 17
18 Страница 18
19 Страница 19
20 Страница 20
21 Страница 21
22 Страница 22
23 Страница 23
24 Страница 24
25 Страница 25
26 Страница 26
27 Страница 27
28 Страница 28
29 Страница 29
30 Страница 30
31 Страница 31
32 Страница 32
33 Страница 33
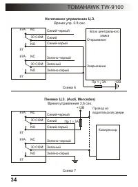
34 Страница 34
35 Страница 35
36 Страница 36
37 Страница 37
38 Страница 38
39 Страница 39
Страница: / 39
Загрузка инструкции

TOMAHAWK TW-9100

СОДЕРЖАНИЕ

РУКОВОДСТВО ПОЛЬЗОВАТЕЛЯ

1.

Основные функции системы

2

2.

Брелоки дистанционного управления

3

3.

Функции ЖКИ

4

4.

Постановка в охрану

6

5.

Постановка в охрану с отключением сирены

6

6.

Автопостановка и автоперепостановка в охрану

7

7.

Функция иммобилайзера

7

8.

Снятие с охраны

7

9.

Открывание/закрывание дверей при заведенном двигателе

7

10. Двушаговое открывание дверей/3-й канал

8

11. Дистанционный запуск двигателя

8

12. Дистанционное глушение двигателя

8

13. Турботаймер

9

14. Прогрев двигателя по заданной температуре

9

15. Ежедневный (1, 2, 4, 12-тичасовой) автозапуск

10

16. Дистанционный опрос состояния

10

17. Дистанционное открывание багажника

11

18. 2-й дополнительный канал

11

19. Поиск а/м

11

20. Дистанционное отключение датчика удара

11

21. Режимы тревоги

11

22. Режим “паника”

12

23. Режим “Anti-hijack”

12

24.

Режим “Valet”

12

25.

Вызов водителя

13

26. Функции выполняемые кнопкой “Override”

13

27.

Аварийная постановка/снятие с охраны

14

28. Подготовка дистанционного запуска для а/м с

механической коробкой передач

15

29. Программирование дополнительных брелоков

15

30. Режимы работы светодиодного индикатора

16

31. Замена батарейки брелока-пейджера

16

32. Режим программирования

17

33. Программирование функций брелока-пейджера

18

34. Таблица программирования

19

35. Описание программируемых функций

20

ИНСТРУКЦИЯ ПО УСТАНОВКЕ

1.

Основные принципы установки

2

3

2.

Выбор места расположения основных блоков

23

3.

Соединение проводов

25

4

.

Выбор механической или автоматической коробки передач

27

5.

Подключение центрального замка

28

6.

Настройка датчика удара

28

Схемы подключения

29

Технические данные

37

1

"Загрузка инструкции" означает, что нужно подождать пока файл загрузится и можно будет его читать онлайн. Некоторые инструкции очень большие и время их появления зависит от вашей скорости интернета.

Характеристики

Другие модели - Автосигнализации Tomahawk

Все автосигнализации Tomahawk