Thermex Champion ER 300 V - Инструкция по эксплуатации

Thermex Champion ER 300 V

Водонагреватель Thermex Champion ER 300 V - инструкция пользователя по применению, эксплуатации и установке на русском языке. Мы надеемся, она поможет вам решить возникшие у вас вопросы при эксплуатации техники.

Если остались дополнительные вопросы — свяжитесь с нами через контактную форму.

1 Страница 1
2 Страница 2
3 Страница 3
4 Страница 4
5 Страница 5
6 Страница 6
7 Страница 7
8 Страница 8
9 Страница 9
10 Страница 10
11 Страница 11
12 Страница 12
13 Страница 13
14 Страница 14
15 Страница 15
16 Страница 16
17 Страница 17
18 Страница 18
19 Страница 19
20 Страница 20
21 Страница 21
22 Страница 22
23 Страница 23
24 Страница 24
25 Страница 25
26 Страница 26
27 Страница 27
28 Страница 28
29 Страница 29
30 Страница 30
31 Страница 31
32 Страница 32
33 Страница 33
34 Страница 34
35 Страница 35
36 Страница 36
37 Страница 37
38 Страница 38
39 Страница 39
40 Страница 40
41 Страница 41
42 Страница 42
43 Страница 43
44 Страница 44
45 Страница 45
46 Страница 46
47 Страница 47
48 Страница 48
Страница: / 48

Содержание:

  • Страница 10 – Назначение; начен для работы в непрерывно проточном режиме.; Основные технические характеристики; таблице 1; Комплект поставки; Таблица 1; Transportation and storage of electric water heaters; Heating Equipment LTD
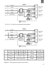
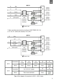
  • Страница 12 – Канал соединения с атмосферой предохрани-тельного клапана; Установка и подключение; Все сантехнические и электромонтажные работы должны прово-; Размещение и установка
  • Страница 14 – ксплуатация; II; Описание функций управляющей панели; кВт
  • Страница 16 – Гарантия изготовителя; комплекта поставки ЭВН; Возможные неисправности и способы их устранения
  • Страница 18 – Рис
  • Страница 20 – mail; Комплект постачання; Призначення
  • Страница 44 – Warranty certificates /
  • Страница 46 – Заполняется сервисным центром
  • Страница 47 – Отопление; Водоснабжение
Загрузка инструкции

ER

Электрический накопительный водонагреватель

Electric water heater / Электрлік аккумуляциялық су жылытқыш /

Електричний накопичувальний водонагрівач

Модель

Models / Үлгі / Моделі

ER 200 V

ER 300 V

Серия

Series / Сериялы / Серія

РУКОВОДСТВО ПО ЭКСПЛУАТАЦИИ

User manual / Пайдаланушы нұсқаулығы / Керівництво з експлуатації

RU

UA

KZ

BY

MD

"Загрузка инструкции" означает, что нужно подождать пока файл загрузится и можно будет его читать онлайн. Некоторые инструкции очень большие и время их появления зависит от вашей скорости интернета.

Краткое содержание

Страница 10 - Назначение; начен для работы в непрерывно проточном режиме.; Основные технические характеристики; таблице 1; Комплект поставки; Таблица 1; Transportation and storage of electric water heaters; Heating Equipment LTD

Уважаемый покупатель! Благодарим Вас за покупку электрического водонагревателя THERMEX . Выражаем уверен- ность в том, что широкий ассортимент наших электроводонагревателей удовлетворит любые Ваши потребности. Применение современных технологий и материалов высочайшего качества определили популярност...

Страница 12 - Канал соединения с атмосферой предохрани-тельного клапана; Установка и подключение; Все сантехнические и электромонтажные работы должны прово-; Размещение и установка

В процессе нагрева возможно появление капель воды из сливного отверстия предохранитель-ного клапана, что является нормальным явлением и свидетельствует о том, что давление в баке превышает 0, 6 МПа. Канал соединения с атмосферой предохрани-тельного клапана (сливное отверстие) должен оставаться откры...

Страница 14 - ксплуатация; II; Описание функций управляющей панели; кВт

RU Рис. 2. Панель управления. Клавиши управления – включения/отключения ТЭНов2 кВт + 2 кВт + 2 кВт Регулятор для установкитемпературы нагрева Техническое обслуживание (ТО) Периодическое проведение ТО и своевременная замена магниевого анода являются обязательными условиями для долговременной работы Э...

Характеристики

Другие модели - Водонагреватели Thermex

Все водонагреватели Thermex