ТермоСтайл ЭПН-01НМ-7,5 dy 20 с насосом, термоманометром, с нижним подводом - Инструкция по эксплуатации

ТермоСтайл ЭПН-01НМ-7,5 dy 20 с насосом, термоманометром, с нижним подводом

Котел ТермоСтайл ЭПН-01НМ-7,5 dy 20 с насосом, термоманометром, с нижним подводом - инструкция пользователя по применению, эксплуатации и установке на русском языке. Мы надеемся, она поможет вам решить возникшие у вас вопросы при эксплуатации техники.

Если остались дополнительные вопросы — свяжитесь с нами через контактную форму.

1 Страница 1
2 Страница 2
3 Страница 3
4 Страница 4
5 Страница 5
6 Страница 6
7 Страница 7
8 Страница 8
9 Страница 9
10 Страница 10
11 Страница 11
12 Страница 12
13 Страница 13
14 Страница 14
15 Страница 15
16 Страница 16
17 Страница 17
18 Страница 18
19 Страница 19
20 Страница 20
21 Страница 21
22 Страница 22
23 Страница 23
24 Страница 24
Страница: / 24
Загрузка инструкции

-1-




СОДЕРЖАНИЕ


Содержание....................................................................................................стр.1

Общие указания.............................................................................................стр

.2

Функциональные отличия приборов...........................................................стр.3

Основные технические данные приборов.................................................. стр.3

Комплектность.............................................................................................. стр.4

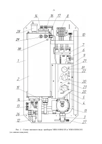
Внешний вид прибора ЭПН

-

02М

-

ХХ........................................................ стр.6

Внешний вид прибора ЭПН

-

01НМ

-

ХХ и ЭПН

-

02НМ

-

ХХ...................... стр.7

Описание основных элементов прибора ЭПН

-

01НМ

-

ХХ........................стр.8

Описание основных элементов прибора ЭПН

-

02М

-

ХХ……………… стр.9

Описание основных элементов прибора ЭПН

-

02НМ

-

ХХ........................стр.9

Система защиты прибора ...........................................................................стр.10

Управление прибором ...................................................................................стр.10

Установка и коррекция времени встроенных часов...................................стр.12

Подключение к прибору комнатного термостата...................................... стр.12, 16

Требования безопасности...............................................................................стр.12

Подготовка к работе. Монтаж и подключение прибора..............................стр.14

Порядок работы...............................................................................................стр.15

Техническое обслуживание............................................................................стр.1

7

Правила хранения и транспортирования......................................................стр.18

Возможные неисправности и методы их устранения..................................стр.18

Свидетельство о приемке и продаже.............................................................стр.19

Гарантии изготовителя....................................................................................стр.20

Адреса сервисных центров.............................................................................стр.20

Сведения о сертификации...............................................................................стр.21

Отметки о проведенных работах....................................................................стр.21







"Загрузка инструкции" означает, что нужно подождать пока файл загрузится и можно будет его читать онлайн. Некоторые инструкции очень большие и время их появления зависит от вашей скорости интернета.

Характеристики

Другие модели - Котлы ТермоСтайл

Все котлы ТермоСтайл